Заказать
Наши менеджеры обязательно свяжутся с вами и уточнят условия заказа
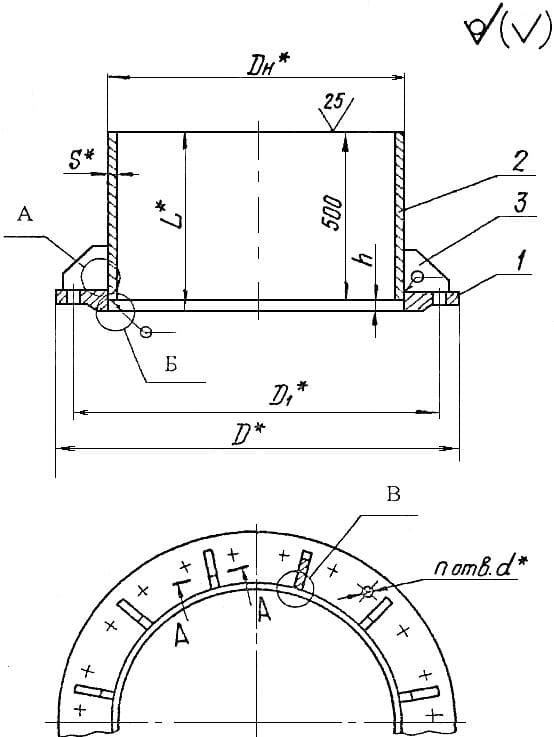
Настоящий стандарт распространяется на плоские приварные фланцы с патрубками из углеродистой и низколегированной сталей на Ру 2,5 МПа (25 кгс/см2), при рабочей температуре tраб ? 350 °С для трубопроводов тепловых электростанций.
Стандарт соответствует требованиям «Правил устройства и безопасной эксплуатации трубопроводов пара и горячей воды» РД 03-94, утвержденным Госгортехнадзором РФ.
Чертеж фланца ОСТ 34 10.755-97

Завод «Северозапад» осуществляет доставку продукции по всей России. Мы предоставляем:
- Широкий ассортимент продукции;
- Производство только из сырья высокого качества;
- Доставка в заранее установленные сроки;
- Сохранность целостности изделий при перевозке;
- Профессионально налаженная логистика;
- Доставка как на склад, так и на объект покупателя;
- Доставляем изделия любых габаритов и формы.
Для постоянных клиентов у нас разработана система скидок, которая позволяет вам еще более выгодно сотрудничать с нами. Воспользуйтесь онлайн калькулятором в разделе меню “Доставка”, чтобы узнать стоимость доставки до места назначения.
Вам также может понравиться