Емкости предназначаются для хранения и слива темных и светлых нефтепродуктов, масел, нефти, конденсата, в том числе в смеси с водой из различных технологических трубопроводов и аппаратов на время ремонта установок на предприятиях нефтехимической, нефтеперерабатывающей и газовой промышленности.
Стандарт не относится к емкостям для слива и ранения сжиженных газов и вредных средств.
Темперирующие емкости. Условия эксплуатации
| Температура откачиваемой среды, К | от 273 (0) до 353 (80) | 
| Вязкость среды, сП | не более 10 | 
| Объемная плотность среды, кг/м3 | не более 1000 | 
| Параметры теплоносителя в подогревателях | не более 1,1 | 
| Давление, МПа | не более 483 (210) (при обогреве водяным парам) | 
| Температура, К | не более 423 (150) (при обогреве водой) | 
Типы, конструкция и основные размеры
В зависимости от состава сливаемой среды и климатических условий района установки емкости могут изготавливаться двух типов:
- ЕП – емкости подземные без подогревателя (черт. 1);
- ЕПП – емкости подземные с подогревателем (черт. 2)
Чертеж 1
  
Чертеж 2
  
В зависимости от длины погружной части комплектующего емкости электронасоса агрегата АХП 45/31-А-1-П, емкости каждого типа предусматриваются в двух исполнениях:
- В исполнении 1 – с электронасосным агрегатом, которые выполняются по IVварианту погружения;
- В исполнении 2 – с электронасосным агрегатом, который выполняется по Vварианту погружения.
Примечание
Только для емкостей 1 исполнения допустимо применение электронасосного агрегата АХП 20/31-А-2Г Vварианта погружения.
Для различных климатических зон установки в зависимости от температуры стенки в условиях эксплуатации емкости должны изготавливаться в трех материальных оформлениях 1, 2, 3 в соответствии с таблицей 3.
Таблица 3
| Минимальная температура стенки емкости в условиях эксплуатации, К (°С) | до 253 (минус 20) | ниже 253 (минус 20) до 223 (минус 40) | ниже 233 (минус 40) до 213 (минус 60) | ||
| Индекс материального оформелния | 1 | 2 | 3 | ||
| Материалы | Корпуса, днищ, колец, жесткости наружных | ВСт3пс4 ГОСТ 380-71 | Сталь 16ГС ГОСТ 5520-79 | Сталь 09Г2С ГОСТ 5520-79 | |
| Фланцев, заглушек, люков-лазов | ВСт3пс4 ГОСТ 380-71 | Сталь 16ГС ГОСТ 5520-79 | Сталь 09Г2С ГОСТ 5520-79 | ||
| Материалы | Патрубки | люков-лазов | ВСт3пс4 ГОСТ 380-71 | Сталь 16ГС ГОСТ 5520-79 | Сталь 09Г2С ГОСТ 5520-79 | 
| штуцеров | Сталь 20 ГОСТ 9731-74 | Сталь 10Г2 ГОСТ 4543-71 | |||
| Материалы | Полос, косынок | ВСт3пс4 ГОСТ 380-71 | Сталь 09Г2С ГОСТ 5520-79 | ||
| Труб змеевиков | Сталь ГОСТ 8733-74 | ||||
| Подъемных устройств | ВСт3пс4 ГОСТ 380-71 | Сталь 10Г2 ГОСТ 4543-71 | |||
Примечание. Для районов установки с температурой воздуха самой холодной пятидневки ниже 233 К (- 40 С) до 208 (- 65 С) емкости всех типов должны быть оборудованы обогреваемым бетонным колодцем по чертежу 3.
Чертеж 3
  
Конструкция, технические характеристики, основные размеры и материалы емкостей должны соответствовать чертежам 1, 2, 3, 4, 5 и таблицы 1, 2, 3, 4.
Чертеж 4
  
Коды ОКП приведены в таблице обязательного приложения 3.
Примеры условного обозначения емкостей подземных горизонтальных дренажных с электронасосным агрегатом:
- емкость без подогревателя (ЕП), номинальной емкостью 16 м3, внутренним диаметром 2000 мм, исполнения 1, с материальным оформлением 2, оборудованная бетонным колодцем (К): ЕП16-2000-1-2-К ОСТ 26-02-2060-79
- емкость с подогревателем (ЕПП), номинальной емкостью 40 м3, с внутренним диаметром 2400 мм, исполнения 2, с материальным оформлением 3, оборудованная бетонным колодцем (К): ЕПП40-2400-2-3-К ОСТ 26-02-2060-79
- емкость без подогревателя (ЕП), номинальной емкостью 25 м3, с внутренним диаметром 2000 мм, исполнения 1, с материальным оформлением 1, без бетонного колодца: ЕП25-2000-1-1 ОСТ 26-02-2060-79
Примеры условного обозначения емкостей подземных горизонтальных дренажных, поставляемых без электронасосного агрегата:
- емкость без подогревателя (ЕП), номинальной емкостью 16 м3, внутренним диаметром 2000 мм с высотой горловин h= 1424 мм, соответствующих исполнению 1, с материальным оформлением 2, оборудованная бетонным колодцем: ЕП16-2000-1424-2-К ОСТ 26-02-2060-79
- емкость с подогревателем (ЕПП), номинальной емкостью 40 м3, с внутренним диаметром 2400 мм, с высотой горловин h= 1625 мм, соответствующих исполнению 2, с материальным оформлением 3, оборудованная бетонным колодцем: ЕПП40-2400-1625-3-К ОСТ 26-02-2060-79
- емкость без подогревателя (ЕП), номинальной емкостью 25 м3, с внутренним диаметром 2000 мм, с высотой горловин h= 1424 мм, соответствующих исполнению 1, с материальным оформлением 1, без бетонного колодца: ЕП25-2000-1424-1 ОСТ 26-02-2060-79.
Технические требования
- Емкости дренажные подземные горизонтальные должны отвечать требованиям, указанным в ОСТ 26-291-71 «Сосуды и аппараты стальные сварные. Технические требования» и требованиям, которые излагаются в соответствующих разделах этого стандарта. Емкости должны изготавливаться в соответствии рабочими чертежами, которые утверждены в установленном порядке.
- На емкости дренажные подземные горизонтальные не распространяется действие «Правил устройства и безопасной эксплуатации сосудов, работающих под давлением», которые утверждены Госортехнадзором СССР.
- Для откачки среды из емкости могут использоваться электронасосные агрегаты АХП 45/31-А-1-П или АХП 20/3I-А-2Г, которые имеют такие технические характеристики:
| 
 | АХП 45/31-А-1-П | АХП 20/3I-А-2Г | 
| Производительность, м3/ч | 45 | 20 | 
| Напор, отнесенный к напорному патрубку, м.ст. жидкости | 31 | 31 | 
| Тип и мощность электродвигателя | ВА061-413 | ВА042-27,5 | 
| Исполнение электродвигателя | ВЗГ | ВЗГ | 
Примечание:
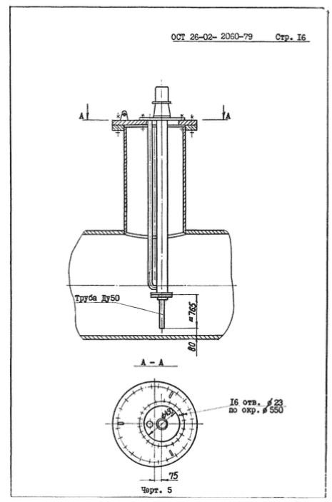
- При использовании электронасосного агрегата АХП 20/3I-А-2Г для емкостей исполнения 1, электронасосный агрегат должен оборудоваться всасывающим патрубком в соответствии с чертежом 5.
- Допустима замена указанных электронасосных агрегатов на электронасосные агрегаты иного типа в исполнении для взрывоопасных производств по согласованию с авторами данного стандарта.
- При использовании электронасосных агрегатов иного типа размер Н.ю а также величины массы электронасосного агрегата в общей массе емкости должны быть изменены. Эти изменения обязательно отражаются в рабочей документации.
Чертеж 5
  
Показатели надежности подземных горизонтальных дренажных емкостей:
- Ресурс для капитального ремонта – не менее 70000 часов.
- Срок службы – не менее 10 лет.
Данный срок службы аппаратов обеспечивается в случае их применения для работы в условиях пожароопасных и взрывоопасных сред, которые вызывают скорость проникновения коррозии в глубину металла не более 0,2 мм/год.
Для осуществления контроля за скоростью коррозии элементов емкостей следует не реже одного раза в два года выполнять замер толщины стенок емкости неразрушающими методами контроля.
Для контроля температуры среды емкость должна снабжаться термопарой, которая монтируется в муфт И на крышке люка А. Рекомендуемый тип термопары: ТХК-0806. 5Ц.625-55.
Для контроля уровня среду емкость должна снабжаться уровнемером.
Рекомендуемый тип уровнемера УБ-ПВ, который монтируется на штуцере 3.
Примечание:
Указанные КИП могут заменяться приборами иных типов после согласования с авторами данного документа.
Материальное исполнение стандартных сборочных единиц и деталей в зависимости от минимальной температуры стенки емкости в условиях эксплуатации, их размеры и конструкции, технические требования должны отвечать такой нормативно-технической документации:
- Днища конические неотбортованные с углом при вершине 140 градусов – ГОСТ 12621-78.
- Штуцера для сосудов и аппаратов сварных стальных – ОСТ 26-1404-76.
- Фланцевые соединения люков, трубопроводов и арматуры – ОСТ 26-830-73.
- Кольца жесткости внутренние – ОСТ 26-02-911-79.
- Лестницы – ОСТ 26-02-757-73.
- Ручки для заглушки ДУ 800 – ОСТ 26-2002-77.
- Рукоятки – ГОСТ 3055-69.
- Ушки – ГОСТ 13716-73.
- Сетка – ГОСТ 3826-66.
- Болты – ОСТ 26-2037-77.
- Гайки – ОСТ 26-2038-77.
- Прокладки – ГОСТ 15180-70.
- Бобышки и пробки – ОСТ 26-02-2039-78.
- Пластинки фирменные – ОСТ 26-02-2038-78.
Конструкция прочих узлов и деталей емкостей – в соответствии с представленным стандартом.
Присоединительные размеры фланца штуцера под уровнемер выполняются на РУ 40 кгс/см2, Ду 50 мм и уплотнительной поверхностью «впадина» в соответствии с ГОСТ 12831-67. Прочие размеры в соответствии с чертежами 1-2 разрез У-У.
Присоединительные размеры заглушки к люку А выполняются на Ру 2,5 кгс/см2, Ду 800 в соответствии с ГОСТ 12836-67. Прочие размеры по чертежам 1 и 2, разрез Ф-Ф.
Для слива воды из емкостей после гидравлических испытаний допустима установка бобышки Ду 40 с последующим заглушением пробкой и испытанием сварочного шва на плотность керосином по ГОСТ 3285-77.
Отклонение фактической величины массы емкостей от величин, которые указываются в таблице 4, допускается в пределах от 7 доминус 3 процентов.
Таблица 4
| Для емкостей типа ЕП и ЕПП | Объем номинальный V, м3 | 12,5 | 16,0 | 20,0 | 25,0 | 40,0 | ||
| Исполнение емкости | 1 | 2 | ||||||
| Масса | электронасосный агрегат АХП 45/31-А-1-П | 787 | 830 | |||||
| электронасосный агрегат АХП 20/31-А-2Г | 407 | – | ||||||
| металлоконструкции бетонного колодца | 370 | |||||||
| Для емкостей типа ЕП | емкости | 2900 | 3300 | 3600 | 4500 | 5700 | 5850 | |
| емкости с электронасосным агрегатом АХП 45/31-А-1-П | 3687 | 4087 | 4387 | 5287 | 6487 | 6680 | ||
| емкости с электронасосным агрегатом АХП 20/31-А-2Г* | 3487 | 3887 | 4187 | 5087 | 6287 | – | ||
| емкости с электронасосным агрегатом АХП 45/31-А-1-П и металлоконструкциями | 4057 | 4457 | 4757 | 5657 | 6857 | 7050 | ||
| емкости с электронасосным агрегатом АХП 20/31-А-2Г и металлоконструкциями* | 3857 | 4257 | 4257 | 5457 | 6657 | – | ||
| Для емкостей типа ЕПП | емкости | 2940 | 3350 | 3640 | 4590 | 5800 | 5950 | |
| емкости с электронасосным агрегатом АХП 45/31-А-1-П | 3727 | 4137 | 4427 | 5377 | 6587 | 6780 | ||
| емкости с электронасосным агрегатом АХП 20/31-А-2Г* | 3527 | 3937 | 4227 | 5177 | 6387 | – | ||
| емкости с электронасосным агрегатом АХП 45/31-А-1-П и металлоконструкциями | 4097 | 4507 | 4797 | 5747 | 6957 | 7150 | ||
| емкости с электронасосным агрегатом АХП 20/31-А-2Г и металлоконструкциями* | 3897 | 4307 | 4597 | 5547 | 6757 | – | ||
*масса дана с учетом массы заглушки Ду 800 на люке-лазе Б.
Материал нестандартных элементов емкостей должен отвечать таблице 3.
Все элементы емкостей, которые предусматриваются таблицей 3 и стали ВСт3пс4 по ГОСТ 380-71, могут выполняться из иных категорий спокойной и полуспокойной стали в соответствии с ограничениями, которые устанавливает ОСТ 26-291-71.
Для емкостей с материальным оформлением 2 кольца жесткости допустимо изготавливать из стали ВСт3пс4 или же из стали ВСт3пс4 по ГОСТ 380-71.
При выборе материального оформления емкостей в зависимости от температуры стенки в условиях эксплуатации последняя определяется по номограмме, котора указана в обязательном приложении 1.
Обязательное приложение 1
 
При этом определяется только температура стенки цилиндрической части емкости без учета температуры металла люков-лазов А и Б.
Номограмма создана на основании расчета, который приводится в справочном приложении 4.
Требования безопасности
- Конструкция емкостей по данному стандарту должна отвечать общим требованиям безопасности, которые содержатся в ГОСТ 12.2.003-74.
- Должны предусматриваться необходимые устройства для строповки при производстве погрузочно-разгрузочных работ, а также подъема и установки емкостей в проектное положение при монтаже, которые обеспечат надежную и быструю строповку и использование грузоподъемных механизмов.
- Требования безопасности при эксплуатации емкостей должны отвечать обязательному приложению 2 к данному стандарту.
Комплектность
Комплектность поставки определяется данным стандартом и рабочей документацией предприятия-изготовителя.
Емкости могут поставляться с электронасосными агрегатами либо без них.
В комплект поставки емкостей без электронасосных агрегатов должны включаться:
- емкость дренажная подземная горизонтальная (чертежи 1 и 2);
- заглушка к люку БДу 800, Ру кгс/см2 и крепеж для нее. Конструкция и размеры заглушки в соответствии с пунктом 2,8;
- ответные фланцы Ду 100 к штуцерам «Е», «Ж» и крепеж к ним – 2 комплекта;
- прокладки Ду 100 – 4 шт. (включая запасные);
- пробка к бобышке «И» для термопары М27×2 – 1 шт.;
- прокладка к пробке – 2 шт. (включая запасные);
- заглушка Ду 50 к штуцеру «З» и крепеж к ней – 1 комплект;
- прокладки Ду50 к штуцеру «З» – 2 шт. (включая запасные);
- прокладки Ду 800 – 4 шт. (включая запасные);
- два узла крепления емкости к фундаменту (тяги с гайками ,полосы, закладные детали).
В комплект поставки емкостей с электронасосным агрегатом должны входить изделия по п. 4.2. (за исключением заглушки к люку Б), и кроме того:
- электронасосный агрегат АХП 45/31-А-1-П с электродвигателем ВАО 61-4 или электронасосный агрегат АХП 20/31-А-2Г с электродвигателем ВАО 42-2 и комплектующими деталями в соответствии с ТУ 26-06-919-75 на поставку насоса.
В комплект поставки емкостей, которые устанавливаются в районах, где температура воздуха самой холодной пятидневки ниже 233 К (- 40 градусов С) до 208 К (- 65 градусов С), должны входить изделия по п.4.2. и кроме того:
- металлоконструкции для обустройства бетонного колодца (чертеж 3);
- змеевик для обогрева колодца (черт.3 вид А).
В комплект технической документации, которая поставляется вместе с емкостью, должны входить:
- паспорт емкости;
- паспорт и инструкция на электронасосный агрегат;
- требования к монтажу и эксплуатации емкостей;
- схема защиты, блокировки, сигнализации электронасосного агрегата (приложение 6).
Правила приемки и методы контроля
Приемку и испытание производят в соответствии с разделом 4 ОСТ 26-219-71.
Маркировка, упаковка, транспортировка и хранение
- Маркировка, консервация, окраска упаковка и транспортировка, а также хранение – в соответствии с ОСТ 26-291-71 и данным стандартом. Электронасосный агрегат отправляется в отдельной упаковке.
- Емкости должны снабжаться фирменными пластинами в соответствии с ОСТ 26-02-2038-78, которые монтируются на верхней части люка-лаза БДу 800, которая выступает над поверхностью земли.
- Если емкости получают Государственный знак качества, то его изображение в соответствии с ГОСТ 1.9-6 приводится в товаросопроводительной документации и в паспорте емкости.
- Емкости исполнения 2 с объемом 40 м3 для вписывания в габарит погрузки отправляются на место установки с не приваренными люками-лазами Ду 800 и верхней частью штуцера 3, которая отрезается на расстоянии 100 мм от верхнего уровня косынок. Эти узлы привариваются при монтаже.
- Емкости по даннмоу стандарту являются габаритными грузами при их перевозке по железным дорогам СССР и другими видами транспорта.
- Погрузка и крепление емкостей при перевозке по железным дорогам производится в соответствии с «Техническими условиями погрузки и крепления грузов и использования грузоподъемности вагонов», МПС, Москва, 1969 г.
- Строповка емкостей производится в соответствии со схемой приложения 5.
- Способы транспортировки, разгрузки, а также условия хранения не должны допускать механического повреждения емкостей.
Указания по эксплуатации
Условия по эксплуатации – в соответствии с обязательным приложением 2 данного стандарта.
Гарантии
- Изготовитель гарантирует соответствие емкостей подземных горизонтальных дренажных данного стандарта при соблюдении условий разделов 4-7, которые устанавливаются стандартом.
- Гарантийный срок – 2 года со дня ввода емкости в эксплуатацию, но не более 3 лет со дня отгрузки ее с предприятия-изготовителя.
Примечание:
Гарантийные сроки по комплектующим емкости электронасосным агрегатам и КИП устанавливаются в соответствии с ТУ на поставку этих изделий.
Требования к монтажу и эксплуатации
Общие указания
- Данные требования составляются применительно к емкостям подземным горизонтальным дренажным в соответствии с ОСТ 26-02-2060-79.
- Емкости предназначаются для слива и хранения остатков темных и светлых нефтепродуктов, масел, нефти, конденсата, в том числе и в смеси с водой, из технологических трубопроводов и сетей, аппаратов на время ремонта установок на предприятиях нефтехимической и нефтеперерабатывающей промышленности.
- Материальное оформление емкостей и их конструкция должны отвечать климатическим факторам района установки емкостей.
Требования к монтажу
- При установке подземных емкостей должны выполняться требования, изложенные в СНиП III-31-74 «Строительные нормы и правила. Правила производства и приемки работ. Технологическое оборудование. Основные положения» и данные требования.
- Расположение аппаратов в соответствии с генпланом установки или линии должно обеспечивать необходимые разрывы между аппаратами по действующим нормам для их обслуживания при ремонте и эксплуатации, а также противопожарными нормами (ПТУСП01-63, ПТУСП02-62).
- Строповка емкостей производится согласно приложению 5. Угол наклона стропа должен составлять не менее шестидесяти градусов. Запрещается стропить за технологические люки и штуцера.
- Емкости устанавливаются на бетонном основании и крепятся к нему двумя полосами.
- Для сухих песчаных грунтов допустима установка емкостей на песчаное основание без крепления.
- После установки подземных емкостей и присоединения к ним трубопроводов затяжку болтов, которые крепят одну из полос, следует ослабить для обеспечения свободного перемещения емкостей по бетонному основанию при температурном расширении, а потом зафиксировать болты контргайками.
- Если емкости предназначаются для установки на площадках с пучинистыми грунтами или в условиях вечной мерзлоты, проектная организация должна принять меры, которые исключат всплывание или погружение емкостей.
- Перед засыпкой емкости должна проверяться вертикальность трубы для уровнемера. Отклонение оси трубы от вертикали должно быть не более 15 мм.
- Электронасосный агрегат, термопара, уровнемер устанавливаются на подземные емкости при монтаже в соответствии с инструкцией предприятия-изготовителя.
- После установки электронасосного агрегата заказчик должен обеспечить монтаж схемы защиты, блокировку и сигнализацию электронасосного агрегата. Рекомендуемая ВНИИГидромашем схема приводится в справочном приложении 6.
- Трубопроводы подвода и отвода смазывающей и затворной жидкости электронасосного агрегата разводятся по месту.
- Заказчик должен обеспечить подачу чистой жидкости к подшипникам скольжения и чистой нейтральной взрывобезопасной жидкости к двойному торцевому или сальниковому уплотнению вала электронасосного агрегата.
- Примечание. Чистой жидкостью считается жидкость с объемной концентрацией твердых включений не более 0,1 %, размер которых не превышает 0,2 мм.
- После установки подземные емкости должны заземляться.
- Заземление емкостей должно выполняться в соответствии с «Правилами защиты от статического электричества в производствах химической, нефтехимической и нефтеперерабатывающей промышленности».
- Глубина заложения емкостей выбирается при проектировании объекта, при этом минимальное возвышение люков-лазов над поверхностью земли после засыпки емкостей грунтом должно быть не менее 500 мм.
- При заглублении емкости должен обеспечиваться удобный доступ к электронасосному агрегату, а также к контрольно-измерительным приборам и арматуре, а также к люкам-лазам Ду 800.
- В районах установки с температурой воздуха самой холодной пятидневки ниже 233 К (-40 градусов С) до 208 К (-65 градусов С) емкости должны оборудоваться обогреваемыми бетонными колодцами, согласно чертежу 3.
- При засыпке емкости грунтом должны предусматриваться съемные ограждения, которые предохраняют люки-лазы Ду 800, а также уровнемеры от заноса землей и снегом.
- Емкости, которые не оборудованы бетонным колодцем, должны иметь укрытие, которое предохраняет электродвигатель насосного агрегата от непосредственного воздействия солнечных лучей и атмосферных осадков.
Требования к изоляции
Перед установкой в грунт емкость покрывается гидроизоляцией для защиты наружных поверхностей от подземной почвенной коррозии.
Состав гидроизоляции должен выбираться проектировщиками объекта с учетом физико-химических свойств грунта и почвенных вод.
При низких зимних температурах окружающего воздуха, которые не отвечают условиям эксплуатации уровнемера и люка-лаза, следует применять покрытие люка-лаза А и уровнемера на штуцере «З» теплоизоляцией по усмотрению проектировщика.
Требования к испытаниям
- Емкости поземные на месте монтажа перед пуском в эксплуатацию должны проходить гидравлические испытания.
- Гидравлические испытания на монтажной площадке должны выполняться в соответствии с ОСТ 26-291-71 «Сосуды и аппараты стальные сварные. Технические требования».
- Емкости подземные должны испытываться при гидравлическом давлении 2 кгс/см2 (0,2 МПа). Допустимо на монтаже гидравлическое испытание вновь установленных емкостей не выполнять, если с момента такого испытания на заводе прошло не менее 12 месяцев, и емкости не получили повреждений при транспортировке к месту монтажа. Испытание сварочных швов приварки труб к патрубкам В, Д, К, л на плотность керосином производится по ГОСТ 3285-79.
- Емкости подвергаются испытаниям до нанесения теплоизоляции и гидроизоляции, после установки электронасосного агрегата и КИП и подсоединения технологических линий.
- Температура воды, которая применяется для гидроиспытаний, должна быть не менее 278 К (5 градусов С), не выше 313 К (40 градусов С).
- Гидравлические испытания емкостей должны выполняться преимущественно в теплое время года, при положительной температуре окружающего воздуха.
- Разница температур металла и окружающего воздуха не должна вызывать выпадания влаги на наружной поверхности емкости.
- Если гидравлические испытания будут выполняться при температуре окружающего воздуха ниже 273 К, принимаются меры против замерзания воды, особенно в спускных линиях.
- После испытания емкостей с использованием незамерзающих жидкостей (раствор хлористого калия и проч.) емкости тщательно опорожняются и промываются.
- 4.7. При заполнении емкостей водой для гидравлических испытаний должно обеспечиваться полное удаление воздуха из аппарата и его элементов через штуцеры и воздушники.
- 4.8. Повышение давления при гидравлическом испытании должно происходить постепенно, без гидравлических ударов.
- 4.9. Испытания емкостей должны проводиться по специальной инструкции, которая составляется с учетом обеспечения безопасного проведения данной операции.
- 4.10. Емкость считается выдержавшей испытания, если не обнаружено признаков разрыва или течи, капели, потения сварных соединений и в основном металле – видимых остаточных деформаций, а также падения давления по манометрам.
- 4.11. При неудовлетворительном результате испытания обнаруженные дефекты устраняются, и испытания проводится повторно.
- Устранение дефектов во время нахождения аппарата под давлением не разрешается.
- 4.12. По окончании гидравлических испытаний емкость должна быть полностью освобождена от жидкости с помощью штатного электронасосного агрегата. Остатки жидкости удаляются с помощью перенос-насоса со шлангом.
- 4.13. Результаты проведения испытаний оформляются актом и заносятся в паспорт аппарата.
Требования к пуску
Перед пуском емкостей в эксплуатацию следует произвести удаление воздуха из полостей емкостей инертным газом.
Вытеснение воздушной смеси считается завершенным. Если содержание кислорода в газе, который выходит из емкости. Составляет не более 2 % по показаниям газоанализатора.
Ввод емкостей в эксплуатацию не допускается без приемки их комиссией с участием инженера по техничке безопасности,газовой инспекции, представителя санитарного и пожарного надзора.
Требования безопасности
- Эксплуатация подземных емкостей должна производиться при строгом соблюдении требований, которые содержатся в «Правилах безопасности во взрывоопасных и взрывопожароопасных химических и нефтехимических производствах (ПБВХП-47)», «Правил безопасности в нефтегазодобывающей промышленности», «Правил безопасности при эксплуатации нефтегазоперерабатывающих заводов (ПТБНП-73)».
- В Дренажных емкостях должна исключаться возможность образования взрывоопасной концентрации смеси паров перекачиваемой жидкости и воздуха.
- Величина рабочего давления в трубопроводах и аппаратах, из которых возможен сброс среды емкость, должна устанавливаться при эксплуатации установки с учетом максимально допустимого давления в емкости 0,07Мпа.
- Удаление среды из емкости передавливанием запрещено.
- Отвод паров и газов из емкости должен выполняться в систему, которая исключает загрязнение атмосферного воздуха. Сопротивление этой системы не должно превышать 0,05 Мпа.
- При эксплуатации емкостей должно обращаться особое внимание на тщательность уплотнения всех разъемных соединений емкостей (фланцев, заглушек, бобышек, креплений электронасосного агрегата и проч.) и их периодический контроль, цель этих мер – обеспечение полной герметизации емкостей и исключение загрязнения окружающей среды.
Требования к эксплуатации
Эксплуатация емкостей должна выполняться при параметрах, которые соответствуют указанным в прилагаемых к конкретной емкости документах.
Емкость должна снабжаться:
- электронасосным агрегатом для откачки среды из емкости в исполнении для взрывоопасных производств;
- схемой защиты, блокировок и сигнализации в соответствии с приложением 6;
- термопарой;
- уровнемером.
При эксплуатации емкостей недопустимо превышать:
- наибольший установленный уровень заполнения, который соответствует отметке 400 мм ниже верхней образующей емкости;
- давление, равное 0,7 кгс/см2;
- предельные значения температуры сливаемой и откачиваемой среды от 237 К (0 градусов С) до 353 К (80 градусов С).
Термопара и уровнемер должны включаться в систему блокировок емкости:
- при понижении температуры среды в емкости с подогревателем до 278 К (5 градусов С) должен подаваться в подогреватель теплоноситель во избежание замерзания конденсата в трубках змеевика и емкости;
- при повышении температуры среды выше 353 К (80 градусов С) электронасосный агрегат должен отключаться во избежание его запаривания, а также должна прекращаться подача теплоносителя в подогреватели;
- при высоте уровня среды 300 мм и менее от нижней образующей емкости электронасосный агрегат должен отключаться;
- при высоте уровня среды, который соответствует 500 мм от верхней образующей емкости, электронасосный агрегат должен включаться в работу;
- при высоте уровня среды, который соответствует 200 мм от верхней образующей емкости, должен прекращаться сброс среды во избежание переполнения емкости.
При отсутствии системы блокировок подача-отключение теплоносителя и включение-отключение электронасосного агрегата производится эксплуатационным персоналос по показаниям термопары и уровнемера в соответствии с п.7.4.
К монтажу и эксплуатации электронасосных агрегатов в емкостях допускаются квалифицированные механики и слесари, которые имеют должный опыт обслуживания и ремонта, изучившие инструкцию по эксплуатации электронасосных агрегатов, а также РТМ 26-02-25-75 «Инструкция по установке и эксплуатации сальниковых уплотнений», и сдавшие соответствующие экзамены.
Допустимо включение электронасосного агрегата при промежуточных значениях уровня среды в емкости, при этом минимальная допустимая величина уровня должна быть на 100 мм выше горизонтальной оси рабочего колеса электронасосного агрегата.
При демонтаже в случае ремонта или замены электронасосный агрегат из емкости извлекается из люка-лаза Б. Общая масса извлекаемого узла составляет:
- для электронасосного агрегата АХП 45/31-А-1-П IVисполнения 787 кг, Vисполнения – 830 кг;
- для электронасосного агрегата АХП 20/31-А-2Г со всасывающим патрубком и заглушкой – 587 кг.
Удаление конденсата из емкости после пропарки выполняется с помощью переносного насоса со шлангом через люк-лаз А.
При отключении подогревателей в зимнее время теплоноситель из подогревателей следует удалять путем продувки воздухом или газом.
Завод «Северозапад» осуществляет доставку продукции по всей России. Мы предоставляем:
- Широкий ассортимент продукции;
- Производство только из сырья высокого качества;
- Доставка в заранее установленные сроки;
- Сохранность целостности изделий при перевозке;
- Профессионально налаженная логистика;
- Доставка как на склад, так и на объект покупателя;
- Доставляем изделия любых габаритов и формы.
Для постоянных клиентов у нас разработана система скидок, которая позволяет вам еще более выгодно сотрудничать с нами. Воспользуйтесь онлайн калькулятором в разделе меню “Доставка”, чтобы узнать стоимость доставки до места назначения.