Блок пружинный ОСТ 34-10-743-93
Конструкция и размеры
Данный стандарт относится к пружинным блокам для пружинных подвесок трубопровода на ТЭС, АЭС и пылегазовоздухопроводов ТЭС.
Блоки предназначаются для работы при температуре окружающей среды плюс 120 градусов.
Конструкция и размеры блоков при рабочих деформациях должны отвечать тем данным, что указываются на чертеже 1 и в таблице 1.
Чертеж 1

Таблица 1
| Обозначение блока пружинного | Допускаемая нагрузка кН (кгс) | H0 | L | L3 | Lтр | A | D | d | d1 | S | Масса, кг | |
| на блок** | на пружину | в свободном состоянии пружины | ||||||||||
| С прогибом пружины λ= 140 | ||||||||||||
| 01 | 4,5 (450) | 1,26 (128) | 270 | 565 | 530 | 500 | 76 | 150 | 12 | 12 | 10 | 9,9 |
| 02 | 2,73 (276) | 284 | 11,1 | |||||||||
| 03 | 15 (1500) | 5,24 (534) | 308 | 670 | 630 | 600 | 92 | 180 | 16 | 16 | 12 | 20,8 |
| 04 | 8,00 (816) | 327 | 22,6 | |||||||||
| 05 | 24 (2400) | 11,67 (1190) | 346 | 750 | 700 | 650 | 200 | 20 | 16 | 32,1 | ||
| 06 | 16,34 (1666) | 369 | 34,5 | |||||||||
| 07 | 19,66 (2005) | 414 | 40,0 | |||||||||
| 08 | 34 (3400) | 26,34 (2656) | 399 | 760 | 700 | 106 | 250 | 24 | 20 | 20 | 58,3 | |
| 09 | 48 (4800) | 32,60 (3325) | 507 | 930 | 850 | 800 | 30 | 78,9 | ||||
| 10 | 40,00 (4080) | 528 | 84,3 | |||||||||
| 11 | 55 (5500) | 48,60 (4955) | 549 | 850 | 290 | 24 | 102,5 | |||||
| 12 | 68 (6800) | 58,45 (5960) | 508 | 950 | 130 | 36 | 25 | 118,5 | ||||
**Нагрузка при разгруженной пружине
Продолжение таблицы 1
| Обозначение блока пружинного | Допускаемая нагрузка кН (кгс) | H0 | L | L3 | Lтр | A | D | d | d1 | S | Масса, кг | |
| на блок** | на пружину | в свободном состоянии пружины | ||||||||||
| С прогибом пружины λ= 70 | ||||||||||||
| 13 | 4,5 (450) | 1,26 (128) | 143 | 435 | 420 | 400 | 76 | 150 | 12 | 12 | 10 | 8,0 |
| 14 | 2,73 (278) | 151 | 8,6 | |||||||||
| 15 | 15 (1500) | 5,24 (534) | 166 | 540 | 500 | 450 | 92 | 180 | 16 | 16 | 12 | 15,9 |
| 16 | 8,00 (816) | 177 | 17,0 | |||||||||
| 17 | 24 (2400) | 11,67 (1190) | 188 | 580 | 530 | 500 | 200 | 20 | 16 | 24,6 | ||
| 18 | 16,34 (1666) | 201 | 26,0 | |||||||||
| 19 | 19,66 (2005) | 226 | 29,2 | |||||||||
| 20 | 34 (3400) | 26,34 (2686) | 221 | 590 | 180 | 250 | 24 | 20 | 20 | 44,1 | ||
| 21 | 48 (4800) | 32,60 (3325) | 277 | 680 | 620 | 600 | 30 | 56,4 | ||||
| 22 | 40,00 (4080) | 289 | 73,5 | |||||||||
| 23 | 55 (5500) | 48,60 (4955) | 304 | 680 | 290 | 24 | 20 | 73,5 | ||||
| 24 | 68 (6800) | 58,45 (5960) | 284 | 720 | 620 | 130 | 290 | 25 | 86,7 | |||
Пружины следует изготавливать в соответствии с требованиями ОСТ 108.764.01-80.
Пример обозначения пружинного блока с допустимой нагрузкой на пружину 32,6 кН (3325 кгс) и прогибом 140 мм:
Блок пружинный 0934-10-743
Предельное отклонение размеров:
Определение рабочей нагрузки, выбор и расчет затяжки пружин для подвесок нужно выполнять в соответствии с руководящими техническими материалами: «Выбор упругих опор для трубопроводов тепловых и атомных электростанций» РТМ 24.038.12-72.
Прочие технические требования по ТУ 34-42-10380 и ОСТ 34-10-723.
Таблица 2
| Обозначение блока пружинного | Поз.1 Траверса с тягами кол.1 | Поз.2 Траверса с тягами кол.1 | Поз.3 Диск кол.1 | Поз.41) Стакан кол.1 | Поз.5 Пружина кол.1 | Поз.6 Гайка кол.8 |
| Обозначени по | ||||||
| ОСТ 34-10-743 | ОСТ 34-10-743 | ОСТ 34-10-743 | ОСТ 108.764.01 | ГОСТ 5915 | ||
| 01 | 1-03 | 1-04 | 3-01 | 2-02 | 13 | М12.5 |
| 02 | 2-04 | 14 | ||||
| 03 | 1-11 | 1-12 | 3-03 | 2-06 | 15 | М16.5 |
| 04 | 16 | |||||
| 05 | 1-19 | 1-20 | 3-05 | 2-08 | 17 | |
| 06 | 18 | |||||
| 07 | 2-10 | 19 | ||||
| 08 | 1-31 | 1-32 | 3-07 | 2-12 | 20 | М20.5 |
| 09 | 1-39 | 1-40 | 2-14 | 21 | ||
| 10 | 22 | |||||
| 11 | 1-47 | 1-48 | 3-09 | 2-16 | 23 | М24.5 |
| 12 | 1-55 | 1-56 | 3-11 | 2-18 | 24 | |
1)Допускается применение стакана, изготовленного по исполнениям 3 или 4.
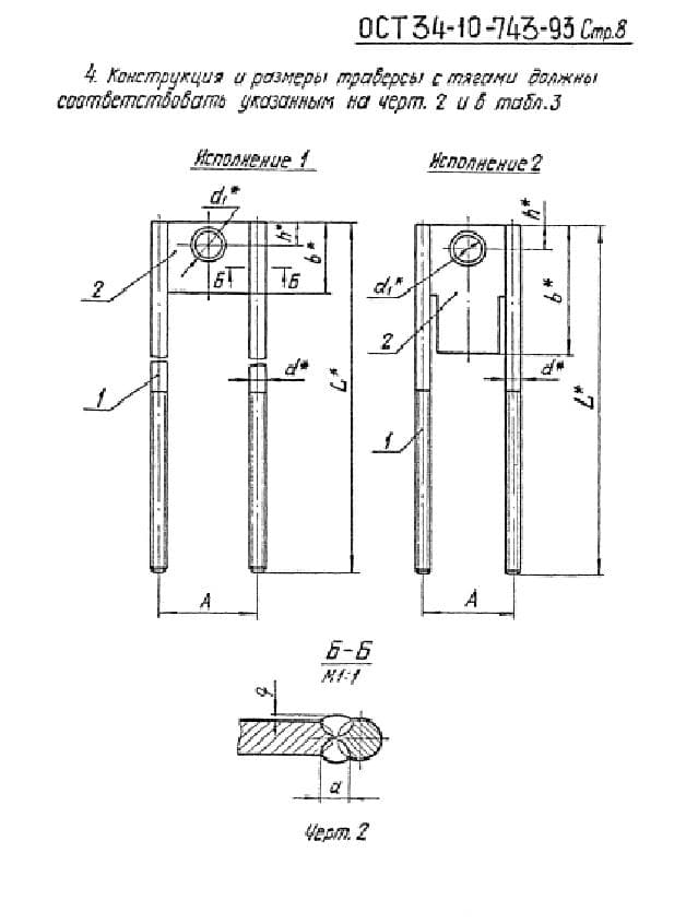
Конструкция и размеры траверсы с тягами должны отвечать тем, что указываются на чертеже 2 и в таблице 3.
Чертеж 2
Таблица 3
| Обозначение траверсы с тягами | Исп. | Для пружин с нагрузкой кН (кгс) | d | d1 | L | b | h | A | a не более | g (Пред. откл. ±1) | Масса, кг | |
| номинал. | Пред. откл. | |||||||||||
| 1-01 | 1 |
1,26 (128) 2,73 (278) |
12 | 14 | 400 | 50 | 17 | 76 | ±1 | 10 | 2 | 0,9 |
| 1-02 | 2 | 140 | 1,3 | |||||||||
| 1-03 | 1 | 500 | 50 | 1,0 | ||||||||
| 1-04 | 2 | 140 | 1,4 | |||||||||
| 1-05 | 1 | 650 | 50 | 1,3 | ||||||||
| 1-06 | 2 | 140 | 1,7 | |||||||||
| 1-07 | 1 | 800 | 50 | 1,6 | ||||||||
| 1-08 | 2 | 140 | 2,0 | |||||||||
| 1-09 | 1 |
5,24 (534) 8,00 (816) |
16 | 18 | 450 | 56 | 20 | 92 | 12 | 1,8 | ||
| 1-10 | 2 | 140 | 2,4 | |||||||||
| 1-11 | 1 | 600 | 56 | 2,3 | ||||||||
| 1-12 | 2 | 140 | 2,9 | |||||||||
| 1-13 | 1 | 750 | 56 | 2,8 | ||||||||
| 1-14 | 2 | 140 | 3,3 | |||||||||
| 1-15 | 1 | 900 | 56 | 3,2 | ||||||||
| 1-16 | 2 | 140 | 3,8 | |||||||||
Продолжение таблицы 3
| Обозначение траверсы с тягами | Исп. | Для пружин с нагрузкой кН (кгс) | d | d1 | L | b | h | A | a | g (Пред. откл. ±1) | Масса, кг | |
| номинал. | Пред. откл. | |||||||||||
| 1-59 | 1 | 58,45 (5960) | 24 | 39 | 1400 | 90 | 45 | 130 | ±1,5 | 16 | 2 | 11,4 |
| 1-60 | 2 | 180 | 12,7 | |||||||||
Пример условного обозначения траверсы с тягами для пружин с нагрузкой 26,34 кН (2686 кгс), исполнение 1: Траверса с тягами 1-31 ОСТ 34-10-743
*Размеры для справок.
Сварка ручная дуговая по ГОСТ 5264.
Электрод 342 ГОСТ 9467, или полуавтоматическая в среде углекислого газа, проволока Сб-08ГС по ГОСТ 2246.
Конструкция и размеры траверсы должны отвечать тем, что указываются на чертеже 3 и в таблице 5.
Чертеж 3
Таблица 5
| Обозначение траверсы | Исп. | d (Пред. откл. H 14) | h | L | l | B | b | S | e | c | c1 | Масса, кг |
| 1-2-01 | 1 | 14 | 17 | 64 | 55 | — | 50 | 8 | 1±0,5 | 2 | 3 | 0,17 |
| 1-2-02 | 2 | 140 | 0,48 | |||||||||
| 1-2-03 | 1 | 18 | 20 | 76 | — | 56 | 12 | 4 | 5 | 0,32 | ||
| 1-2-04 | 2 | 140 | 0,75 | |||||||||
| 1-2-05 | 1 | 23 | 25 | — | 63 | 16 | 0,44 | |||||
| 1-2-06 | 2 | 160 | 1,10 | |||||||||
| 1-2-07 | 1 | 27 | 30 | 88 | 65 | — | 0,51 | |||||
| 1-2-08 | 2 | 160 | 1,30 | |||||||||
| 1-2-09 | 1 | 33 | 40 | — | 80 | 20 | 2±0,5 | 5 | 6 | 0,77 | ||
| 1-2-10 | 2 | 180 | 1,79 | |||||||||
| 1-2-11 | 1 | 84 | — | 0,72 | ||||||||
| 1-2-12 | 2 | 180 | 1,74 | |||||||||
| 1-2-13 | 1 | 39 | 45 | 106 | 80 | — | 90 | 1,09 | ||||
| 1-2-14 | 2 | 180 | 2,22 |
Пример условного обозначени траверсы d - 14 мм исп.1: Траверса 1-2-01 ОСТ 34-10-743. То же исп.2: Траверса 1-2-02 ОСТ 34-10-743.
* размеры для справок.
материал – Лист или Полоса
для исполнения 1.
Неуказанное предельное отклонение размеров h14.
Конструкция и размеры стакана должны отвечать тем, что указываются на чертеже 4 и с таблицах 6 и 7.
Чертеж 4
Таблица 6
| Обозначение стакана | Для пружин | Dн | S | D | d | L | L1 | A | K2 | Масса, кг | |
| с нагрузкой кН (кгс) | с прогибом | ||||||||||
| Исполнение 1 | |||||||||||
| 2-01 | 1,26 (128) | 70 | 133 | 4,0 | 150 | 14 | 85 | 75 | 76 |
6
8 |
2,6 |
| 2-02 | 140 | 140 | 130 | 3,3 | |||||||
| 2-03 | 2,73 (278) | 70 | 95 | 85 | 2,7 | ||||||
| 2-04 | 140 | 160 | 150 | 3,6 | |||||||
| 2-05 | 5, 25 (584) 8,00(816) | 70 | 150* | 4,0 | 180 | 18 | 112 | 100 | 92 | 4,6 | |
| 2-06 | 140 | 192 | 180 | 5,9 | |||||||
| 2-07 | 11,67 (1190) 16,34 (1666) | 70 | 180* | 5,0 | 200 | 146 | 130 | 8,2 | |||
| 2-08 | 140 | 236 | 220 | 10,5 | |||||||
| 2-09 | 19,66 (2005) | 70 | 176 | 160 | 9,0 | ||||||
| 2-10 | 140 | 296 | 280 | 12,1 | |||||||
| 2-11 | 26,34 (2686) | 70 | 219 | 7,0 | 250 | 23 | 175 | 155 | 106 | 13,7 | |
| 2-12 | 140 | 280 | 260 | 17,0 | |||||||
| 2-13 | 32,60 (3325) | 70 | 225* | 6,0 | 230 | 210 | 15,7 | ||||
| 2-14 | 140 | 400 | 380 | 21,1 | |||||||
| 2-15 | 48,60 (4955) | 70 | 245* | 290 | 27 | 255 | 235 | 20,1 | |||
| 2-16 | 140 | 430 | 410 | 26,2 | |||||||
| 2-17 | 58,46 (5960) | 70 | 265* | 240 | 215 | 130 | 23,0 | ||||
| 2-18 | 140 | 395 | 370 | 28,9 | |||||||
Типоразмеры стаканов, отмеченных *, предлагается изотавливать по Исп.3 или Исп.4.
Таблица 7
| Обозначение стакана | Поз.1 Диск 1 шт. | Поз.2 Кольцо 1 шт. | ||
| Обозначение по | ||||
| ОСТ 34-10-743 | ОСТ 34-10-745 | ОСТ 34-10-743 | ОСТ 34-10-745 | |
| Исполнение 1 | ||||
| 2-01 | 3-01 | — | 4-01 | — |
| 2-02 | 4-02 | |||
| 2-03 | 4-03 | |||
| 2-04 | 4-04 | |||
| 2-05 | 3-03 | 4-05 | ||
| 2-06 | 4-06 | |||
| 2-07 | 3-05 | 4-07 | ||
| 2-08 | 4-08 | |||
| 2-09 | 4-09 | |||
| 2-10 | 4-10 | |||
| 2-11 | 3-07 | 4-11 | ||
| 2-12 | 4-12 | |||
| 2-13 | 4-13 | |||
| 2-14 | 4-14 | |||
| 2-15 | 3-09 | 4-15 | ||
| 2-16 | 4-16 | |||
| 2-17 | 3-11 | 4-17 | ||
| 2-18 | 4-18 | |||
Условное обозначение стакана исполнения 1 для пружины, нагрузка которой 5,24 кН (524 кгс) прогибом 70 мм:
Стакан 2-05 ОСТ 34-10-743
То же для исполнения 2:
Стакан 2-23 ОСТ 34-10-743
Сварка ручным методом по ГОСТ 5264, электроды типа Э42А по ГОСТ 9467, или же полуавтоматическим способом в среде углекислого газа по ГОСТ 14771, проволока Св-08 ГС ГОСТ 2246.
Кольцо поз.2, расположить симметрично отверстий диска позиции1.
Предельное отклонение размеров: 
Конструкция и размеры диска должны отвечать тем, что указываются на чертеже 5 и в таблице 8.
Чертеж 5 и таблица 8
| Обозначение диска | Для пружин с нагрузкой кН (кгс) | D* | S | A | d Пред. откл. Н14 | Масса, кг |
| 3-01 | 1,26 (128) 2,73 (278) | 150 | 10 | 76±1,0 | 14 | 1,7 |
| 3-02 | 5 | 0,8 | ||||
| 3-03 | 5,24 (534) 8,00 (816) | 180 | 12 | 92±1,0 | 18 | 3,0 |
| 3-04 | 6 | 1,5 | ||||
| 3-05 | 11,67 (1190) 16,34 (1666) 19,66 (2005) | 200 | 16 | 4,9 | ||
| 3-06 | 8 | 2,5 | ||||
| 3-07 | 26,34 (2686) 32,60 (3325) 40,00 (4080) | 250 | 20 | 108±1,5 | 23 | 8,8 |
| 3-08 | 10 | 4,4 |
Пример условного обозначения диска толщиной 10 мм для пружин с нагрузкой 1,26 кН (128 кгс):
Диск 3-01 ОСТ 34-10-743
Материал: Лист
* Диск допустимо изготавливать квадратной формы со стороной
Конструкция и размеры кольца должны соответствовать тем, что указываются на чертеже 6 и в таблице 9.
Чертеж 6
Таблица 9
| Обозначение кольца | Для пружин | L | Dн* | D** пред. откл. +2,0 | S | Длина* разввертки | Масса, кг | |
| с нагрузкой кН (кгс) | с прогибом | |||||||
| 4-01 | 1,26 (128) | 70 | 75 | 133 | — | 4 | — | 0,9 |
| 4-02 | 140 | 130 | 1,6 | |||||
| 4-03 | 2,73 (278) | 70 | 85 | 1,0 | ||||
| 4-04 | 140 | 150 | 1,9 | |||||
| 4-05 | 5,24 (534) 8,00 (816) | 70 | 100 | — | 160 | 490 | 1,6 | |
| 4-06 | 140 | 180 | 2,9 | |||||
| 4-07 | 11,67 (1190) 16,34 (1666) | 70 | 130 | 180 | 6 | 545 | 3,3 | |
| 4-08 | 140 | 220 | 5,6 | |||||
| 4-09 | 19,66 (2005) | 70 | 160 | 4,1 | ||||
| 4-10 | 140 | 280 | 7,2 | |||||
| 4-11 | 26,34 (2686) | 70 | 155 | 219 | — | 7 | — | 4,9 |
| 4-12 | 140 | 260 | 8,2 | |||||
| 4-13 | 32,60 (3315) 40,00 (4080) | 70 | 210 | — | 225 | 6 | 690 | 6,9 |
| 4-14 | 140 | 380 | 12,3 | |||||
| 4-15 | 48,60 (4955) | 70 | 235 | 245 | 750 | 8,3 | ||
| 4-16 | 140 | 410 | 14,4 | |||||
| 4-17 | 58,46 (5960) | 70 | 215 | 265 | 810 | 8,1 | ||
| 4-18 | 140 | 370 | 14,0 | |||||
* Материал – Труба
Лист
** Допустимо кольцо для стакана изготавливать из двух частей по чертежу 7 или 8 в соответствии с исполнением 3 и 4 чертежа 4.
Конструкция и размеры полукольца должны соответствовать тем, что указываются на чертеже 7 и в таблице 10.
Таблица 10
| Обозначение полукольца | из трубы | L | b | Масса, кг | |
| Dн | S | ||||
| 5-01 | 159 | 5 | 100 | 130 | 0,5 |
| 5-02 | 180 | 0,9 | |||
| 5-03 | 130 | 0,7 | |||
| 5-04 | 220 | 1,2 | |||
| 5-05 | 160 | 0,8 | |||
| 5-06 | 280 | 1,5 | |||
| 5-07 | 219 | 7 | 210 | 170 | 2,2 |
| 5-08 | 380 | 4,0 | |||
| 5-09 | 235 | 2,5 | |||
| 5-10 | 410 | 4,4 | |||
| 5-11 | 273 | 8 | 215 | 230 | 3,5 |
| 5-12 | 370 | 6,2 | |||
Материал: Труба
Таблица 11
| Обозначение угольника | h | b | b1 | Длина* развертки | Масса, кг |
| 6-01 | 130 | 170 | 185 | 360 | 2,2 |
| 6-02 | 220 | 3,8 | |||
| 6-03 | 160 | 2,7 | |||
| 6-04 | 280 | 4,7 | |||
| 6-05 | 210 | 216 | 235 | 460 | 4,5 |
| 6-06 | 380 | 8,2 | |||
| 6-07 | 235 | 220 | 240 | 470 | 5,2 |
| 6-08 | 410 | 9,1 | |||
| 6-09 | 215 | 260 | 280 | 550 | 5,6 |
| 6-10 | 370 | 9,6 |
Информационные данные
Утвержден приказом Министерства топлива и энергетики Российской Федерации № 158 от 12 июля 1993 г.
Исполнители: В.И.Есарев, В.В.Горбачев, О.В.Стрельников (руководитель темы), Н.В. Паутов, И.П.Горяникова
Взамен ОСТ 34-42-743-85
Ссылочные нормативно-технические документы
| Обозначение НТД, на которые дана ссылка | Номер пункта, подпункта, перечисления, приложения |
| ГОСТ 103-76 | п.5.2 |
| ГОСТ 1050-88 | п.5.2.; 8.1; 9 |
| ГОСТ 1577-81 | п.5.2.; п.7.1 |
| ГОСТ 2246-70 | п.4.2; 6.1 |
| ГОСТ 5264-80 | п.4.2; 6.1 |
| ГОСТ 5915-70 | Таблица 2 |
| ГОСТ 9467-75 | п.4.2; 6.1 |
| ГОСТ 14637-89 | п.8.1 |
| ГОСТ 14771-76 | п.6.1; п.8; Табл.11 |
| ГОСТ 19903-74 | п.5.2; п.7.1; п.8.1; Табл.11 |
| ГОСТ 14-3-190 | п.8.1; п.9 |
| ТУ 34-42-10380-83 | п.3.3 |
| ОСТ 108.764.01- | Таблица 2 |
| ОСТ 34-10-723-93 | п.3.3 |
| ОСТ 34-10-745-93 | Таблица 7 |
| ОСТ 34-10-739-93 | Таблица 4 |
Цены на блок пружинный ОСТ 34-10-743-93
| № | Наименование | Допускаемая нагрузка, кН | Высота блока, мм | Масса изделия, кг | Стоимость за ед., руб. | |
| на блок | на пружину | |||||
| 1 | 01 ОСТ 34-10-743-93 | 4,5 | 1,26 | 565 | 9,9 | 1 600,00 |
| 2 | 02 ОСТ 34-10-743-93 | 4,5 | 2,73 | 565 | 11,1 | 1 790,00 |
| 3 | 03 ОСТ 34-10-743-93 | 15 | 5,24 | 670 | 20,8 | 3 365,00 |
| 4 | 04 ОСТ 34-10-743-93 | 15 | 8 | 670 | 22,6 | 3 635,00 |
| 5 | 05 ОСТ 34-10-743-93 | 24 | 11,67 | 750 | 32,1 | 5 187,00 |
| 6 | 06 ОСТ 34-10-743-93 | 24 | 16,34 | 750 | 34,5 | 5 600,00 |
| 7 | 07 ОСТ 34-10-743-93 | 24 | 19,66 | 750 | 40 | 6 495,00 |
| 8 | 08 ОСТ 34-10-743-93 | 34 | 26,34 | 760 | 58,3 | 9 468,00 |
| 9 | 09 ОСТ 34-10-743-93 | 48 | 32,6 | 930 | 78,9 | 12 805,00 |
| 10 | 10 ОСТ 34-10-743-93 | 48 | 40 | 930 | 84,3 | 13 458,00 |
| 11 | 11 ОСТ 34-10-743-93 | 55 | 48,6 | 930 | 102,5 | 16 355,00 |
| 12 | 12 ОСТ 34-10-743-93 | 68 | 58,45 | 950 | 118,5 | 18 505,00 |
| 13 | 13 ОСТ 34-10-743-93 | 4,5 | 1,26 | 434 | 8 | 1 290,00 |
| 14 | 14 ОСТ 34-10-743-93 | 4,5 | 2,73 | 434 | 8,6 | 1 395,00 |
| 15 | 15 ОСТ 34-10-743-93 | 15 | 5,24 | 540 | 15,9 | 2 570,00 |
| 16 | 16 ОСТ 34-10-743-93 | 15 | 8 | 540 | 17 | 2 748,00 |
| 17 | 17 ОСТ 34-10-743-93 | 24 | 11,67 | 580 | 24,6 | 3 982,00 |
| 18 | 18 ОСТ 34-10-743-93 | 24 | 16,34 | 580 | 26 | 4 215,00 |
| 19 | 19 ОСТ 34-10-743-93 | 24 | 19,66 | 580 | 29,2 | 4 739,00 |
| 20 | 20 ОСТ 34-10-743-93 | 34 | 26,34 | 590 | 44,1 | 7 160,00 |
| 21 | 21 ОСТ 34-10-743-93 | 48 | 32,6 | 680 | 56,4 | 9 160,00 |
| 22 | 22 ОСТ 34-10-743-93 | 48 | 40 | 680 | 59,5 | 9 665,00 |
| 23 | 23 ОСТ 34-10-743-93 | 55 | 48,6 | 680 | 73,5 | 11 915,00 |
| 24 | 24 ОСТ 34-10-743-93 | 68 | 58,45 | 720 | 86,7 | 13 972,00 |
Завод «Северозапад» осуществляет доставку продукции по всей России. Мы предоставляем:
- Широкий ассортимент продукции;
- Производство только из сырья высокого качества;
- Доставка в заранее установленные сроки;
- Сохранность целостности изделий при перевозке;
- Профессионально налаженная логистика;
- Доставка как на склад, так и на объект покупателя;
- Доставляем изделия любых габаритов и формы.
Для постоянных клиентов у нас разработана система скидок, которая позволяет вам еще более выгодно сотрудничать с нами. Воспользуйтесь онлайн калькулятором в разделе меню “Доставка”, чтобы узнать стоимость доставки до места назначения.