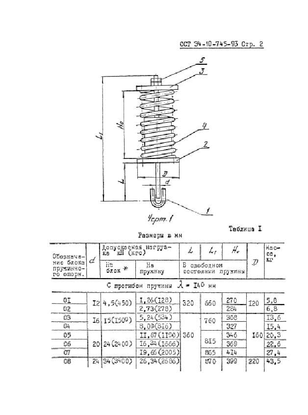
Чертеж блока пружинного опорного

Блок пружинный опорный ОСТ 34-10-745-93
Конструкция и размеры
Представленный стандарт распространяется на пружинные опорные блоки для пружинных подвесок трубопроводов ТЭС и АЭС, пылегазовоздухопроводов ТЭС.
Блоки предназначаются для работы при температуре окружающей среды до плюс 120 градусов.
Конструкция и размеры блоков пружин при рабочих деформациях должны соответствовать указанным на чертеже 1 и в таблице 1 и 2.
Чертеж 1 и таблица 1
| Обозначение блока пружинного опорного | d | Допускаемая нагрузка кН (кгс) | L | L1 | H0 | D | Масса, кг | |
| На блок* | На пружину | В свободном состоянии пружины | ||||||
| С прогибом пружины λ = 140 мм | ||||||||
| 01 | 12 | 4,5 (450) | 1,26 (128) | 320 | 660 | 270 | 120 | 5,8 |
| 02 | 2,73 (278) | 284 | 6,8 | |||||
| 03 | 16 | 15 (1500) | 5,24 (534) | 360 | 760 | 308 | 160 | 13,6 |
| 04 | 8,00 (816) | 327 | 15,4 | |||||
| 05 | 20 | 24 (2400) | 11,67 (1190) | 815 | 346 | 20,3 | ||
| 06 | 16,24 (1666) | 369 | 22,6 | |||||
| 07 | 19,66 (2005) | 865 | 414 | 27,4 | ||||
| 08 | 24 | 34 (3400) | 26,34 (2586) | 870 | 399 | 220 | 43,5 | |
Продолжение таблицы 1
| Обозначение блока пружинного опорного | d | Допускаемая нагрузка кН (кгс) | L | L1 | H0 | D | Масса, кг | |
| На блок* | На пружину | В свободном состоянии пружины | ||||||
| С прогибом пружины λ = 140 мм | ||||||||
| 09 | 30 | 48 (4800) | 32,60 (3325) | 400 | 1070 | 507 | 220 | 64,2 |
| 10 | 40,00 (4080) | 538 | 69,2 | |||||
| 11 | 55 (5500) | 48,60 (4955) | 549 | 75,6 | ||||
| 12 | 36 | 68 (6800) | 58,45 (5960) | 420 | 1025 | 508 | 250 | 97,9 |
| С прогибом пружины λ = 70 мм | ||||||||
| 13 | 12 | 4,5 (450) | 1,26 (128) | 320 | 510 | 143 | 120 | 4,3 |
| 14 | 2,73 (278) | 151 | 4,9 | |||||
| 15 | 16 | 15 (1500) | 5,24 (534) | 360 | 610 | 166 | 160 | 10,0 |
| 16 | 8,00 (816) | 177 | 11,1 | |||||
| 17 | 20 | 24 (2400) | 11,67 (1190) | 665 | 188 | 14,7 | ||
| 18 | 16,34 (1666) | 201 | 16,1 | |||||
| 19 | 19,66 (2005) | 226 | 19,8 | |||||
| 20 | 24 | 34 (3400) | 26,34 (2685) | 720 | 221 | 220 | 32,1 | |
| 21 | 30 | 48 (4800) | 32,60 (3325) | 400 | 820 | 277 | 44,4 | |
| 22 | 40,00 (4080) | 289 | 47,5 | |||||
| 23 | 55 (5500) | 48,60 (4956) | 304 | 50,1 | ||||
| 24 | 36 | 68 (6800) | 58,45 (5960) | 420 | 825 | 284 | 250 | 69,58 |
*Нагрузка при разгруженной пружине
Таблица 2
| Обозначение блока пружинного опорного | Поз.1 Тяга с ушком 1 шт. | Поз.2 Стакан 1 шт. | Поз.3 Диск 1 шт. | Поз.4 Пружина 1 шт. | Поз. 5 Гайки 2 шт. |
| Обозначение по | |||||
| ОСТ 34-10-740 | ОСТ 34-10-745 | ОСТ 34-10-745 | ОСТ 33,764,01 | ГОСТ 5915 | |
| С прогибом пружины λ = 140 мм | |||||
| 01 | 1-31 | 2-20 | 3-01 | 13 | М 12.5 |
| 02 | 2-22 | 14 | |||
| 03 | 1-33 | 2-24 | 3-02 | 15 | М 16.5 |
| 04 | 16 | ||||
| 05 | 1-35 | 2-26 | 3-03 | 17 | М 20.5 |
| 06 | 18 | ||||
| 07 | 1-36 | 2-28 | 19 | ||
| 08 | 1-38 | 2-30 | 3-04 | 20 | М 24.5 |
| 09 | 1-40 | 2-32 | 3-05 | 21 | М 30.5 |
| 10 | 22 | ||||
| 11 | 2-34 | 23 | |||
| 12 | 1-42 | 2-36 | 3-06 | 24 | М 36.5 |
| С прогибом пружины λ = 70 мм | |||||
| 13 | 1-30 | 2-19 | 3-01 | 01 | М 12.5 |
| 14 | 2-21 | 02 | |||
| 15 | 1-32 | 2-23 | 3-02 | 03 | М 16.5 |
| 16 | 04 | ||||
| 17 | 1-34 | 2-25 | 3-03 | 05 | М 20.5 |
| 18 | 06 | ||||
| 19 | 2-27 | 07 | |||
| 20 | 1-37 | 2-29 | 3-04 | 08 | М 24.5 |
| 21 | 1-39 | 2-31 | 3-05 | 09 | М 30.5 |
| 22 | 10 | ||||
| 23 | 2-33 | 11 | |||
| 24 | 1-18 | 2-35 | 3-06 | 12 | М 36.5 |
Пружины должны производиться в соответствии с требованиямиОСТ 108.764.01-80.
Пример условного обозначения блока пружинного опорного с допустимой нагрузкой на пружину 1,26кН (128кгс) и прогибом 210 мм:
Блок пружинный опорный 01ОСТ34-10-745
Определение рабочих нагрузок, а также выбор и расчет затяжек пружин для подвесок выполняется по руководящим техническим материалам: «Выбор упругих опор для трубопроводов тепловых и атомных электростанций РТМ 24.038.12-72».
Предельное отклонение размеров:
Прочие технические требования по ТУ 34-42-10380 и поОСТ 34-10-723.
Конструкция и размеры диска должны соответствовать указанным на чертеже 3 и в таблице 4.
Чертеж 3 и таблица 5
| Обозначение диска | D Пред. откл. h14 | d Пред. откл. H14 | S | Масса, кг |
| 3-01 | 120 | 13 | 10 | 0,86 |
| 3-02 | 150 | 18 | 12 | 1,87 |
| 3-03 | 23 | 16 | 2,48 | |
| 3-04 | 220 | 27 | 20 | 5,88 |
| 3-05 | 34 | 5,92 | ||
| 3-06 | 250 | 40 | 25 | 9,38 |
Пример условного обозначения основания диска с отверстием под тягу диаметром 16 мм:
Диск 3-02 ОСТ 34-10-745
* Справочные размеры
Материал: лист
Основание может быть изготовлено квадратной формы со стороной
Конструкция и размеры кольца должны соответствовать указанным на чертеже 4 и в таблице 6.
Чертеж 4 и таблица 6
| Обозначение кольца | Dн x S | L | Масса, кг |
| 4-01 | 89х3,5 | 75 | 0,59 |
| 4-02 | 130 | 0,96 | |
| 4-03 | 85 | 0,63 | |
| 4-04 | 150 | 1,10 | |
| 4-05 | 108х4 | 100 | 1,11 |
| 4-06 | 480 | 1,93 | |
| 4-07 | 130 | 1,33 | |
| 4-08 | 220 | 2,36 | |
| 4-09 | 160 | 1,64 | |
| 4-10 | 280 | 2,87 | |
| 4-11 | 133х6 | 155 | 2,91 |
| 4-12 | 260 | 4,83 | |
| 4-13 | 210 | 4,13 |
Продолжение таблицы 6
| Обозначение кольца | Dн x S | L | Масса, кг |
| 4-14 | 133х6 | 380 | 7,33 |
| 4-15 | 235 | 4,41 | |
| 4-16 | 410 | 7,70 | |
| 4-17 | 159х7 | 215 | 5,64 |
| 4-18 | 370 | 9,71 |
Пример условного обозначения кольца с наружным диаметром 133 мм и длиной 380 мм.
Кольцо 4-14 ОСТ 34-10-745
Материал: Труба
Информационные данные
Утвержден приказом Министерства топлива и энергетики Российской Федерации № 158 от 12 июля 1993 г.
Исполнители: В.И.Есарев, В.В.Горбачев, О.В.Стрельников (руководитель темы), Н.В. Паутов, И.П.Горяникова
Взамен ОСТ 34-42-745-85
Ссылочные нормативно-технические документы
| Обозначение НТД, на которые дана ссылка | Номер пункта, подпункта, перечисления, приложения |
| ГОСТ 1577-81 | п.4.1 |
| ГОСТ 5915-70 | Таблица 2 |
| ГОСТ 19903-74 | п.4.2 |
| ТУ 14-3-190-82 | п.5.1 |
| ТУ 34-42-10380-83 | п.3.3 |
| ОСТ 108,764,01-80 | Таблица 2 |
| ОСТ 34-10-723-93 | п.3.3 |
| ОСТ 34-10-741-93 | Таблица 2 |
| ОСТ 34-10-743-93 | Таблица 2 |
Цены на блок пружинный опорный ОСТ 34-10-745-93
| № | Наименование | Допускаемая нагрузка, кН | Высота блока, мм | Масса изделия, кг | Стоимость за ед., руб. | |
| на блок | на пружину | |||||
| 1 | 01 ОСТ 34-10-745-93 | 4,5 | 1,26 | 660 | 5,8 | 972,00 |
| 2 | 02 ОСТ 34-10-745-93 | 4,5 | 2,73 | 660 | 6,8 | 1 150,00 |
| 3 | 03 ОСТ 34-10-745-93 | 15 | 5,24 | 760 | 13,6 | 2 300,00 |
| 4 | 04 ОСТ 34-10-745-93 | 15 | 8 | 760 | 15,4 | 2 626,00 |
| 5 | 05 ОСТ 34-10-745-93 | 24 | 11,67 | 815 | 20,3 | 3 468,00 |
| 6 | 06 ОСТ 34-10-745-93 | 24 | 16,34 | 815 | 22,6 | 3 822,00 |
| 7 | 07 ОСТ 34-10-745-93 | 24 | 19,66 | 865 | 27,4 | 4 477,00 |
| 8 | 08 ОСТ 34-10-745-93 | 34 | 26,34 | 870 | 43,5 | 7 524,00 |
| 9 | 06 ОСТ 34-10-745-93 | 48 | 32,6 | 1070 | 64,2 | 11 028,00 |
| 10 | 10 ОСТ 34-10-745-93 | 48 | 40 | 1070 | 69,2 | 11 954,00 |
| 11 | 11 ОСТ 34-10-745-93 | 55 | 48,6 | 1070 | 75,6 | 13 038,00 |
| 12 | 12 ОСТ 34-10-745-93 | 68 | 58,45 | 1025 | 97,9 | 16 795,00 |
| 13 | 13 ОСТ 34-10-745-93 | 4,5 | 1,26 | 510 | 4,3 | 730,00 |
| 14 | 14 ОСТ 34-10-745-93 | 4,5 | 2,73 | 510 | 4,9 | 832,00 |
| 15 | 15 ОСТ 34-10-745-93 | 15 | 5,24 | 610 | 10 | 1 683,00 |
| 16 | 16 ОСТ 34-10-745-93 | 15 | 8 | 610 | 11,1 | 1 888,00 |
| 17 | 17 ОСТ 34-10-745-93 | 24 | 11,67 | 665 | 14,7 | 2 533,00 |
| 18 | 18 ОСТ 34-10-745-93 | 24 | 16,34 | 665 | 16,1 | 2 776,00 |
| 19 | 19 ОСТ 34-10-745-93 | 24 | 19,66 | 665 | 19,8 | 3 430,00 |
| 20 | 20 ОСТ 34-10-745-93 | 34 | 26,34 | 720 | 32,1 | 5 551,00 |
| 21 | 21 ОСТ 34-10-745-93 | 48 | 32,6 | 820 | 44,4 | 7 682,00 |
| 22 | 22 ОСТ 34-10-745-93 | 48 | 40 | 820 | 47,5 | 8 197,00 |
| 23 | 23 ОСТ 34-10-745-93 | 55 | 48,6 | 820 | 50,1 | 8 664,00 |
| 24 | 24 ОСТ 34-10-745-93 | 68 | 58,45 | 825 | 69,56 | 11 944,00 |
Завод «Северозапад» осуществляет доставку продукции по всей России. Мы предоставляем:
- Широкий ассортимент продукции;
- Производство только из сырья высокого качества;
- Доставка в заранее установленные сроки;
- Сохранность целостности изделий при перевозке;
- Профессионально налаженная логистика;
- Доставка как на склад, так и на объект покупателя;
- Доставляем изделия любых габаритов и формы.
Для постоянных клиентов у нас разработана система скидок, которая позволяет вам еще более выгодно сотрудничать с нами. Воспользуйтесь онлайн калькулятором в разделе меню “Доставка”, чтобы узнать стоимость доставки до места назначения.