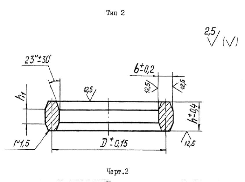
Конструкция и размеры
Альбом типовых конструкций устанавливает два типа прокладок:
- Тип 1 – овального сечения;
- Тип 2 – восьмиугольного сечения.
| Размеры, мм | ||||||
| Проход условный фланцы Dy | Давление условное Ру, МПа | D | b | h | R | Масса, кг |
| 15 | 6,3; 10,0; 16,0 | 35 | 8 | 14 | 4,0 | 0,085 |
| 20 | 45 | 0,109 | ||||
| 25 | 50 | 0,121 | ||||
| 32 | 65 | 0,157 | ||||
| 40 | 75 | 0,182 | ||||
| 50 | 6,3; 10,0 | 85 | 11 | 18 | 5,5 | 0,363 |
| 16,0 | 95 | 0,406 | ||||
| 65 | 6,3; 10,0; 16,0 | 110 | 0,470 | |||
| 80 | 6,3; 10,0 | 115 | 0,491 | |||
| 16,0 | 130 | 0,551 | ||||
| 100 | 6,3; 10,0 | 145 | 0,619 | |||
| 16,0 | 160 | 0,683 | ||||
| 125 | 6,3; 10,0 | 175 | 0,747 | |||
| 16,0 | 190 | 0,811 | ||||
| 150 | 6,3; 10,0 | 205 | 0,845 | |||
| 16,0 | 13 | 20 | 6,5 | 1,13 | ||
| 200 | 6,3; 10,0 | 265 | 11 | 18 | 5,5 | |
| 16,0 | 275 | 16 | 22 | 8,0 | 2,02 | |
| 250 | 6,3; 10,0 | 320 | 11 | 18 | 5,5 | 1,37 |
| 16,0 | 330 | 16 | 22 | 8,0 | 2,42 | |
| Размеры, мм | ||||||
| Проход условный фланцы Dy | Давление условное Ру, МПа | D | b | h | h1 | Масса, кг |
| 200 | 16,0 | 275 | 16 | 22 | 10 | 2,02 |
| 250 | 330 | 2,42 | ||||
| 300 | 10,0 | 375 | 11 | 18 | 8 | 1,60 |
| 16,0 | 380 | 22 | 30 | 12 | 5,08 | |
| 350 | 10,0 | 420 | 16 | 22 | 10 | 3,08 |
| 16,0 | 22 | 30 | 12 | 5,60 | ||
| 400 | 10,0 | 480 | 15 | 22 | 10 | 3,52 |
| 16,0 | 22 | 30 | 12 | 6,40 | ||
| Размеры, мм | ||||||
| Проход условный фланцы Dy | Давление условное Ру, МПа | D | b | h | R | Масса, кг |
| 300 | 6,3; 10,0 | 375 | 11 | 18 | 5,5 | 1,60 |
| 16,0 | 380 | 22 | 30 | 11 | 4,85 | |
| 350 | 6,3 | 420 | 11 | 18 | 5,5 | 1,79 |
| 10,0 | 16 | 22 | 8,0 | 3,08 | ||
| 16,0 | 22 | 30 | 11 | 5,35 | ||
| 400 | 6,3 | 480 | 11 | 18 | 5,5 | 2,05 |
| 10,0 | 16 | 22 | 8,0 | 3,52 | ||
| 16,0 | 22 | 30 | 11 | 6,12 | ||
Технические требования
Прокладки должны изготавливаться в соответствии с требованиями данного альбома типовых конструкций по чертежам, которые утверждаются в установленном порядке.
Материал прокладок выбирается в соответствии с таблицей 3.
| Шифр | Материал |
|
1 2 3 4 5 |
Сталь 08КП по ГОСТ 1050 10895 по ГОСТ 11036 Сталь 08Х13 по ГОСТ 5632 Сталь 08Х13Н10 по ГОСТ 5632 Сталь 08Х13Н10Т по ГОСТ 5632 |
Материал прокладок в каждом отдельном случае зависит от условий эксплуатации.
Допустимо изготовление прокладок из иных марок стали, в зависимости от условий эксплуатации, по нормативно-технической документации, утвержденной в установленном порядке.
Торцевые привалочные поверхности прокладок не должны иметь никаких дефектов.
Допустимо наличие на прокладке одного сварного шва. Разность в твердости сварного шва и основного материала должна быть не более 20 единиц по Бринеллю.
Прокладки, изготовленные из высоколегированных и коррозионностойких сталей необходимо подвергать термической обработке.
При поставке прокладок как самостоятельных изделий (запасные части) маркировка проставляется на бирке, которая крепится к каждой прокладке. Маркировка включает товарный знак изготовителя, условное обозначение, марку материала и номер данного документа.
На боковой поверхности прокладок с помощью клейма наносится марка материала.
Для прокладок, которые не имеют самостоятельной поставки, маркировка проставляется в порядке, который принят на заводе-изготовителе.
Ссылочные и нормативно-технические документы
| Обозначение НТД, на которые дана ссылка | Номер пункта, подпункта, перечисления, приложения |
|
ГОСТ 1050-88 ГОСТ 5632-72 ГОСТ 11036-75 |
2.2 2.2 2.2 |
Завод «Северозапад» осуществляет доставку продукции по всей России. Мы предоставляем:
- Широкий ассортимент продукции;
- Производство только из сырья высокого качества;
- Доставка в заранее установленные сроки;
- Сохранность целостности изделий при перевозке;
- Профессионально налаженная логистика;
- Доставка как на склад, так и на объект покупателя;
- Доставляем изделия любых габаритов и формы.
Для постоянных клиентов у нас разработана система скидок, которая позволяет вам еще более выгодно сотрудничать с нами. Воспользуйтесь онлайн калькулятором в разделе меню “Доставка”, чтобы узнать стоимость доставки до места назначения.