Конструкция и размеры
Выполнение монтажных приварок тяг подвесок приведены в приложении 2 к ОСТ 34-10-723.
Конструкция, основные размеры, допустимые нагрузки и материалы деталей должны отвечать тем, что указываются на чертеже и в таблице 1 и 2.
Пример условного обозначения приварного блока подвески исполнения 1 с муфтой для трубопроводов Дн 426 мм из углеродистой стали:
Блок подвески 426 У-21 ОСТ 34-10-727
Из коррозионностойкой стали:
Блок подвески 426 К-22 ОСТ 34-10-727
* Величина катета шва к1 – по наименьшей толщине свариваемых деталей. Для трубопроводов Дн ≤89 мм допустимо использование подвески без усиливающей накладки (позиция 2).
Для установки блоков между швами спиральношовных труб Дн 530 и 630 мм накладки необходимо сместить от шва на 1—мм в осевом направлении.
Остальные технические требования должны соответствовать:
- ТУ 34-42-10380;
- ОСТ 34-10-723.
Блоки подвески
с проушиной с траверсой
с накладкой
Чертеж блока подвески приварной Чертеж блока подвески накладной


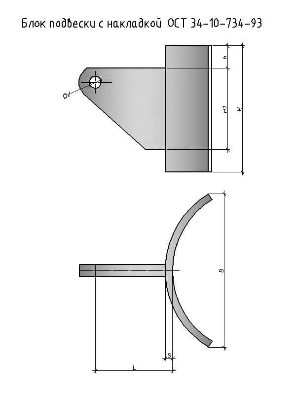
Отраслевой стандарт . ОСТ 34-10-734-93. Плавник с накладкой
Конструкция и размеры
Данный стандарт распространяется на подвески вертикального трубопровода ТЭС, АЭС с Дн 57-630 мм.
Конструкция и размеры, допустимые нагрузки и материалы деталей должны отвечать тем, что указываются на чертеже 1 и в таблицах 1 и 2.
Примеры условного обозначения плавника с накладкой для трубопровода Дн = 89 мм из углеродистой стали:
Плавник с накладкой 89У-05 ОСТ 34-10-734-93.
Для трубопроводов из коррозионостойкой стали:
Плавник с накладкой 89К ОСТ 34-10-734-93.
Остальные технические требования в соответствии с:
- ТУ-34-42-10380;
- ОСТ 34-10-723.
Констуркция и размеры плавника должны отвечать тем, что указываются на чертеже 2 и в таблице 3.
При приварке плавника непосредственно к трубопроводу Дн ≤89 мм из коррозионностойкой стали.
Цены на блок подвески приварной для вертикальных трубопроводов ОСТ 34-10-727-93
| № | Наименование | Допускаемая нагрузка, кН | Диаметр Дн, мм | Высота подвески, мм | Масса блоков, кг | Стоимость за ед. руб. |
| 1 | 57У-01 ОСТ 34-10-727-93 | 0,9 | 57 | 725 | 7.0 | 1 635,00 |
| 2 | 57К-02 ОСТ 34-10-727-93 | 0,9 | 57 | 725 | 7.0 | 2 682,00 |
| 3 | 76У-03 ОСТ 34-10-727-93 | 1,5 | 76 | 725 | 7.0 | 1 635,00 |
| 4 | 76К-04 ОСТ 34-10-727-93 | 1,5 | 76 | 725 | 7.0 | 2 682,00 |
| 5 | 89У-05 ОСТ 34-10-727-93 | 2 | 89 | 725 | 7.0 | 1 635,00 |
| 6 | 89К-06 ОСТ 34-10-727-93 | 2 | 89 | 725 | 7.0 | 2 682,00 |
| 7 | 108У-07 ОСТ 34-10-727-93 | 2,9 | 108 | 725 | 7.0 | 1 635,00 |
| 8 | 108К-08 ОСТ 34-10-727-93 | 2,9 | 108 | 725 | 7.0 | 2 682,00 |
| 9 | 133У-09 ОСТ 34-10-727-93 | 3,8 | 133 | 725 | 7.0 | 1 635,00 |
| 10 | 133К-10 ОСТ 34-10-727-93 | 3,8 | 133 | 725 | 7.0 | 2 682,00 |
| 11 | 159У-11 ОСТ 34-10-727-93 | 5,4 | 159 | 725 | 7.0 | 1 635,00 |
| 12 | 159К-12 ОСТ 34-10-727-93 | 5,4 | 159 | 725 | 7.0 | 2 682,00 |
| 13 | 219У-13 ОСТ 34-10-727-93 | 11,7 | 219 | 735 | 16.0 | 3 588,00 |
| 14 | 219К-14 ОСТ 34-10-727-93 | 11,7 | 219 | 735 | 16.0 | 5 981,00 |
| 15 | 273У-15 ОСТ 34-10-727-93 | 18,1 | 273 | 735 | 15.0 | 3 364,00 |
| 16 | 273К-16 ОСТ 34-10-727-93 | 18,1 | 273 | 735 | 15.0 | 5 607,00 |
| 17 | 325У-17 ОСТ 34-10-727-93 | 23,5 | 325 | 735 | 18.0 | 4 037,00 |
| 18 | 325К-18 ОСТ 34-10-727-93 | 23,5 | 325 | 735 | 18.0 | 6 728,00 |
| 19 | 377У-19 ОСТ 34-10-727-93 | 28,4 | 377 | 735 | 30.0 | 6 448,00 |
| 20 | 377К-20 ОСТ 34-10-727-93 | 28,4 | 377 | 735 | 30.0 | 10 934,00 |
| 21 | 426У-21 ОСТ 34-10-727-93 | 33,3 | 426 | 750 | 30.0 | 6 448,00 |
| 22 | 426К-22 ОСТ 34-10-727-93 | 33,3 | 426 | 750 | 30.0 | 10 934,00 |
| 23 | 478У-23 ОСТ 34-10-727-93 | 33,3 | 478 | 750 | 34.0 | 7 308,00 |
| 24 | 478У-24 ОСТ 34-10-727-93 | 33,3 | 478 | 750 | 34.0 | 12 392,00 |
| 25 | 530У-25 ОСТ 34-10-727-93 | 46,1 | 530 | 750 | 42.0 | 8 635,00 |
| 26 | 530К-26 ОСТ 34-10-727-93 | 46,1 | 530 | 750 | 42.0 | 14 915,00 |
| 27 | 630У-27 ОСТ 34-10-727-93 | 47,1 | 630 | 750 | 42.0 | 8 635,00 |
| 28 | 630К-28 ОСТ 34-10-727-93 | 47,1 | 630 | 750 | 42.0 | 14 915,00 |
| 29 | 57У-29 ОСТ 34-10-727-93 | 0,9 | 57 | 1 025 | 5.0 | 1 168,00 |
| 30 | 57К-30 ОСТ 34-10-727-93 | 0,9 | 57 | 1 025 | 5.0 | 1 915,00 |
| 31 | 76У-31 ОСТ 34-10-727-93 | 1,5 | 76 | 1 025 | 5.0 | 1 168,00 |
| 32 | 76К-32 ОСТ 34-10-727-93 | 1,5 | 76 | 1 025 | 5.0 | 1 915,00 |
| 33 | 89У-33 ОСТ 34-10-727-93 | 2 | 89 | 1 025 | 5.0 | 1 168,00 |
| 34 | 89К-34 ОСТ 34-10-727-93 | 2 | 89 | 1 025 | 5.0 | 1 915,00 |
| 34 | 108У-35 ОСТ 34-10-727-93 | 2,9 | 108 | 1 025 | 5.0 | 1 168,00 |
| 36 | 108К-36 ОСТ 34-10-727-93 | 2,9 | 108 | 1 025 | 5.0 | 1 915,00 |
| 37 | 133У-37 ОСТ 34-10-727-93 | 3,8 | 133 | 1 025 | 5.0 | 1 168,00 |
| 38 | 133К-38 ОСТ 34-10-727-93 | 3,8 | 133 | 1 025 | 5.0 | 1 915,00 |
| 39 | 159У-39 ОСТ 34-10-727-93 | 5,4 | 159 | 1 025 | 6.0 | 1 401,00 |
| 40 | 159К-40 ОСТ 34-10-727-93 | 5,4 | 159 | 1 025 | 6.0 | 2 299,00 |
| 41 | 219У-41 ОСТ 34-10-727-93 | 11,7 | 219 | 1 030 | 15.0 | 2 691,00 |
| 42 | 219К-42 ОСТ 34-10-727-93 | 11,7 | 219 | 1 030 | 15.0 | 5 598,00 |
| 43 | 273У-43 ОСТ 34-10-727-93 | 18,1 | 273 | 1 030 | 14.0 | 3 140,00 |
| 44 | 273К-44 ОСТ 34-10-727-93 | 18,1 | 273 | 1 030 | 14.0 | 5 233,00 |
| 45 | 325У-45 ОСТ 34-10-727-93 | 23,5 | 325 | 1 030 | 14.0 | 3 140,00 |
| 46 | 325К-46 ОСТ 34-10-727-93 | 23,5 | 325 | 1 030 | 14.0 | 5 233,00 |
| 47 | 377У-47 ОСТ 34-10-727-93 | 28,4 | 377 | 1 030 | 17.0 | 3 813,00 |
| 48 | 377К-48 ОСТ 34-10-727-93 | 28,4 | 377 | 1 030 | 17.0 | 6 355,00 |
| 49 | 426У-49 ОСТ 34-10-727-93 | 33,3 | 426 | 1 040 | 28.0 | 6 018,00 |
| 50 | 426К-50 ОСТ 34-10-727-93 | 33,3 | 426 | 1 040 | 28.0 | 10 205,00 |
| 51 | 478У-51 ОСТ 34-10-727-93 | 33,3 | 478 | 1 040 | 28.0 | 6 018,00 |
| 52 | 478К-52 ОСТ 34-10-727-93 | 33,3 | 478 | 1 040 | 28.0 | 10 205,00 |
| 53 | 530У-53 ОСТ 34-10-727-93 | 46,1 | 530 | 1 040 | 32.0 | 6 878,00 |
| 54 | 530К-54 ОСТ 34-10-727-93 | 46,1 | 530 | 1 040 | 32.0 | 11 663,00 |
| 55 | 630У-55 ОСТ 34-10-727-93 | 47,1 | 630 | 1 040 | 40.0 | 8 224,00 |
| 56 | 630К-56 ОСТ 34-10-727-93 | 47,1 | 630 | 1 040 | 40.0 | 14 205,00 |
Цены на блок подвески хомутовый для вертикальных трубопроводов ОСТ 34-10-728-93
| № | Наименование | Допускаемая нагрузка, кН | Диаметр Дн, мм | Высота подвески, мм | Масса блоков, кг | Стоимость за ед. руб. |
| 1 | 57У-01 ОСТ 34-10-728-93 | 0,9 | 57 | 725 | 6.2 | 1 448,00 |
| 2 | 57К-02 ОСТ 34-10-728-93 | 0,9 | 57 | 725 | 6.2 | 2 373,00 |
| 3 | 76У-03 ОСТ 34-10-728-93 | 1,5 | 76 | 725 | 6.3 | 1 467,00 |
| 4 | 76К-04 ОСТ 34-10-728-93 | 1,5 | 76 | 725 | 6.3 | 2 411,00 |
| 5 | 89У-05 ОСТ 34-10-728-93 | 2 | 89 | 725 | 6.7 | 1 560,00 |
| 6 | 89К-06 ОСТ 34-10-728-93 | 2 | 89 | 725 | 6.7 | 2 560,00 |
| 7 | 108У-07 ОСТ 34-10-728-93 | 2,8 | 108 | 725 | 8.4 | 1 962,00 |
| 8 | 108К-08 ОСТ 34-10-728-93 | 2,8 | 108 | 725 | 8.4 | 3 214,00 |
| 9 | 133У-09 ОСТ 34-10-728-93 | 3,8 | 133 | 725 | 8.9 | 2 074,00 |
| 10 | 133К-10 ОСТ 34-10-728-93 | 3,8 | 133 | 725 | 8.9 | 3 401,00 |
| 11 | 159У-11 ОСТ 34-10-728-93 | 5,4 | 159 | 735 | 17.1 | 3 831,00 |
| 12 | 159К-12 ОСТ 34-10-728-93 | 5,4 | 159 | 735 | 17.1 | 6 392,00 |
| 13 | 219У-13 ОСТ 34-10-728-93 | 11,7 | 219 | 735 | 23.2 | 5 196,00 |
| 14 | 219К-14 ОСТ 34-10-728-93 | 11,7 | 219 | 735 | 23.2 | 8 672,00 |
| 15 | 273У-15 ОСТ 34-10-728-93 | 18,1 | 273 | 735 | 24.6 | 5 514,00 |
| 16 | 273К-16 ОСТ 34-10-728-93 | 18,1 | 273 | 735 | 24.6 | 9 196,00 |
| 17 | 325У-17 ОСТ 34-10-728-93 | 23,5 | 325 | 735 | 33.3 | 7 158,00 |
| 18 | 325К-18 ОСТ 34-10-728-93 | 23,5 | 325 | 735 | 33.3 | 12 130,00 |
| 19 | 377У-19 ОСТ 34-10-728-93 | 28,4 | 377 | 735 | 36.8 | 7 906,00 |
| 20 | 377К-20 ОСТ 34-10-728-93 | 28,4 | 377 | 735 | 36.8 | 13 411,00 |
| 21 | 426У-21 ОСТ 34-10-728-93 | 33,3 | 426 | 750 | 52.4 | 10 766,00 |
| 22 | 426К-22 ОСТ 34-10-728-93 | 33,3 | 426 | 750 | 52.4 | 18 607,00 |
| 23 | 530У-23 ОСТ 34-10-728-93 | 46,1 | 530 | 750 | 56.4 | 11 596,00 |
| 24 | 530К-24 ОСТ 34-10-728-93 | 46,1 | 530 | 750 | 56.4 | 20 028,00 |
| 25 | 630У-25 ОСТ 34-10-728-93 | 46,1 | 630 | 750 | 61.1 | 12 560,00 |
| 26 | 630К-26 ОСТ 34-10-728-93 | 46,1 | 630 | 750 | 61.1 | 21 476,00 |
| 27 | 57У-27 ОСТ 34-10-728-93 | 0,9 | 57 | 1 025 | 4.2 | 981,00 |
| 28 | 57К-28 ОСТ 34-10-728-93 | 0,9 | 57 | 1 025 | 4.2 | 1 607,00 |
| 29 | 76У-29 ОСТ 34-10-728-93 | 1,5 | 76 | 1 025 | 4.3 | 1 000,00 |
| 30 | 76К-30 ОСТ 34-10-728-93 | 1,5 | 76 | 1 025 | 4.3 | 1 644,00 |
| 31 | 89У-31 ОСТ 34-10-728-93 | 2 | 89 | 1 025 | 4.7 | 1 098,00 |
| 32 | 89К-32 ОСТ 34-10-728-93 | 2 | 89 | 1 025 | 4.7 | 1 800,00 |
| 33 | 108У-33 ОСТ 34-10-728-93 | 2,8 | 108 | 1 025 | 6.4 | 1 495,00 |
| 34 | 108К-34 ОСТ 34-10-728-93 | 2,8 | 108 | 1 025 | 6.4 | 2 448,00 |
| 35 | 133У-35 ОСТ 34-10-728-93 | 3,8 | 133 | 1 025 | 6.9 | 1 607,00 |
| 36 | 133К-36 ОСТ 34-10-728-93 | 3,8 | 133 | 1 025 | 6.9 | 2 635,00 |
| 37 | 159У-37 ОСТ 34-10-728-93 | 5,4 | 159 | 1 030 | 16.1 | 3 607,00 |
| 38 | 159К-37 ОСТ 34-10-728-93 | 5,4 | 159 | 1 030 | 16.1 | 6 018,00 |
| 39 | 219У-39 ОСТ 34-10-728-93 | 11,7 | 219 | 1 030 | 21.2 | 4 747,00 |
| 40 | 219К-40 ОСТ 34-10-728-93 | 11,7 | 219 | 1 030 | 21.2 | 7 925,00 |
| 41 | 273У-41 ОСТ 34-10-728-93 | 18,1 | 273 | 1 030 | 22.6 | 5 065,00 |
| 42 | 273К-42 ОСТ 34-10-728-93 | 18,1 | 273 | 1 030 | 22.6 | 8 448,00 |
| 43 | 325У-43 ОСТ 34-10-728-93 | 23,5 | 325 | 1 030 | 31.3 | 6 429,00 |
| 44 | 325К-44 ОСТ 34-10-728-93 | 23,5 | 325 | 1 030 | 31.3 | 11 112,00 |
| 45 | 377У-45 ОСТ 34-10-728-93 | 28,4 | 377 | 1 030 | 34.7 | 7 130,00 |
| 46 | 377К-46 ОСТ 34-10-728-93 | 28,4 | 377 | 1 030 | 34.7 | 12 317,00 |
| 47 | 426У-47 ОСТ 34-10-728-93 | 33,3 | 426 | 1 040 | 53.5 | 10 495,00 |
| 48 | 426К-48 ОСТ 34-10-728-93 | 33,3 | 426 | 1 040 | 53.5 | 18 495,00 |
| 49 | 530У-49 ОСТ 34-10-728-93 | 46,1 | 530 | 1 040 | 54.5 | 10 691,00 |
| 50 | 530К-50 ОСТ 34-10-728-93 | 46,1 | 530 | 1 040 | 54.5 | 18 663,00 |
| 51 | 630У-51 ОСТ 34-10-728-93 | 46,1 | 630 | 1 040 | 59.1 | 11 598,00 |
| 52 | 630К-52 ОСТ 34-10-728-93 | 46,1 | 630 | 1 040 | 59.1 | 20 308,00 |
Цены на блок подвески с проушиной ОСТ 34-10-729-93
| № | Наименование | Допускаемая нагрузка, кН | Высота изделия, мм | Масса изделия, кг | Стоимость за ед. руб. |
| 1 | 01 ОСТ 34-10-729-93 | 4,4 | 880 | 2.0 | 467,00 |
| 2 | 02 ОСТ 34-10-729-93 | 4,4 | 1 180 | 2.0 | 392,00 |
| 3 | 03 ОСТ 34-10-729-93 | 14,7 | 910 | 5.0 | 1 168,00 |
| 4 | 04 ОСТ 34-10-729-93 | 14,7 | 1 205 | 4.0 | 785,00 |
| 5 | 05 ОСТ 34-10-729-93 | 23,5 | 920 | 7.0 | 1 635,00 |
| 6 | 06 ОСТ 34-10-729-93 | 23,5 | 1 210 | 6.0 | 1 177,00 |
| 7 | 07 ОСТ 34-10-729-93 | 33,3 | 950 | 13.0 | 2 915,00 |
| 8 | 08 ОСТ 34-10-729-93 | 33,3 | 1 240 | 11.0 | 2 056,00 |
| 9 | 09 ОСТ 34-10-729-93 | 33,3 | 1 020 | 16.0 | 3 588,00 |
| 10 | 10 ОСТ 34-10-729-93 | 33,3 | 1 310 | 14.0 | 2 616,00 |
| 11 | 11 ОСТ 34-10-729-93 | 53,9 | 940 | 18.0 | 4 037,00 |
| 12 | 12 ОСТ 34-10-729-93 | 53,9 | 1 240 | 14.0 | 2 616,00 |
| 13 | 13 ОСТ 34-10-729-93 | 53,9 | 1 010 | 22.0 | 4 728,00 |
| 14 | 14 ОСТ 34-10-729-93 | 53,9 | 1 310 | 17.0 | 3 177,00 |
| 15 | 15 ОСТ 34-10-729-93 | 78,4 | 945 | 23.0 | 4 943,00 |
| 16 | 16 ОСТ 34-10-729-93 | 78,4 | 1 240 | 19.0 | 3 551,00 |
| 17 | 17 ОСТ 34-10-729-93 | 78,4 | 1 135 | 36.0 | 7 401,00 |
| 18 | 18 ОСТ 34-10-729-93 | 78,4 | 1 430 | 32.0 | 5 383,00 |
| 19 | 19 ОСТ 34-10-729-93 | 107,9 | 1 145 | 34.0 | 6 990,00 |
| 20 | 20 ОСТ 34-10-729-93 | 107,9 | 1 240 | 23.0 | 4 084,00 |
| 21 | 21 ОСТ 34-10-729-93 | 107,9 | 1 335 | 47.0 | 9 327,00 |
| 22 | 22 ОСТ 34-10-729-93 | 107,9 | 1 430 | 36.0 | 6 056,00 |
| 23 | 23 ОСТ 34-10-729-93 | 147,1 | 1 340 | 61.0 | 11 971,00 |
| 24 | 24 ОСТ 34-10-729-93 | 147,1 | 1 435 | 44.0 | 7 401,00 |
| 25 | 25 ОСТ 34-10-729-93 | 196,1 | 1 420 | 74.0 | 14 523,00 |
| 26 | 26 ОСТ 34-10-729-93 | 196,1 | 1 515 | 54.0 | 8 579,00 |
Цены на ушко по ОСТ 34-10-729-93
| № | Наименование | Допускаемая нагрузка, кН / кгс | Диаметр, мм | Длина ушко, мм | Масса ушко, кг | Стоимость ушко за ед. руб. |
| 1 | 1-01 ОСТ 34-10-729-93 | 4,4 / 450 | 12 | 45 | 0.12 | 65,00 |
| 2 | 1-02 ОСТ 34-10-729-93 | 14,7 / 1500 | 16 | 60 | 0.28 | 75,00 |
| 3 | 1-03 ОСТ 34-10-729-93 | 23,5 / 2400 | 20 | 65 | 0.49 | 103,00 |
| 4 | 1-04 ОСТ 34-10-729-93 | 33,3 / 3400 | 24 | 80 | 0.86 | 113,00 |
| 5 | 1-05 ОСТ 34-10-729-93 | 53,9 / 5500 | 30 | 100 | 1.68 | 206,00 |
| 6 | 1-06 ОСТ 34-10-729-93 | 78,4 / 8000 | 35 | 115 | 2.8 | 318,00 |
| 7 | 1-07 ОСТ 34-10-729-93 | 107,9 / 11000 | 42 | 130 | 4.2 | 421,00 |
| 8 | 1-08 ОСТ 34-10-729-93 | 147,1 / 15000 | 48 | 155 | 6.5 | 664,00 |
| 9 | 1-09 ОСТ 34-10-729-93 | 196,1 / 20000 | 56 | 150 | 8.8 | 814,00 |
Цены на тяга гладкая по ОСТ 34-10-729-93
| № | Наименование | Допускаемая нагрузка, кН / кгс | Диаметр тяги, мм | Длина тяги, мм | Масса тяги, кг | Стоимость тяги за ед. руб. |
| 1 | 2-01 ОСТ 34-10-729-93 | 4,4 / 450 | 12 | 200 | 0.17 | 19,00 |
| 2 | 2-02 ОСТ 34-10-729-93 | 4,4 / 450 | 12 | 400 | 0.35 | 28,00 |
| 3 | 2-03 ОСТ 34-10-729-93 | 4,4 / 450 | 12 | 600 | 0.53 | 47,00 |
| 4 | 2-04 ОСТ 34-10-729-93 | 4,4 / 450 | 12 | 800 | 0.71 | 66,00 |
| 5 | 2-05 ОСТ 34-10-729-93 | 4,4 / 450 | 12 | 1000 | 0.88 | 75,00 |
| 6 | 2-06 ОСТ 34-10-729-93 | 4,4 / 450 | 12 | 1200 | 1.07 | 85,00 |
| 7 | 2-07 ОСТ 34-10-729-93 | 4,4 / 450 | 12 | 1400 | 1.24 | 103,00 |
| 8 | 2-08 ОСТ 34-10-729-93 | 4,4 / 450 | 12 | 1600 | 1.48 | 113,00 |
| 9 | 2-09 ОСТ 34-10-729-93 | 4,4 / 450 | 12 | 1800 | 1.6 | 141,00 |
| 10 | 2-10 ОСТ 34-10-729-93 | 4,4 / 450 | 12 | 2000 | 1.78 | 150,00 |
| 11 | 2-11 ОСТ 34-10-729-93 | 4,4 / 450 | 12 | 2200 | 1.95 | 168,00 |
| 12 | 2-12 ОСТ 34-10-729-93 | 4,4 / 450 | 12 | 2400 | 2.13 | 187,00 |
| 13 | 2-13 ОСТ 34-10-729-93 | 4,4 / 450 | 12 | 2600 | 2.31 | 187,00 |
| 14 | 2-14 ОСТ 34-10-729-93 | 4,4 / 450 | 12 | 2800 | 2.49 | 187,00 |
| 15 | 2-15 ОСТ 34-10-729-93 | 4,4 / 450 | 12 | 3000 | 2.66 | 197,00 |
| 16 | 2-16 ОСТ 34-10-729-93 | 4,4 / 450 | 12 | 3200 | 2.84 | 206,00 |
| 17 | 2-17 ОСТ 34-10-729-93 | 4,4 / 450 | 12 | 3400 | 3.02 | 215,00 |
| 18 | 2-18 ОСТ 34-10-729-93 | 4,4 / 450 | 12 | 3600 | 3.2 | 225,00 |
| 19 | 2-19 ОСТ 34-10-729-93 | 4,4 / 450 | 12 | 3800 | 3.37 | 234,00 |
| 20 | 2-20 ОСТ 34-10-729-93 | 4,4 / 450 | 12 | 4000 | 3.55 | 253,00 |
| 21 | 2-21 ОСТ 34-10-729-93 | 4,4 / 450 | 12 | 4200 | 3.73 | 262,00 |
| 22 | 2-22 ОСТ 34-10-729-93 | 4,4 / 450 | 12 | 4400 | 3.91 | 281,00 |
| 23 | 2-23 ОСТ 34-10-729-93 | 4,4 / 450 | 12 | 4600 | 4.08 | 290,00 |
| 24 | 2-24 ОСТ 34-10-729-93 | 4,4 / 450 | 12 | 4800 | 4.26 | 300,00 |
| 25 | 2-25 ОСТ 34-10-729-93 | 4,4 / 450 | 12 | 5000 | 4.44 | 318,00 |
| 26 | 2-26 ОСТ 34-10-729-93 | 4,4 / 450 | 12 | 5200 | 4.62 | 328,00 |
| 27 | 2-27 ОСТ 34-10-729-93 | 4,4 / 450 | 12 | 5400 | 4.8 | 337,00 |
| 28 | 2-28 ОСТ 34-10-729-93 | 4,4 / 450 | 12 | 5600 | 4.97 | 356,00 |
| 29 | 2-29 ОСТ 34-10-729-93 | 4,4 / 450 | 12 | 5800 | 5.15 | 365,00 |
| 30 | 2-30 ОСТ 34-10-729-93 | 4,4 / 450 | 12 | 6000 | 5.33 | 374,00 |
| 31 | 2-31 ОСТ 34-10-729-93 | 14,7 / 1500 | 16 | 200 | 0.31 | 28,00 |
| 32 | 2-32 ОСТ 34-10-729-93 | 14,7 / 1500 | 16 | 400 | 0.63 | 56,00 |
| 33 | 2-33 ОСТ 34-10-729-93 | 14,7 / 1500 | 16 | 600 | 0.94 | 85,00 |
| 34 | 2-34 ОСТ 34-10-729-93 | 14,7 / 1500 | 16 | 800 | 1.26 | 103,00 |
| 35 | 2-35 ОСТ 34-10-729-93 | 14,7 / 1500 | 16 | 1000 | 1.57 | 141,00 |
| 36 | 2-36 ОСТ 34-10-729-93 | 14,7 / 1500 | 16 | 1200 | 1.89 | 150,00 |
| 37 | 2-37 ОСТ 34-10-729-93 | 14,7 / 1500 | 16 | 1400 | 2.21 | 187,00 |
| 38 | 2-38 ОСТ 34-10-729-93 | 14,7 / 1500 | 16 | 1600 | 2.52 | 197,00 |
| 39 | 2-39 ОСТ 34-10-729-93 | 14,7 / 1500 | 16 | 1800 | 2.84 | 206,00 |
| 40 | 2-40 ОСТ 34-10-729-93 | 14,7 / 1500 | 16 | 2000 | 3.16 | 225,00 |
| 41 | 2-41 ОСТ 34-10-729-93 | 14,7 / 1500 | 16 | 2200 | 3.47 | 253,00 |
| 42 | 2-42 ОСТ 34-10-729-93 | 14,7 / 1500 | 16 | 2400 | 3.79 | 262,00 |
| 43 | 2-43 ОСТ 34-10-729-93 | 14,7 / 1500 | 16 | 2600 | 4.1 | 290,00 |
| 44 | 2-44 ОСТ 34-10-729-93 | 14,7 / 1500 | 16 | 2800 | 4.42 | 318,00 |
| 45 | 2-45 ОСТ 34-10-729-93 | 14,7 / 1500 | 16 | 3000 | 4.73 | 337,00 |
| 46 | 2-46 ОСТ 34-10-729-93 | 14,7 / 1500 | 16 | 3200 | 5.05 | 365,00 |
| 47 | 2-47 ОСТ 34-10-729-93 | 14,7 / 1500 | 16 | 3400 | 5.37 | 374,00 |
| 48 | 2-48 ОСТ 34-10-729-93 | 14,7 / 1500 | 16 | 3600 | 5.68 | 393,00 |
| 49 | 2-49 ОСТ 34-10-729-93 | 14,7 / 1500 | 16 | 3800 | 6.0 | 421,00 |
| 50 | 2-50 ОСТ 34-10-729-93 | 14,7 / 1500 | 16 | 4000 | 6.31 | 440,00 |
| 51 | 2-51 ОСТ 34-10-729-93 | 14,7 / 1500 | 16 | 4200 | 6.63 | 468,00 |
| 52 | 2-52 ОСТ 34-10-729-93 | 14,7 / 1500 | 16 | 4400 | 6.94 | 486,00 |
| 53 | 2-53 ОСТ 34-10-729-93 | 14,7 / 1500 | 16 | 4600 | 7.26 | 505,00 |
| 54 | 2-54 ОСТ 34-10-729-93 | 14,7 / 1500 | 16 | 4800 | 7.57 | 524,00 |
| 55 | 2-55 ОСТ 34-10-729-93 | 14,7 / 1500 | 16 | 5000 | 7.89 | 552,00 |
| 56 | 2-56 ОСТ 34-10-729-93 | 14,7 / 1500 | 16 | 5200 | 8.21 | 571,00 |
| 57 | 2-57 ОСТ 34-10-729-93 | 14,7 / 1500 | 16 | 5400 | 8.52 | 589,00 |
| 58 | 2-58 ОСТ 34-10-729-93 | 14,7 / 1500 | 16 | 5600 | 8.84 | 617,00 |
| 59 | 2-59 ОСТ 34-10-729-93 | 14,7 / 1500 | 16 | 5800 | 9.15 | 636,00 |
| 60 | 2-60 ОСТ 34-10-729-93 | 14,7 / 1500 | 16 | 6000 | 9.47 | 664,00 |
| 61 | 2-61 ОСТ 34-10-729-93 | 23,5 / 2400 | 20 | 200 | 0.49 | 47,00 |
| 62 | 2-62 ОСТ 34-10-729-93 | 23,5 / 2400 | 20 | 400 | 0.98 | 85,00 |
| 63 | 2-63 ОСТ 34-10-729-93 | 23,5 / 2400 | 20 | 600 | 1.48 | 131,00 |
| 64 | 2-64 ОСТ 34-10-729-93 | 23,5 / 2400 | 20 | 800 | 1.97 | 169,00 |
| 65 | 2-65 ОСТ 34-10-729-93 | 23,5 / 2400 | 20 | 1000 | 2.46 | 187,00 |
| 66 | 2-66 ОСТ 34-10-729-93 | 23,5 / 2400 | 20 | 1200 | 2.96 | 206,00 |
| 67 | 2-67 ОСТ 34-10-729-93 | 23,5 / 2400 | 20 | 1400 | 3.45 | 234,00 |
| 68 | 2-68 ОСТ 34-10-729-93 | 23,5 / 2400 | 20 | 1600 | 3.95 | 281,00 |
| 69 | 2-69 ОСТ 34-10-729-93 | 23,5 / 2400 | 20 | 1800 | 4.44 | 318,00 |
| 70 | 2-70 ОСТ 34-10-729-93 | 23,5 / 2400 | 20 | 2000 | 4.93 | 356,00 |
| 71 | 2-71 ОСТ 34-10-729-93 | 23,5 / 2400 | 20 | 2200 | 5.43 | 374,00 |
| 72 | 2-72 ОСТ 34-10-729-93 | 23,5 / 2400 | 20 | 2400 | 5.92 | 412,00 |
| 73 | 2-73 ОСТ 34-10-729-93 | 23,5 / 2400 | 20 | 2600 | 6.41 | 440,00 |
| 74 | 2-74 ОСТ 34-10-729-93 | 23,5 / 2400 | 20 | 2800 | 6.9 | 486,00 |
| 75 | 2-75 ОСТ 34-10-729-93 | 23,5 / 2400 | 20 | 3000 | 7.4 | 514,00 |
| 76 | 2-76 ОСТ 34-10-729-93 | 23,5 / 2400 | 20 | 3200 | 7.89 | 552,00 |
| 77 | 2-77 ОСТ 34-10-729-93 | 23,5 / 2400 | 20 | 3400 | 8.38 | 570,00 |
| 78 | 2-78 ОСТ 34-10-729-93 | 23,5 / 2400 | 20 | 3600 | 8.88 | 617,00 |
| 79 | 2-79 ОСТ 34-10-729-93 | 23,5 / 2400 | 20 | 3800 | 9.37 | 655,00 |
| 80 | 2-80 ОСТ 34-10-729-93 | 23,5 / 2400 | 20 | 4000 | 9.86 | 673,00 |
| 81 | 2-81 ОСТ 34-10-729-93 | 23,5 / 2400 | 20 | 4200 | 10.36 | 701,00 |
| 82 | 2-82 ОСТ 34-10-729-93 | 23,5 / 2400 | 20 | 4400 | 10.85 | 729,00 |
| 83 | 2-83 ОСТ 34-10-729-93 | 23,5 / 2400 | 20 | 4600 | 11.34 | 758,00 |
| 84 | 2-84 ОСТ 34-10-729-93 | 23,5 / 2400 | 20 | 4800 | 11.84 | 795,00 |
| 85 | 2-85 ОСТ 34-10-729-93 | 23,5 / 2400 | 20 | 5000 | 12.33 | 823,00 |
| 86 | 2-86 ОСТ 34-10-729-93 | 23,5 / 2400 | 20 | 5200 | 12.83 | 860,00 |
| 87 | 2-87 ОСТ 34-10-729-93 | 23,5 / 2400 | 20 | 5400 | 13.32 | 898,00 |
| 88 | 2-88 ОСТ 34-10-729-93 | 23,5 / 2400 | 20 | 5600 | 13.81 | 926,00 |
| 89 | 2-89 ОСТ 34-10-729-93 | 23,5 / 2400 | 20 | 5800 | 14.3 | 954,00 |
| 90 | 2-90 ОСТ 34-10-729-93 | 23,5 / 2400 | 20 | 6000 | 14.8 | 1000,00 |
| 91 | 2-91 ОСТ 34-10-729-93 | 33,3 / 3400 | 24 | 200 | 0.71 | 66,00 |
| 92 | 2-92 ОСТ 34-10-729-93 | 33,3 / 3400 | 24 | 400 | 1.42 | 131,00 |
| 93 | 2-93 ОСТ 34-10-729-93 | 33,3 / 3400 | 24 | 600 | 2.13 | 187,00 |
| 94 | 2-94 ОСТ 34-10-729-93 | 33,3 / 3400 | 24 | 800 | 2.84 | 206,00 |
| 95 | 2-95 ОСТ 34-10-729-93 | 33,3 / 3400 | 24 | 1000 | 3.55 | 253,00 |
| 96 | 2-96 ОСТ 34-10-729-93 | 33,3 / 3400 | 24 | 1200 | 4.26 | 300,00 |
| 97 | 2-97 ОСТ 34-10-729-93 | 33,3 / 3400 | 24 | 1400 | 4.97 | 346,00 |
| 98 | 2-98 ОСТ 34-10-729-93 | 33,3 / 3400 | 24 | 1600 | 5.68 | 393,00 |
| 99 | 2-99 ОСТ 34-10-729-93 | 33,3 / 3400 | 24 | 1800 | 6.39 | 440,00 |
| 100 | 2-100 ОСТ 34-10-729-93 | 33,3 / 3400 | 24 | 2000 | 7.1 | 505,00 |
| 101 | 2-101 ОСТ 34-10-729-93 | 33,3 / 3400 | 24 | 2200 | 7.81 | 552,00 |
| 102 | 2-102 ОСТ 34-10-729-93 | 33,3 / 3400 | 24 | 2400 | 8.52 | 589,00 |
| 103 | 2-103 ОСТ 34-10-729-93 | 33,3 / 3400 | 24 | 2600 | 9.23 | 645,00 |
| 104 | 2-104 ОСТ 34-10-729-93 | 33,3 / 3400 | 24 | 2800 | 9.94 | 683,00 |
| 105 | 2-105 ОСТ 34-10-729-93 | 33,3 / 3400 | 24 | 3000 | 10.65 | 711,00 |
| 106 | 2-106 ОСТ 34-10-729-93 | 33,3 / 3400 | 24 | 3200 | 11.35 | 758,00 |
| 107 | 2-107 ОСТ 34-10-729-93 | 33,3 / 3400 | 24 | 3400 | 12.07 | 814,00 |
| 108 | 2-108 ОСТ 34-10-729-93 | 33,3 / 3400 | 24 | 3600 | 12.78 | 860,00 |
| 109 | 2-109 ОСТ 34-10-729-93 | 33,3 / 3400 | 24 | 3800 | 13.49 | 898,00 |
| 110 | 2-110 ОСТ 34-10-729-93 | 33,3 / 3400 | 24 | 4000 | 14.2 | 954,00 |
| 111 | 2-111 ОСТ 34-10-729-93 | 33,3 / 3400 | 24 | 4200 | 14.91 | 1019,00 |
| 112 | 2-112 ОСТ 34-10-729-93 | 33,3 / 3400 | 24 | 4400 | 15.62 | 1047,00 |
| 113 | 2-113 ОСТ 34-10-729-93 | 33,3 / 3400 | 24 | 4600 | 16.33 | 1093,00 |
| 114 | 2-114 ОСТ 34-10-729-93 | 33,3 / 3400 | 24 | 4800 | 17.04 | 1150,00 |
| 115 | 2-115 ОСТ 34-10-729-93 | 33,3 / 3400 | 24 | 5000 | 17.76 | 1187,00 |
| 116 | 2-116 ОСТ 34-10-729-93 | 33,3 / 3400 | 24 | 5200 | 18.47 | 1243,00 |
| 117 | 2-117 ОСТ 34-10-729-93 | 33,3 / 3400 | 24 | 5400 | 19.18 | 1262,00 |
| 118 | 2-118 ОСТ 34-10-729-93 | 33,3 / 3400 | 24 | 5600 | 19.89 | 1309,00 |
| 119 | 2-119 ОСТ 34-10-729-93 | 33,3 / 3400 | 24 | 5800 | 20.6 | 1356,00 |
| 120 | 2-120 ОСТ 34-10-729-93 | 33,3 / 3400 | 24 | 6000 | 21.31 | 1393,00 |
| 121 | 2-121 ОСТ 34-10-729-93 | 53,9 / 5500 | 30 | 200 | 1.11 | 103,00 |
| 122 | 2-122 ОСТ 34-10-729-93 | 53,9 / 5500 | 30 | 400 | 2.22 | 187,00 |
| 123 | 2-123 ОСТ 34-10-729-93 | 53,9 / 5500 | 30 | 600 | 3.33 | 253,00 |
| 124 | 2-124 ОСТ 34-10-729-93 | 53,9 / 5500 | 30 | 800 | 4.44 | 318,00 |
| 125 | 2-125 ОСТ 34-10-729-93 | 53,9 / 5500 | 30 | 1000 | 5.55 | 393,00 |
| 126 | 2-126 ОСТ 34-10-729-93 | 53,9 / 5500 | 30 | 1200 | 6.66 | 468,00 |
| 127 | 2-127 ОСТ 34-10-729-93 | 53,9 / 5500 | 30 | 1400 | 7.77 | 533,00 |
| 128 | 2-128 ОСТ 34-10-729-93 | 53,9 / 5500 | 30 | 1600 | 8.88 | 617,00 |
| 129 | 2-129 ОСТ 34-10-729-93 | 53,9 / 5500 | 30 | 1800 | 9.99 | 683,00 |
| 130 | 2-130 ОСТ 34-10-729-93 | 53,9 / 5500 | 30 | 2000 | 11.1 | 758,00 |
| 131 | 2-131 ОСТ 34-10-729-93 | 53,9 / 5500 | 30 | 2200 | 12.21 | 823,00 |
| 132 | 2-132 ОСТ 34-10-729-93 | 53,9 / 5500 | 30 | 2400 | 13.32 | 897,00 |
| 133 | 2-133 ОСТ 34-10-729-93 | 53,9 / 5500 | 30 | 2600 | 14.43 | 1010,00 |
| 134 | 2-134 ОСТ 34-10-729-93 | 53,9 / 5500 | 30 | 2800 | 15.54 | 1047,00 |
| 135 | 2-135 ОСТ 34-10-729-93 | 53,9 / 5500 | 30 | 3000 | 16.65 | 1122,00 |
| 136 | 2-136 ОСТ 34-10-729-93 | 53,9 / 5500 | 30 | 3200 | 17.76 | 1187,00 |
| 137 | 2-137 ОСТ 34-10-729-93 | 53,9 / 5500 | 30 | 3400 | 18.87 | 1309,00 |
| 138 | 2-138 ОСТ 34-10-729-93 | 53,9 / 5500 | 30 | 3600 | 19.98 | 1327,00 |
| 139 | 2-139 ОСТ 34-10-729-93 | 53,9 / 5500 | 30 | 3800 | 21.09 | 1384,00 |
| 140 | 2-140 ОСТ 34-10-729-93 | 53,9 / 5500 | 30 | 4000 | 22.2 | 1449,00 |
| 141 | 2-141 ОСТ 34-10-729-93 | 53,9 / 5500 | 30 | 4200 | 23.31 | 1514,00 |
| 142 | 2-142 ОСТ 34-10-729-93 | 53,9 / 5500 | 30 | 4400 | 24.42 | 1589,00 |
| 143 | 2-143 ОСТ 34-10-729-93 | 53,9 / 5500 | 30 | 4600 | 25.53 | 1664,00 |
| 144 | 2-144 ОСТ 34-10-729-93 | 53,9 / 5500 | 30 | 4800 | 26.64 | 1719,00 |
| 145 | 2-145 ОСТ 34-10-729-93 | 53,9 / 5500 | 30 | 5000 | 27.75 | 1767,00 |
| 146 | 2-146 ОСТ 34-10-729-93 | 53,9 / 5500 | 30 | 5200 | 28.85 | 1842,00 |
| 147 | 2-147 ОСТ 34-10-729-93 | 53,9 / 5500 | 30 | 5400 | 29.96 | 1916,00 |
| 148 | 2-148 ОСТ 34-10-729-93 | 53,9 / 5500 | 30 | 5600 | 31.07 | 1982,00 |
| 149 | 2-149 ОСТ 34-10-729-93 | 53,9 / 5500 | 30 | 5800 | 32.18 | 2047,00 |
| 150 | 2-150 ОСТ 34-10-729-93 | 53,9 / 5500 | 30 | 6000 | 33.29 | 2103,00 |
| 151 | 2-151 ОСТ 34-10-729-93 | 78,4 / 8000 | 36 | 200 | 1.59 | 141,00 |
| 152 | 2-152 ОСТ 34-10-729-93 | 78,4 / 8000 | 36 | 400 | 3.19 | 225,00 |
| 153 | 2-153 ОСТ 34-10-729-93 | 78,4 / 8000 | 36 | 600 | 4.79 | 337,00 |
| 154 | 2-154 ОСТ 34-10-729-93 | 78,4 / 8000 | 36 | 800 | 6.39 | 440,00 |
| 155 | 2-155 ОСТ 34-10-729-93 | 78,4 / 8000 | 36 | 1000 | 7.99 | 552,00 |
| 156 | 2-156 ОСТ 34-10-729-93 | 78,4 / 8000 | 36 | 1200 | 9.59 | 673,00 |
| 157 | 2-157 ОСТ 34-10-729-93 | 78,4 / 8000 | 36 | 1400 | 11.19 | 758,00 |
| 158 | 2-158 ОСТ 34-10-729-93 | 78,4 / 8000 | 36 | 1600 | 12.78 | 860,00 |
| 159 | 2-159 ОСТ 34-10-729-93 | 78,4 / 8000 | 36 | 1800 | 14.38 | 982,00 |
| 160 | 2-160 ОСТ 34-10-729-93 | 78,4 / 8000 | 36 | 2000 | 15.98 | 1029,00 |
| 161 | 2-161 ОСТ 34-10-729-93 | 78,4 / 8000 | 36 | 2200 | 17.58 | 1169,00 |
| 162 | 2-162 ОСТ 34-10-729-93 | 78,4 / 8000 | 36 | 2400 | 19.18 | 1262,00 |
| 163 | 2-163 ОСТ 34-10-729-93 | 78,4 / 8000 | 36 | 2600 | 20.77 | 1356,00 |
| 164 | 2-164 ОСТ 34-10-729-93 | 78,4 / 8000 | 36 | 2800 | 22.37 | 1458,00 |
| 165 | 2-165 ОСТ 34-10-729-93 | 78,4 / 8000 | 36 | 3000 | 23.97 | 1533,00 |
| 166 | 2-166 ОСТ 34-10-729-93 | 78,4 / 8000 | 36 | 3200 | 25.57 | 1664,00 |
| 167 | 2-167 ОСТ 34-10-729-93 | 78,4 / 8000 | 36 | 3400 | 27.17 | 1729,00 |
| 168 | 2-168 ОСТ 34-10-729-93 | 78,4 / 8000 | 36 | 3600 | 28.76 | 1832,00 |
| 169 | 2-169 ОСТ 34-10-729-93 | 78,4 / 8000 | 36 | 3800 | 30.36 | 1935,00 |
| 170 | 2-170 ОСТ 34-10-729-93 | 78,4 / 8000 | 36 | 4000 | 31.96 | 2029,00 |
| 171 | 2-171 ОСТ 34-10-729-93 | 78,4 / 8000 | 36 | 4200 | 33.56 | 2113,00 |
| 172 | 2-172 ОСТ 34-10-729-93 | 78,4 / 8000 | 36 | 4400 | 35.16 | 2197,00 |
| 173 | 2-173 ОСТ 34-10-729-93 | 78,4 / 8000 | 36 | 4600 | 36.75 | 2290,00 |
| 174 | 2-174 ОСТ 34-10-729-93 | 78,4 / 8000 | 36 | 4800 | 38.35 | 2393,00 |
| 175 | 2-175 ОСТ 34-10-729-93 | 78,4 / 8000 | 36 | 5000 | 39.95 | 2495,00 |
| 176 | 2-176 ОСТ 34-10-729-93 | 78,4 / 8000 | 36 | 5200 | 41.55 | 2599,00 |
| 177 | 2-177 ОСТ 34-10-729-93 | 78,4 / 8000 | 36 | 5400 | 43.15 | 2701,00 |
| 178 | 2-178 ОСТ 34-10-729-93 | 78,4 / 8000 | 36 | 5600 | 44.74 | 2720,00 |
| 179 | 2-179 ОСТ 34-10-729-93 | 78,4 / 8000 | 36 | 5800 | 46.34 | 2842,00 |
| 180 | 2-180 ОСТ 34-10-729-93 | 78,4 / 8000 | 36 | 6000 | 47.94 | 2898,00 |
| 181 | 2-181 ОСТ 34-10-729-93 | 107,9 / 11000 | 42 | 200 | 2.18 | 197,00 |
| 182 | 2-182 ОСТ 34-10-729-93 | 107,9 / 11000 | 42 | 400 | 4.35 | 328,00 |
| 183 | 2-183 ОСТ 34-10-729-93 | 107,9 / 11000 | 42 | 600 | 6.52 | 449,00 |
| 184 | 2-184 ОСТ 34-10-729-93 | 107,9 / 11000 | 42 | 800 | 8.7 | 608,00 |
| 185 | 2-185 ОСТ 34-10-729-93 | 107,9 / 11000 | 42 | 1000 | 10.87 | 720,00 |
| 186 | 2-186 ОСТ 34-10-729-93 | 107,9 / 11000 | 42 | 1200 | 13.05 | 888,00 |
| 187 | 2-187 ОСТ 34-10-729-93 | 107,9 / 11000 | 42 | 1400 | 15.23 | 1029,00 |
| 188 | 2-188 ОСТ 34-10-729-93 | 107,9 / 11000 | 42 | 1600 | 17.4 | 1169,00 |
| 189 | 2-189 ОСТ 34-10-729-93 | 107,9 / 11000 | 42 | 1800 | 19.58 | 1309,00 |
| 190 | 2-190 ОСТ 34-10-729-93 | 107,9 / 11000 | 42 | 2000 | 21.75 | 1412,00 |
| 191 | 2-191 ОСТ 34-10-729-93 | 107,9 / 11000 | 42 | 2200 | 23.93 | 1533,00 |
| 192 | 2-192 ОСТ 34-10-729-93 | 107,9 / 11000 | 42 | 2400 | 26.1 | 1701,00 |
| 193 | 2-193 ОСТ 34-10-729-93 | 107,9 / 11000 | 42 | 2600 | 28.28 | 1823,00 |
| 194 | 2-194 ОСТ 34-10-729-93 | 107,9 / 11000 | 42 | 2800 | 30.45 | 1944,00 |
| 195 | 2-195 ОСТ 34-10-729-93 | 107,9 / 11000 | 42 | 3000 | 32.63 | 2066,00 |
| 196 | 2-196 ОСТ 34-10-729-93 | 107,9 / 11000 | 42 | 3200 | 34.8 | 2197,00 |
| 197 | 2-197 ОСТ 34-10-729-93 | 107,9 / 11000 | 42 | 3400 | 36.98 | 2309,00 |
| 198 | 2-198 ОСТ 34-10-729-93 | 107,9 / 11000 | 42 | 3600 | 39.15 | 2430,00 |
| 199 | 2-199 ОСТ 34-10-729-93 | 107,9 / 11000 | 42 | 3800 | 41.33 | 2589,00 |
| 200 | 2-200 ОСТ 34-10-729-93 | 107,9 / 11000 | 42 | 4000 | 43.5 | 2636,00 |
| 201 | 2-201 ОСТ 34-10-729-93 | 107,9 / 11000 | 42 | 4200 | 45.68 | 2711,00 |
| 202 | 2-202 ОСТ 34-10-729-93 | 107,9 / 11000 | 42 | 4400 | 47.85 | 2748,00 |
| 203 | 2-203 ОСТ 34-10-729-93 | 107,9 / 11000 | 42 | 4600 | 50.03 | 2888,00 |
| 204 | 2-204 ОСТ 34-10-729-93 | 107,9 / 11000 | 42 | 4800 | 52.2 | 2963,00 |
| 205 | 2-205 ОСТ 34-10-729-93 | 107,9 / 11000 | 42 | 5000 | 54.38 | 3010,00 |
| 206 | 2-206 ОСТ 34-10-729-93 | 107,9 / 11000 | 42 | 5200 | 56.56 | 3328,00 |
| 207 | 2-207 ОСТ 34-10-729-93 | 107,9 / 11000 | 42 | 5400 | 58.73 | 3384,00 |
| 208 | 2-208 ОСТ 34-10-729-93 | 107,9 / 11000 | 42 | 5600 | 60.91 | 3580,00 |
| 209 | 2-209 ОСТ 34-10-729-93 | 107,9 / 11000 | 42 | 5800 | 63.08 | 3655,00 |
| 210 | 2-210 ОСТ 34-10-729-93 | 107,9 / 11000 | 42 | 6000 | 65.26 | 3776,00 |
| 211 | 2-211 ОСТ 34-10-729-93 | 147,1 / 15000 | 48 | 400 | 5.68 | 402,00 |
| 212 | 2-212 ОСТ 34-10-729-93 | 147,1 / 15000 | 48 | 2000 | 28.41 | 1832,00 |
| 213 | 2-213 ОСТ 34-10-729-93 | 147,1 / 15000 | 48 | 2200 | 31.25 | 1982,00 |
| 214 | 2-214 ОСТ 34-10-729-93 | 147,1 / 15000 | 48 | 2400 | 34.09 | 2131,00 |
| 215 | 2-215 ОСТ 34-10-729-93 | 147,1 / 15000 | 48 | 2600 | 36.93 | 2290,00 |
| 216 | 2-216 ОСТ 34-10-729-93 | 147,1 / 15000 | 48 | 2800 | 37.77 | 2374,00 |
| 217 | 2-216 ОСТ 34-10-729-93 | 147,1 / 15000 | 48 | 2800 | 37.77 | 2374,00 |
| 218 | 2-218 ОСТ 34-10-729-93 | 147,1 / 15000 | 48 | 3000 | 42.62 | 2430,00 |
| 219 | 2-219 ОСТ 34-10-729-93 | 147,1 / 15000 | 48 | 3200 | 45.46 | 2543,00 |
| 220 | 2-220 ОСТ 34-10-729-93 | 147,1 / 15000 | 48 | 3400 | 48.3 | 2758,00 |
| 221 | 2-221 ОСТ 34-10-729-93 | 147,1 / 15000 | 48 | 3600 | 51.14 | 2860,00 |
| 222 | 2-222 ОСТ 34-10-729-93 | 147,1 / 15000 | 48 | 3800 | 53.98 | 2991,00 |
| 223 | 2-223 ОСТ 34-10-729-93 | 147,1 / 15000 | 48 | 4000 | 56.82 | 3187,00 |
| 224 | 2-224 ОСТ 34-10-729-93 | 147,1 / 15000 | 48 | 4200 | 59.66 | 3346,00 |
| 225 | 2-225 ОСТ 34-10-729-93 | 147,1 / 15000 | 48 | 4400 | 62.5 | 3505,00 |
| 226 | 2-226 ОСТ 34-10-729-93 | 147,1 / 15000 | 48 | 4600 | 65.34 | 3664,00 |
| 227 | 2-227 ОСТ 34-10-729-93 | 147,1 / 15000 | 48 | 4800 | 68.18 | 3823,00 |
| 228 | 2-228 ОСТ 34-10-729-93 | 147,1 / 15000 | 48 | 5000 | 71.03 | 3982,00 |
| 229 | 2-229 ОСТ 34-10-729-93 | 147,1 / 15000 | 48 | 5200 | 73.87 | 4066,00 |
| 230 | 2-230 ОСТ 34-10-729-93 | 147,1 / 15000 | 48 | 5400 | 76.71 | 4187,00 |
| 231 | 2-231 ОСТ 34-10-729-93 | 147,1 / 15000 | 48 | 5600 | 79.55 | 4384,00 |
| 232 | 2-232 ОСТ 34-10-729-93 | 147,1 / 15000 | 48 | 5800 | 82.39 | 4543,00 |
| 233 | 2-233 ОСТ 34-10-729-93 | 147,1 / 15000 | 48 | 6000 | 85.23 | 4692,00 |
| 234 | 2-234 ОСТ 34-10-729-93 | 196,1 / 20000 | 56 | 400 | 7.73 | 552,00 |
| 235 | 2-235 ОСТ 34-10-729-93 | 196,1 / 20000 | 56 | 2000 | 38.67 | 2373,00 |
| 236 | 2-236 ОСТ 34-10-729-93 | 196,1 / 20000 | 56 | 2200 | 42.54 | 2430,00 |
| 237 | 2-237 ОСТ 34-10-729-93 | 196,1 / 20000 | 56 | 2400 | 46.4 | 2776,00 |
| 238 | 2-238 ОСТ 34-10-729-93 | 196,1 / 20000 | 56 | 2600 | 50.27 | 2898,00 |
| 239 | 2-239 ОСТ 34-10-729-93 | 196,1 / 20000 | 56 | 2800 | 50.27 | 2898,00 |
| 240 | 2-240 ОСТ 34-10-729-93 | 196,1 / 20000 | 56 | 2800 | 54.14 | 2982,00 |
| 241 | 2-241 ОСТ 34-10-729-93 | 196,1 / 20000 | 56 | 3000 | 58.01 | 3290,00 |
| 242 | 2-242 ОСТ 34-10-729-93 | 196,1 / 20000 | 56 | 3200 | 51.87 | 3533,00 |
| 243 | 2-243 ОСТ 34-10-729-93 | 196,1 / 20000 | 56 | 3400 | 55.74 | 3664,00 |
| 244 | 2-244 ОСТ 34-10-729-93 | 196,1 / 20000 | 56 | 3600 | 59.51 | 3842,00 |
| 245 | 2-245 ОСТ 34-10-729-93 | 196,1 / 20000 | 56 | 3800 | 73.47 | 4066,00 |
| 246 | 2-246 ОСТ 34-10-729-93 | 196,1 / 20000 | 56 | 4000 | 77.34 | 4197,00 |
| 247 | 2-247 ОСТ 34-10-729-93 | 196,1 / 20000 | 56 | 4200 | 81.71 | 4486,00 |
| 248 | 2-248 ОСТ 34-10-729-93 | 196,1 / 20000 | 56 | 4400 | 85.07 | 4683,00 |
| 249 | 2-249 ОСТ 34-10-729-93 | 196,1 / 20000 | 56 | 4600 | 88.94 | 4851,00 |
| 250 | 2-250 ОСТ 34-10-729-93 | 196,1 / 20000 | 56 | 4800 | 92.81 | 5019,00 |
| 251 | 2-251 ОСТ 34-10-729-93 | 196,1 / 20000 | 56 | 5000 | 96.68 | 5225,00 |
| 252 | 2-252 ОСТ 34-10-729-93 | 196,1 / 20000 | 56 | 5200 | 100.5 | 5402,00 |
| 253 | 2-253 ОСТ 34-10-729-93 | 196,1 / 20000 | 56 | 5400 | 104.4 | 5580,00 |
| 254 | 2-254 ОСТ 34-10-729-93 | 196,1 / 20000 | 56 | 5600 | 108.3 | 5870,00 |
| 255 | 2-255 ОСТ 34-10-729-93 | 196,1 / 20000 | 56 | 5800 | 112.1 | 6085,00 |
| 256 | 2-256 ОСТ 34-10-729-93 | 196,1 / 20000 | 56 | 6000 | 116.0 | 6393,00 |
Цены на блок подвески с серьгой ОСТ 34-10-730-93
| № | Наименование | Допускаемая нагрузка, кН | Высота изделия, мм | Масса изделия, кг | Стоимость за ед. руб. | |||
| 1 | 01 ОСТ 34-10-730-93 | 4,4 | 875 | 2.0 | 467,00 | 467,29 | 500,00 | |
| 2 | 02 ОСТ 34-10-730-93 | 4,4 | 1 175 | 1.0 | 196,00 | 196,26 | 210,00 | |
| 3 | 03 ОСТ 34-10-730-93 | 14,7 | 885 | 4.0 | 934,00 | 934,58 | 1 000,00 | |
| 4 | 04 ОСТ 34-10-730-93 | 14,7 | 1 180 | 3.0 | 588,00 | 588,79 | 630,00 | |
| 5 | 05 ОСТ 34-10-730-93 | 23,5 | 930 | 6.0 | 1 401,00 | 1401,87 | 1 500,00 | |
| 6 | 06 ОСТ 34-10-730-93 | 23,5 | 1 220 | 5.0 | 981,00 | 981,31 | 1 050,00 | |
| 7 | 07 ОСТ 34-10-730-93 | 33,3 | 935 | 9.0 | 2 018,00 | 2018,69 | 2 160,00 | |
| 8 | 08 ОСТ 34-10-730-93 | 33,3 | 1 225 | 7.0 | 1 299,00 | 1299,07 | 1 390,00 |
Цены на блок подвески с плавником ОСТ 34-10-731-93
| № | Наименование | Допускаемая нагрузка, кН | Высота изделия, мм | Масса изделия, кг. | Стоимость за ед. руб. | |||
| 1 | 01 ОСТ 34-10-731-93 | 4,4 | 860 | 3.0 | 700,00 | 700,93 | 750,00 | |
| 2 | 02 ОСТ 34-10-731-93 | 4,4 | 1 160 | 2.0 | 392,00 | 392,52 | 420,00 | |
| 3 | 03 ОСТ 34-10-731-93 | 14,7 | 960 | 7.0 | 1 635,00 | 1635,51 | 1 750,00 | |
| 4 | 04 ОСТ 34-10-731-93 | 14,7 | 1 255 | 6.0 | 1 177,00 | 1177,57 | 1 260,00 | |
| 5 | 05 ОСТ 34-10-731-93 | 23,5 | 1 020 | 12.0 | 2 691,00 | 2691,59 | 2 880,00 | |
| 6 | 06 ОСТ 34-10-731-93 | 23,5 | 1 310 | 11.0 | 2 056,00 | 2056,07 | 2 200,00 |
Цены на блок подвески с траверсой ОСТ 34-10-732-93
| № | Наименование | Допускаемая нагрузка, кН | Высота изделия, мм | Масса изделия, кг | Стоимость за ед. руб. |
| 1 | 01 ОСТ 34-10-732-93 | 4,4 | 1 025 | 2.6 | 607,00 |
| 2 | 02 ОСТ 34-10-732-93 | 14,7 | 1 025 | 2.9 | 672,00 |
| 3 | 03 ОСТ 34-10-732-93 | 23,5 | 1 030 | 5.4 | 1 205,00 |
| 4 | 04 ОСТ 34-10-732-93 | 33,3 | 1 040 | 8.8 | 1 962,00 |
| 5 | 05 ОСТ 34-10-732-93 | 53,9 | 1 045 | 12.8 | 2 747,00 |
| 6 | 06 ОСТ 34-10-732-93 | 78,4 | 1 055 | 20.0 | 4 112,00 |
Цены на броушина с накладкой ОСТ 34-10-733-93
| № | Наименование | Допускаемая нагрузка, кгс | Диаметр Дн, мм | Длина проушин, мм | Масса проушин, кг | Стоимость за ед. руб. |
| 1 | 57У-01 ОСТ 34-10-733-93 | 90 | 57 | 150 | 0.91 | 131,00 |
| 2 | 57К-02 ОСТ 34-10-733-93 | 90 | 57 | 150 | 0.91 | 421,00 |
| 3 | 76У-03 ОСТ 34-10-733-93 | 150 | 76 | 150 | 0.98 | 141,00 |
| 4 | 76К-04 ОСТ 34-10-733-93 | 150 | 76 | 150 | 0.98 | 449,00 |
| 5 | 89У-05 ОСТ 34-10-733-93 | 200 | 89 | 150 | 0.98 | 141,00 |
| 6 | 89К-06 ОСТ 34-10-733-93 | 200 | 89 | 150 | 0.98 | 449,00 |
| 7 | 108У-07 ОСТ 34-10-733-93 | 300 | 108 | 150 | 1.04 | 150,00 |
| 8 | 108К-08 ОСТ 34-10-733-93 | 300 | 108 | 150 | 1.04 | 515,00 |
| 9 | 133У-09 ОСТ 34-10-733-93 | 390 | 133 | 150 | 1.08 | 159,00 |
| 10 | 133К-10 ОСТ 34-10-733-93 | 390 | 133 | 150 | 1.08 | 552,00 |
| 11 | 159У-11 ОСТ 34-10-733-93 | 550 | 159 | 200 | 2.75 | 328,00 |
| 12 | 159К-12 ОСТ 34-10-733-93 | 550 | 159 | 200 | 2.75 | 1 300,00 |
| 13 | 219У-13 ОСТ 34-10-733-93 | 1200 | 219 | 300 | 3.7 | 468,00 |
| 14 | 219К-14 ОСТ 34-10-733-93 | 1200 | 219 | 300 | 3.7 | 1 720,00 |
| 15 | 273У-15 ОСТ 34-10-733-93 | 1850 | 273 | 300 | 4.4 | 571,00 |
| 16 | 273К-16 ОСТ 34-10-733-93 | 1850 | 273 | 300 | 4.4 | 2 057,00 |
| 17 | 325У-17 ОСТ 34-10-733-93 | 2400 | 325 | 300 | 4.4 | 571,00 |
| 18 | 325К-18 ОСТ 34-10-733-93 | 2400 | 325 | 300 | 4.4 | 2 057,00 |
| 19 | 377У-19 ОСТ 34-10-733-93 | 2900 | 377 | 350 | 9.2 | 1 029,00 |
| 20 | 377К-20 ОСТ 34-10-733-93 | 2900 | 377 | 350 | 9.2 | 3 879,00 |
| 21 | 426У-21 ОСТ 34-10-733-93 | 3450 | 426 | 350 | 10.7 | 1 169,00 |
| 22 | 426К-22 ОСТ 34-10-733-93 | 3450 | 426 | 350 | 10.7 | 4 496,00 |
| 23 | 478У-23 ОСТ 34-10-733-93 | 3450 | 478 | 350 | 10.7 | 1 169,00 |
| 24 | 478К-24 ОСТ 34-10-733-93 | 3450 | 478 | 350 | 10.7 | 4 496,00 |
| 25 | 530У-25 ОСТ 34-10-733-93 | 4700 | 530 | 350 | 10.7 | 1 169,00 |
| 26 | 530К-26 ОСТ 34-10-733-93 | 4700 | 530 | 350 | 10.7 | 4 496,00 |
| 27 | 630У-27 ОСТ 34-10-733-93 | 5500 | 630 | 400 | 15.29 | 1 700,00 |
| 28 | 630К-28 ОСТ 34-10-733-93 | 5500 | 630 | 400 | 15.29 | 5 700,00 |
Цены на проушина по ОСТ 34-10-733-93
| № | Наименование | Для тяг диамет-ром | Допускаемая нагрузка, кН (кгс) | Ширина поушины, мм | Высота проушины, мм | Масса проушины, кг | Стоимость проушины за ед. руб. |
| 1 | 1-01 ОСТ 34-10-733-93 | 12 | 4,4 (450) | 100 | 155 | 0.8 | 113,00 |
| 2 | 1-02 ОСТ 34-10-733-93 | 16 | 14,7 (1500) | 150 | 175 | 2.2 | 243,00 |
| 3 | 1-03 ОСТ 34-10-733-93 | 20 | 23,5 (2400) | 150 | 170 | 2.9 | 328,00 |
| 4 | 1-04 ОСТ 34-10-733-93 | 24 | 33,3 (3400) | 250 | 195 | 6.5 | 664,00 |
| 5 | 1-05 ОСТ 34-10-733-93 | 24 | 33,3 (3400) | 250 | 265 | 9.8 | 982,00 |
| 6 | 1-06 ОСТ 34-10-733-93 | 30 | 53,9 (5500) | 250 | 185 | 6.5 | 664,00 |
| 7 | 1-07 ОСТ 34-10-733-93 | 30 | 53,9 (5500) | 250 | 255 | 9.7 | 982,00 |
| 8 | 1-08 ОСТ 34-10-733-93 | 36 | 78,4 (8000) | 250 | 175 | 7.9 | 804,00 |
| 9 | 1-09 ОСТ 34-10-733-93 | 36 | 78,4 (8000) | 300 | 365 | 20.7 | 1 748,00 |
| 10 | 1-10 ОСТ 34-10-733-93 | 42 | 107,9(11000) | 250 | 165 | 7.8 | 804,00 |
| 11 | 1-11 ОСТ 34-10-733-93 | 42 | 107,9(11000) | 300 | 355 | 20.9 | 1 767,00 |
| 12 | 1-12 ОСТ 34-10-733-93 | 48 | 147,1 (15000) | 300 | 160 | 11.5 | 1 178,00 |
| 13 | 1-13 ОСТ 34-10-733-93 | 48 | 147,1 (15000) | 300 | 350 | 26.1 | 2 197,00 |
| 14 | 1-14 ОСТ 34-10-733-93 | 56 | 196,1 (20000) | 300 | 145 | 11.1 | 1 159,00 |
| 15 | 1-15 ОСТ 34-10-733-93 | 56 | 196,1 (20000) | 300 | 415 | 29.6 | 2 486,00 |
Цены на накладка по ОСТ 34-10-733-93
| № | Наименование | Диаметр Дн, мм | Радиус | Длинна накладки, мм | Масса накладки, кг | Стоимость накладки за ед. руб. |
| 1 | 2-01 ОСТ 34-10-733-93 | 57 | 29 | 150 | 0.1 | 47,00 |
| 2 | 2-02 ОСТ 34-10-733-93 | 57 | 29 | 150 | 0.1 | 103,00 |
| 3 | 2-03 ОСТ 34-10-733-93 | 57 | 29 | 200 | 0.12 | 47,00 |
| 4 | 2-04 ОСТ 34-10-733-93 | 57 | 29 | 200 | 0.12 | 113,00 |
| 5 | 2-05 ОСТ 34-10-733-93 | 76 | 38 | 150 | 0.19 | 47,00 |
| 6 | 2-06 ОСТ 34-10-733-93 | 76 | 38 | 150 | 0.19 | 141,00 |
| 7 | 2-07 ОСТ 34-10-733-93 | 76 | 38 | 200 | 0.25 | 66,00 |
| 8 | 2-08 ОСТ 34-10-733-93 | 76 | 38 | 200 | 0.25 | 187,00 |
| 9 | 2-09 ОСТ 34-10-733-93 | 89 | 45 | 150 | 0.19 | 47,00 |
| 10 | 2-10 ОСТ 34-10-733-93 | 89 | 45 | 150 | 0.19 | 141,00 |
| 11 | 2-11 ОСТ 34-10-733-93 | 89 | 45 | 200 | 0.25 | 66,00 |
| 12 | 2-12 ОСТ 34-10-733-93 | 89 | 45 | 200 | 0.25 | 187,00 |
| 13 | 2-13 ОСТ 34-10-733-93 | 108 | 55 | 150 | 0.23 | 66,00 |
| 14 | 2-14 ОСТ 34-10-733-93 | 108 | 55 | 150 | 0.23 | 178,00 |
| 15 | 2-15 ОСТ 34-10-733-93 | 108 | 55 | 200 | 0.3 | 75,00 |
| 16 | 2-16 ОСТ 34-10-733-93 | 108 | 55 | 200 | 0.3 | 225,00 |
| 17 | 2-17 ОСТ 34-10-733-93 | 133 | 67 | 150 | 0.35 | 75,00 |
| 18 | 2-18 ОСТ 34-10-733-93 | 133 | 67 | 150 | 0.35 | 262,00 |
| 19 | 2-19 ОСТ 34-10-733-93 | 133 | 67 | 200 | 0.5 | 94,00 |
| 20 | 2-20 ОСТ 34-10-733-93 | 133 | 67 | 200 | 0.5 | 328,00 |
| 21 | 2-21 ОСТ 34-10-733-93 | 159 | 80 | 200 | 0.65 | 94,00 |
| 22 | 2-22 ОСТ 34-10-733-93 | 159 | 80 | 200 | 0.65 | 449,00 |
| 23 | 2-23 ОСТ 34-10-733-93 | 219 | 100 | 300 | 1.9 | 187,00 |
| 24 | 2-24 ОСТ 34-10-733-93 | 219 | 100 | 300 | 1.9 | 888,00 |
| 25 | 2-25 ОСТ 34-10-733-93 | 273 | 138 | 300 | 1.9 | 187,00 |
| 26 | 2-26 ОСТ 34-10-733-93 | 273 | 138 | 300 | 1.9 | 888,00 |
| 27 | 2-27 ОСТ 34-10-733-93 | 325 | 165 | 300 | 1.9 | 187,00 |
| 28 | 2-28 ОСТ 34-10-733-93 | 325 | 165 | 300 | 1.9 | 888,00 |
| 29 | 2-29 ОСТ 34-10-733-93 | 377 | 190 | 300 | 1.9 | 187,00 |
| 30 | 2-30 ОСТ 34-10-733-93 | 377 | 190 | 300 | 1.9 | 888,00 |
| 31 | 2-31 ОСТ 34-10-733-93 | 426 | 215 | 350 | 4.1 | 420,00 |
| 32 | 2-32 ОСТ 34-10-733-93 | 426 | 215 | 350 | 4.1 | 1 748,00 |
| 33 | 2-33 ОСТ 34-10-733-93 | 478 | 242 | 350 | 4.1 | 420,00 |
| 34 | 2-34 ОСТ 34-10-733-93 | 478 | 242 | 350 | 4.1 | 1 748,00 |
| 35 | 2-35 ОСТ 34-10-733-93 | 530 | 266 | 350 | 4.1 | 420,00 |
| 36 | 2-36 ОСТ 34-10-733-93 | 530 | 266 | 350 | 4.1 | 1 748,00 |
| 37 | 2-37 ОСТ 34-10-733-93 | 630 | 316 | 400 | 7.2 | 645,00 |
| 38 | 2-38 ОСТ 34-10-733-93 | 630 | 316 | 400 | 7.2 | 2 991,00 |
| 39 | 2-39 ОСТ 34-10-733-93 | 720 | 362 | 450 | 120.0 | 1 029,00 |
| 40 | 2-40 ОСТ 34-10-733-93 | 720 | 362 | 450 | 120.0 | 4 486,00 |
| 41 | 2-41 ОСТ 34-10-733-93 | 820 | 412 | 450 | 120.0 | 1 029,00 |
| 42 | 2-42 ОСТ 34-10-733-93 | 820 | 412 | 450 | 120.0 | 4 486,00 |
| 43 | 2-43 ОСТ 34-10-733-93 | 920 | 462 | 450 | 150.0 | 1 206,00 |
| 44 | 2-44 ОСТ 34-10-733-93 | 920 | 462 | 450 | 150.0 | 5 515,00 |
| 45 | 2-45 ОСТ 34-10-733-93 | 1020 | 514 | 500 | 160.0 | 1 346,00 |
| 46 | 2-46 ОСТ 34-10-733-93 | 1020 | 514 | 500 | 160.0 | 5 982,00 |
| 47 | 2-47 ОСТ 34-10-733-93 | 1220 | 614 | 550 | 180.0 | 1 486,00 |
| 48 | 2-48 ОСТ 34-10-733-93 | 1220 | 614 | 550 | 180.0 | 6 729,00 |
| 49 | 2-49 ОСТ 34-10-733-93 | 1420 | 714 | 600 | 200.0 | 1 589,00 |
| 50 | 2-50 ОСТ 34-10-733-93 | 1420 | 714 | 600 | 200.0 | 7 010,00 |
| 51 | 2-51 ОСТ 34-10-733-93 | 1620 | 814 | 650 | 250.0 | 1 982,00 |
| 52 | 2-52 ОСТ 34-10-733-93 | 1620 | 814 | 650 | 250.0 | 8 879,00 |
| 53 | 2-53 ОСТ 34-10-733-93 | 1220 | 614 | 550 | 380.0 | 2 851,00 |
| 54 | 2-54 ОСТ 34-10-733-93 | 1220 | 614 | 550 | 380.0 | 12 057,00 |
| 55 | 2-55 ОСТ 34-10-733-93 | 1420 | 714 | 600 | 490.0 | 3 664,00 |
| 56 | 2-56 ОСТ 34-10-733-93 | 1420 | 714 | 600 | 490.0 | 13 926,00 |
| 57 | 2-57 ОСТ 34-10-733-93 | 1620 | 814 | 650 | 600.0 | 4 393,00 |
| 58 | 2-58 ОСТ 34-10-733-93 | 1620 | 814 | 650 | 600.0 | 16 823,00 |
Цены на плавник с накладкой ОСТ 34-10-734-93
| № | Наименование | Допускаемая нагрузка кгс | Диаметр Дн, мм | Ширина плавника с накладкой, мм | Масса плавника с накладкой, кг | Стоимость за ед. в руб. |
| 1 | 57У-01 ОСТ 34-10-734-93 | 45 | 57 | 20 | 1.44 | 197,00 |
| 2 | 57К-02 ОСТ 34-10-734-93 | 45 | 57 | 20 | 1.44 | 925,00 |
| 3 | 76У-03 ОСТ 34-10-734-93 | 75 | 76 | 40 | 1.53 | 215,00 |
| 4 | 76К-04 ОСТ 34-10-734-93 | 75 | 76 | 40 | 1.53 | 1 010,00 |
| 5 | 89У-05 ОСТ 34-10-734-93 | 100 | 89 | 40 | 1.53 | 215,00 |
| 6 | 89К-06 ОСТ 34-10-734-93 | 100 | 89 | 40 | 1.53 | 1 010,00 |
| 7 | 108У-07 ОСТ 34-10-734-93 | 150 | 108 | 50 | 1.6 | 225,00 |
| 8 | 108К-08 ОСТ 34-10-734-93 | 150 | 108 | 50 | 1.6 | 1 029,00 |
| 9 | 133У-09 ОСТ 34-10-734-93 | 200 | 133 | 50 | 1.67 | 234,00 |
| 10 | 133К-10 ОСТ 34-10-734-93 | 200 | 133 | 50 | 1.67 | 1 094,00 |
| 11 | 159У-11 ОСТ 34-10-734-93 | 300 | 159 | 70 | 1.67 | 262,00 |
| 12 | 159К-12 ОСТ 34-10-734-93 | 300 | 159 | 70 | 1.67 | 1 206,00 |
| 13 | 219У-13 ОСТ 34-10-734-93 | 600 | 219 | 100 | 5.35 | 608,00 |
| 14 | 219К-14 ОСТ 34-10-734-93 | 600 | 219 | 100 | 5.35 | 2 430,00 |
| 15 | 273У-15 ОСТ 34-10-734-93 | 900 | 273 | 100 | 5.35 | 608,00 |
| 16 | 273К-16 ОСТ 34-10-734-93 | 900 | 273 | 100 | 5.35 | 2 430,00 |
| 17 | 325У-17 ОСТ 34-10-734-93 | 1200 | 325 | 100 | 5.35 | 608,00 |
| 18 | 325К-18 ОСТ 34-10-734-93 | 1200 | 325 | 100 | 5.35 | 2 430,00 |
| 19 | 377У-19 ОСТ 34-10-734-93 | 1500 | 377 | 100 | 5.8 | 655,00 |
| 20 | 377К-20 ОСТ 34-10-734-93 | 1500 | 377 | 100 | 5.8 | 2 710,00 |
| 21 | 426У-21 ОСТ 34-10-734-93 | 1800 | 426 | 150 | 11.7 | 1 075,00 |
| 22 | 426К-22 ОСТ 34-10-734-93 | 1800 | 426 | 150 | 11.7 | 4 860,00 |
| 23 | 530У-25 ОСТ 34-10-734-93 | 2400 | 530 | 150 | 11.7 | 1 075,00 |
| 24 | 530К-26 ОСТ 34-10-734-93 | 2400 | 530 | 150 | 11.7 | 4 860,00 |
| 25 | 630У-27 ОСТ 34-10-734-93 | 2400 | 630 | 230 | 150.0 | 1 337,00 |
| 26 | 630К-28 ОСТ 34-10-734-93 | 2400 | 630 | 230 | 150.0 | 5 515,00 |
Цены на плавник по ОСТ 34-10-734-93
| № | Наименование | Для тяг диамет-ром | Допускаемая нагрузка кН (кгс) | Длинна плавника, мм | Высота плавника, мм | Масса плавникакг. | Стоимость за ед. в руб. |
| 1 | 1-01 ОСТ 34-10-734-93 | 12 | 4.4/450 | 200 | 150 | 1.29 | 169,00 |
| 2 | 1-02 ОСТ 34-10-734-93 | 16 | 14.7/1500 | 250 | 250 | 3.85 | 533,00 |
| 3 | 1-03 ОСТ 34-10-734-93 | 20 | 23.5/2400 | 300 | 300 | 7.6 | 860,00 |
Цены на хомут для горизонтальных трубопроводов ОСТ 34-10-735-93
| № | Наименование | Допускаемая нагрузка кН | Диаметр Дн,мм | Высота хомутов, мм | Масса хомутов, кг. | Стоимость за ед. в руб. |
| 1 | 57У-01 ОСТ 34-10-735-93 | 0,9 | 57 | 140 | 0.4 | 103,00 |
| 2 | 57К-02 ОСТ 34-10-735-93 | 0,9 | 57 | 140 | 0.4 | 169,00 |
| 3 | 76У-03 ОСТ 34-10-735-93 | 1,5 | 76 | 160 | 0.5 | 131,00 |
| 4 | 76К-04 ОСТ 34-10-735-93 | 1,5 | 76 | 160 | 0.5 | 206,00 |
| 5 | 89У-05 ОСТ 34-10-735-93 | 2 | 89 | 180 | 0.52 | 136,00 |
| 6 | 89К-06 ОСТ 34-10-735-93 | 2 | 89 | 180 | 0.52 | 220,00 |
| 7 | 108У-07 ОСТ 34-10-735-93 | 2,9 | 108 | 200 | 0.74 | 197,00 |
| 8 | 108К-08 ОСТ 34-10-735-93 | 2,9 | 108 | 200 | 0.74 | 309,00 |
| 9 | 133У-09 ОСТ 34-10-735-93 | 3,8 | 133 | 220 | 0.82 | 215,00 |
| 10 | 133К-10 ОСТ 34-10-735-93 | 3,8 | 133 | 220 | 0.82 | 346,00 |
| 11 | 159У-11 ОСТ 34-10-735-93 | 5,4 | 159 | 300 | 2.1 | 495,00 |
| 12 | 159К-12 ОСТ 34-10-735-93 | 5,4 | 159 | 300 | 2.1 | 823,00 |
| 13 | 219У-13 ОСТ 34-10-735-93 | 11,7 | 219 | 360 | 2.66 | 617,00 |
| 14 | 219К-14 ОСТ 34-10-735-93 | 11,7 | 219 | 360 | 2.66 | 1 038,00 |
| 15 | 273У-15 ОСТ 34-10-735-93 | 18,1 | 273 | 430 | 6.5 | 1 458,00 |
| 16 | 273К-16 ОСТ 34-10-735-93 | 18,1 | 273 | 430 | 6.5 | 2 430,00 |
| 17 | 325У-17 ОСТ 34-10-735-93 | 23,5 | 325 | 490 | 7.9 | 1 767,00 |
| 18 | 325К-18 ОСТ 34-10-735-93 | 23,5 | 325 | 490 | 7.9 | 2 944,00 |
| 19 | 377У-19 ОСТ 34-10-735-93 | 28,4 | 377 | 550 | 13.0 | 2 795,00 |
| 20 | 377К-20 ОСТ 34-10-735-93 | 28,4 | 377 | 550 | 13.0 | 4 739,00 |
| 21 | 426У-21 ОСТ 34-10-735-93 | 33,3 | 426 | 600 | 13.8 | 2 963,00 |
| 22 | 426К-22 ОСТ 34-10-735-93 | 33,3 | 426 | 600 | 13.8 | 5 029,00 |
| 23 | 530У-23 ОСТ 34-10-735-93 | 33,3 | 530 | 710 | 16.5 | 3 543,00 |
| 24 | 530К-24 ОСТ 34-10-735-93 | 33,3 | 530 | 710 | 16.5 | 6 010,00 |
Завод «Северозапад» осуществляет доставку продукции по всей России. Мы предоставляем:
- Широкий ассортимент продукции;
- Производство только из сырья высокого качества;
- Доставка в заранее установленные сроки;
- Сохранность целостности изделий при перевозке;
- Профессионально налаженная логистика;
- Доставка как на склад, так и на объект покупателя;
- Доставляем изделия любых габаритов и формы.
Для постоянных клиентов у нас разработана система скидок, которая позволяет вам еще более выгодно сотрудничать с нами. Воспользуйтесь онлайн калькулятором в разделе меню “Доставка”, чтобы узнать стоимость доставки до места назначения.



