Заказать
Наши менеджеры обязательно свяжутся с вами и уточнят условия заказа
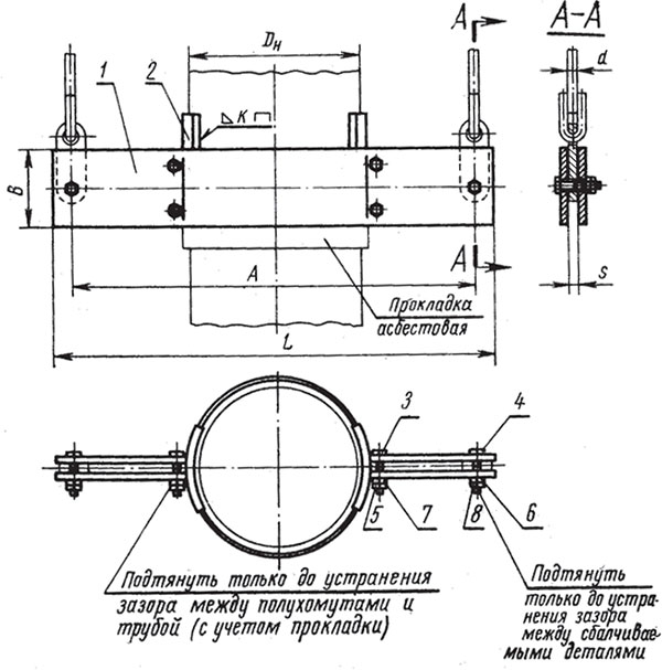
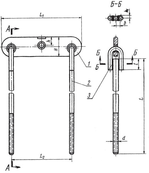
Хомуты подвесок МН 3941-62
Конструкция и размеры
Таблица №1
| Шифр (Dн-Р) | Наружный диаметр трубопровода Dн | Допустимая нагрузка Р, кгс | L | A | B | Вес, кг |
|---|---|---|---|---|---|---|
| 57-200 | 57,6 | 200 | 285 | 200 | 30 | 0,77 |
| 68-300 | 68 | 300 | 275 | 180 | 30 | 0,85 |
| 76-300 | 76 | 300 | 305 | 210 | 30 | 0,92 |
| 83-600 | 83 | 600 | 315 | 200 | 40 | 1,36 |
| 89-300 | 89 | 300 | 345 | 240 | 30 | 1,03 |
| 102-600 | 102 | 600 | 350 | 220 | 40 | 1,50 |
| 108-750 | 108 | 750 | 365 | 235 | 40 | 1,54 |
| 114-750 | 114 | 750 | 390 | 265 | 40 | 1,62 |
| 127-900 | 127 | 900 | 390 | 250 | 50 | 2,00 |
| 133-900 | 133 | 900 | 405 | 260 | 50 | 2,04 |
| 140-900 | 140 | 900 | 415 | 270 | 50 | 2,12 |
| 159-1000 | 159 | 1000 | 430 | 275 | 40 | 1,80 |
| 168-900 | 168 | 900 | 470 | 310 | 50 | 2,42 |
| 180-1500 | 180 | 1500 | 475 | 290 | 80 | 4,50 |
| 194-1000 | 194 | 1000 | 500 | 325 | 50 | 3,03 |
| 194-1500 | 194 | 1500 | 495 | 305 | 80 | 4,70 |
| 219-1000 | 219 | 1000 | 560 | 355 | 50 | 3,25 |
| 219-1500 | 219 | 1500 | 540 | 325 | 80 | 5,13 |
| 245-1000 | 245 | 1000 | 565 | 350 | 50 | 3,38 |
| 245-1500 | 245 | 1500 | 580 | 350 | 80 | 5,51 |
| 273-1500 | 273 | 1500 | 600 | 355 | 80 | 5,73 |
| 273-3200 | 273 | 3200 | 630 | 365 | 90 | 11,55 |
| 299-3400 | 299 | 3400 | 655 | 380 | 90 | 12,23 |
| 325-1800 | 325 | 1800 | 670 | 390 | 80 | 6,65 |
| 325-3400 | 325 | 3400 | 695 | 400 | 90 | 12,87 |
| 377-1800 | 377 | 1800 | 725 | 420 | 80 | 7,31 |
| 377-3400 | 377 | 3400 | 755 | 430 | 90 | 13,97 |
| 426-3200 | 426 | 3200 | 790 | 455 | 90 | 14,60 |
| 426-4500 | 426 | 4500 | 815 | 465 | 90 | 16,34 |
| 465-2400 | 465 | 2400 | 840 | 485 | 80 | 14,12 |
| 465-5000 | 465 | 5000 | 880 | 485 | 100 | 22,46 |
| 480-2400 | 480 | 2400 | 855 | 490 | 80 | 14,40 |
| 480-5500 | 480 | 5500 | 895 | 490 | 100 | 22,88 |
| 530-4000 | 530 | 4000 | 920 | 520 | 80 | 15,88 |
| 530-5500 | 530 | 5500 | 950 | 520 | 100 | 24,32 |
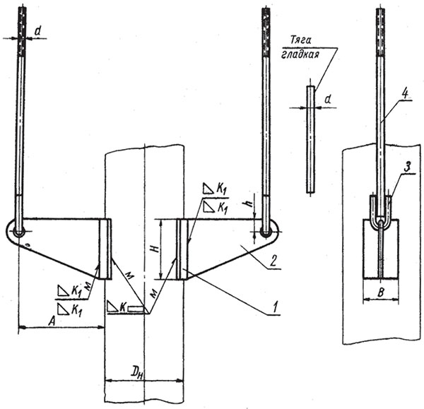
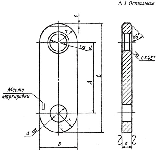
Хомуты укороченных подвесок МН 3942-62
Конструкция и размеры
Таблица №2
| Шифр изделия (Dн-Р) | Наружный диаметр трубопровода Dн | Допустимая нагрузка Р, кгс | L | A | B | Вес, кг |
|---|---|---|---|---|---|---|
| 57-200 | 57, 60 | 200 | 140 | 52 | 30 | 0,46 |
| 68-250 | 68 | 250 | 150 | 57 | 30 | 0,50 |
| 76-250 | 76 | 250 | 160 | 61 | 30 | 0,54 |
| 83-400 | 83 | 400 | 165 | 64 | 30 | 0,65 |
| 89-400 | 89 | 400 | 170 | 67 | 30 | 0,67 |
| 102-400 | 102 | 400 | 185 | 74 | 30 | 0,71 |
| 108-400 | 108 | 400 | 200 | 80 | 30 | 0,73 |
| 114-400 | 114 | 400 | 205 | 83 | 30 | 0,75 |
| 127-900 | 127 | 900 | 215 | 89 | 40 | 1,18 |
| 133-900 | 133 | 900 | 220 | 92 | 40 | 1,22 |
| 140-900 | 140 | 900 | 230 | 96 | 40 | 1,26 |
| 152-900 | 152 | 900 | 250 | 105 | 40 | 1,34 |
| 159-1100 | 159 | 1100 | 265 | 108 | 50 | 1,68 |
| 168-1100 | 168 | 1100 | 275 | 113 | 50 | 1,80 |
| 180-1100 | 180 | 1100 | 285 | 119 | 50 | 2,02 |
| 194-1800 | 194 | 1800 | 335 | 131 | 50 | 2,64 |
| 219-2000 | 219 | 2000 | 360 | 144 | 50 | 2,79 |
| 245-1100 | 245 | 1100 | 355 | 152 | 50 | 2,20 |
| 245-2400 | 245 | 2400 | 405 | 167 | 60 | 2,85 |
| 273-1500 | 273 | 1500 | 420 | 172 | 50 | 3,24 |
| 273-2400 | 273 | 2400 | 445 | 182 | 60 | 4,20 |
| 325-1800 | 325 | 1800 | 470 | 198 | 50 | 3,62 |
| 325-3400 | 325 | 3400 | 500 | 208 | 80 | 9,72 |
| 377-2400 | 377 | 2400 | 550 | 234 | 60 | 5,14 |
| 377-3400 | 377 | 3400 | 550 | 234 | 80 | 10,78 |
| 426-2400 | 426 | 2400 | 600 | 259 | 60 | 5,58 |
| 426-3400 | 426 | 3400 | 600 | 259 | 80 | 11,76 |
| 480-3400 | 478, 480 | 3400 | 650 | 286 | 80 | 13,04 |
| 480-4500 | 478, 480 | 4500 | 675 | 291 | 80 | 13,64 |
| 530-3400 | 529, 530 | 3400 | 705 | 311 | 80 | 13,82 |
| 530-5500 | 529, 530 | 5500 | 745 | 321 | 100 | 21,53 |
| 630-3800 | 630 | 3800 | 805 | 351 | 80 | 15,78 |
| 630-6500 | 630 | 6500 | 845 | 371 | 100 | 25,00 |
| 720-4300 | 720 | 4300 | 915 | 411 | 80 | 18,24 |
| 720-6500 | 720 | 6500 | 935 | 416 | 100 | 27,89 |
| 820-4300 | 820 | 4300 | 1020 | 462 | 80 | 19,38 |
| 820-6500 | 820 | 6500 | 1040 | 467 | 100 | 30,70 |
| 920-6500 | 920 | 6500 | 1140 | 517 | 100 | 33,65 |
| 1020-6500 | 1020 | 6500 | 1240 | 568 | 100 | 36,70 |
Блоки опорные хомутовые подвесок МН 3943-62
Конструкция и размеры
Таблица №3
| Шифр изделия (Dн-Р-Н₃) | Для трубопровода Dн | Допустимая нагрузка Р, кгс | A | L | B | Н | Н₁ | Вес, кг |
|---|---|---|---|---|---|---|---|---|
| 108-750-100 | 108 | 750 | 500 | 600 | 85 | 154 | 100 | 8,91 |
| 114-750-100 | 114 | 750 | 500 | 600 | 85 | 157 | 100 | 8,96 |
| 127-900-100 | 127 | 900 | 500 | 600 | 85 | 164 | 100 | 9,37 |
| 133-900-100 | 133 | 900 | 500 | 600 | 85 | 166 | 100 | 9,89 |
| 140-1300-100 | 140 | 1300 | 550 | 670 | 95 | 170 | 100 | 12,42 |
| 159-1300-100 | 159 | 1300 | 550 | 670 | 95 | 180 | 100 | 12,70 |
| 168-1300-100 | 168 | 1300 | 550 | 670 | 95 | 184 | 100 | 15,15 |
| 180-1800-100 | 180 | 1800 | 600 | 750 | 105 | 190 | 100 | 18,84 |
| 194-1800-100 | 194 | 1800 | 600 | 750 | 105 | 197 | 100 | 19,24 |
| 219-2400-100 | 219 | 2400 | 650 | 800 | 120 | 210 | 100 | 25,72 |
| 245-2400-100 | 245 | 2400 | 700 | 850 | 120 | 222 | 100 | 27,35 |
| 273-2400-100 | 273 | 2400 | 700 | 850 | 120 | 236 | 100 | 29,22 |
| 273-4500-100 | 273 | 4500 | 750 | 950 | 150 | 236 | 100 | 41,21 |
| 299-4500-100 | 299 | 4500 | 750 | 950 | 150 | 250 | 100 | 49,42 |
| 325-2400-100 | 325 | 2400 | 850 | 1000 | 120 | 262 | 100 | 41,33 |
| 325-5100-100 | 325 | 5100 | 850 | 1000 | 150 | 262 | 100 | 51,98 |
| 377-2400-100 | 377 | 2400 | 850 | 1000 | 120 | 288 | 100 | 44,22 |
| 377-6000-100 | 377 | 6000 | 900 | 1120 | 170 | 288 | 100 | 66,61 |
| 426-3400-100 | 426 | 3400 | 900 | 1060 | 130 | 313 | 100 | 53,58 |
| 426-6000-100 | 426 | 6000 | 900 | 1120 | 170 | 313 | 100 | 70,30 |
| 480-3400-100 | 480 | 3400 | 950 | 1120 | 130 | 340 | 100 | 57,04 |
| 480-8000-100 | 480 | 8000 | 970 | 1180 | 190 | 340 | 100 | 83,74 |
| 530-4500-100 | 530 | 4500 | 1000 | 1180 | 150 | 365 | 100 | 70,29 |
| 530-8000-100 | 530 | 8000 | 970 | 1180 | 190 | 365 | 100 | 87,85 |
Балки опорных подвесок трубопроводов МН 3944-62
Конструкция и размеры
Таблица №4
| Шифр изделия (Dн-Р-Н₃) | Для трубопровода Dн | Допустимая нагрузка Р, кгс | A | L | B | Н | Н₁ | Вес, кг |
|---|---|---|---|---|---|---|---|---|
| 168-1300-150 | 168 | 1300 | 550 | 670 | 95 | 234 | 150 | 16,04 |
| 180-1800-150 | 180 | 1800 | 600 | 750 | 105 | 240 | 150 | 19,75 |
| 194-1800-150 | 194 | 1800 | 600 | 750 | 105 | 247 | 150 | 20,22 |
| 219-2400-150 | 219 | 2400 | 650 | 800 | 120 | 260 | 150 | 26,91 |
| 245-2400-150 | 245 | 2400 | 700 | 850 | 120 | 272 | 150 | 28,60 |
| 273-2400-150 | 273 | 2400 | 700 | 850 | 120 | 286 | 150 | 30,55 |
| 273-4500-150 | 273 | 4500 | 750 | 950 | 150 | 286 | 150 | 42,54 |
| 299-4500-150 | 299 | 4500 | 750 | 950 | 150 | 300 | 150 | 51,25 |
| 325-2400-150 | 325 | 2400 | 850 | 1000 | 120 | 312 | 150 | 43,01 |
| 325-5100-150 | 325 | 5100 | 850 | 1000 | 150 | 312 | 150 | 53,66 |
| 377-2400-150 | 377 | 2400 | 850 | 1000 | 120 | 338 | 150 | 45,98 |
| 377-6000-150 | 377 | 6000 | 900 | 1120 | 170 | 338 | 150 | 68,37 |
| 426-3400-150 | 426 | 3400 | 900 | 1060 | 130 | 363 | 150 | 55,38 |
| 426-6000-150 | 426 | 6000 | 900 | 1120 | 170 | 363 | 150 | 72,10 |
| 465-3400-150 | 465 | 3400 | 900 | 1060 | 130 | 382 | 150 | 57,95 |
| 465-8000-150 | 465 | 8000 | 970 | 1180 | 190 | 382 | 150 | 84,91 |
| 480-3400-150 | 480 | 3400 | 950 | 1120 | 130 | 390 | 150 | 59,23 |
| 480-8000-150 | 480 | 8000 | 970 | 1180 | 190 | 390 | 150 | 85,93 |
| 530-4500-150 | 530 | 4500 | 1000 | 1180 | 150 | 415 | 150 | 72,85 |
| 530-8000-150 | 530 | 8000 | 970 | 1180 | 190 | 415 | 150 | 90,41 |
Блоки опорные подвесок трубопроводов МН 3945-62
Конструкция и размеры
Таблица №5
| Шифр (Dн-Р) | Наружный диаметр трубопровода Dн | Допустимая нагрузка Р, кгс | A | L | L₁ | B | B₁ | Н | К | Вес, кг |
|---|---|---|---|---|---|---|---|---|---|---|
| 108-750 | 108 | 750 | 400 | 500 | 150 | 85 | 50 | 80 | 4 | 6,86 |
| 114-750 | 114 | 750 | 400 | 500 | 150 | 85 | 50 | 84 | 4 | 6,86 |
| 127-900 | 127 | 900 | 500 | 600 | 150 | 85 | 65 | 90 | 4 | 7,94 |
| 133-900 | 133 | 900 | 500 | 600 | 150 | 85 | 65 | 94 | 4 | 7,94 |
| 140-1300 | 140 | 1300 | 550 | 670 | 150 | 95 | 65 | 98 | 4 | 10,29 |
| 152-1300 | 152 | 1300 | 550 | 670 | 150 | 95 | 100 | 104 | 4 | 10,69 |
| 159-1300 | 159 | 1300 | 550 | 670 | 150 | 95 | 100 | 108 | 4 | 10,72 |
| 168-1300 | 168 | 1300 | 550 | 670 | 150 | 95 | 100 | 114 | 4 | 10,72 |
| 180-1800 | 180 | 1800 | 600 | 750 | 180 | 105 | 100 | 120 | 4 | 14,48 |
| 194-1800 | 194 | 1800 | 600 | 750 | 180 | 105 | 100 | 128 | 4 | 14,48 |
| 219-2400 | 219 | 2400 | 650 | 800 | 180 | 120 | 140 | 146 | 6 | 19,71 |
| 245-2400 | 245 | 2400 | 700 | 850 | 200 | 120 | 140 | 162 | 6 | 20,97 |
| 273-2400 | 273 | 2400 | 700 | 850 | 200 | 120 | 160 | 178 | 6 | 21,42 |
| 273-4500 | 273 | 4500 | 750 | 950 | 200 | 150 | 160 | 178 | 6 | 33,41 |
| 299-4500 | 299 | 4500 | 750 | 950 | 200 | 150 | 160 | 195 | 6 | 33,41 |
| 325-2400 | 325 | 2400 | 850 | 1000 | 200 | 120 | 160 | 210 | 6 | 24,00 |
| 325-4800 | 325 | 4800 | 850 | 1000 | 200 | 150 | 160 | 210 | 6 | 34,65 |
| 377-2400 | 377 | 2400 | 850 | 1000 | 200 | 120 | 200 | 240 | 8 | 24,90 |
| 377-6000 | 377 | 6000 | 900 | 1120 | 200 | 170 | 200 | 240 | 8 | 47,29 |
| 426-3000 | 426 | 3000 | 900 | 1060 | 260 | 130 | 240 | 270 | 8 | 33,32 |
| 426-6000 | 426 | 6000 | 900 | 1120 | 260 | 170 | 240 | 270 | 8 | 50,04 |
| 480-3000 | 480 | 3000 | 950 | 1120 | 260 | 130 | 240 | 304 | 8 | 33,58 |
| 480-8000 | 480 | 8000 | 970 | 1180 | 260 | 190 | 240 | 304 | 8 | 60,28 |
| 530-4500 | 530 | 4500 | 1000 | 1180 | 260 | 150 | 240 | 330 | 8 | 42,72 |
| 530-8000 | 530 | 8000 | 970 | 1180 | 260 | 190 | 240 | 330 | 8 | 60,28 |
| 630-4500 | 630 | 4500 | 1000 | 1180 | 300 | 150 | 300 | 376 | 8 | 45,07 |
| 630-8000 | 630 | 8000 | 1100 | 1320 | 300 | 190 | 300 | 376 | 8 | 67,51 |
| 720-5500 | 720 | 5500 | 1100 | 1320 | 300 | 170 | 300 | 428 | 8 | 58,51 |
| 720-8000 | 720 | 8000 | 1100 | 1320 | 300 | 190 | 300 | 428 | 8 | 67,51 |
| 820-5500 | 820 | 5500 | 1200 | 1400 | 300 | 170 | 360 | 468 | 8 | 60,97 |
| 820-8000 | 820 | 8000 | 1170 | 1400 | 300 | 200 | 360 | 468 | 8 | 78,15 |
| 920-8000 | 920 | 8000 | 1350 | 1600 | 300 | 200 | 360 | 524 | 8 | 86,07 |
| 1020-8000 | 1020 | 8000 | 1450 | 1700 | 300 | 200 | 420 | 565 | 8 | 90,03 |
Блоки приварные подвесок трубопроводов МН 3946-62
Конструкция и размеры

Таблица №6
| Шифр изделия (Dн) | Размер трубы | Допустимая нагрузка Р, кгс | Н | Н₁ | L | d | К | Вес, кг | |
|---|---|---|---|---|---|---|---|---|---|
| Dн | s не менее | ||||||||
| 57 | 57 | 6 | 40 | 112 | 83 | 80 | 10 | 3 | 0,71 |
| 68 | 68 | 12 | 150 | 117 | 83 | 80 | 10 | 6 | 0,71 |
| 76 | 76 | 9 | 150 | 121 | 83 | 80 | 10 | 6 | 0,71 |
| 83 | 83 | 14 | 200 | 125 | 83 | 80 | 10 | 8 | 0,71 |
| 102 | 102 | 16 | 200 | 134 | 83 | 80 | 10 | 8 | 0,71 |
| 108 | 108 | 9 | 200 | 137 | 83 | 80 | 10 | 8 | 0,71 |
| 127 | 127 | 18 | 300 | 162 | 98 | 100 | 10 | 10 | 0,85 |
| 133 | 133 | 10 | 300 | 165 | 98 | 100 | 10 | 10 | 0,85 |
| 140 | 140 | 20 | 300 | 168 | 98 | 100 | 10 | 10 | 0,85 |
| 159 | 159 | 18 | 300 | 178 | 98 | 100 | 10 | 10 | 0,85 |
| 168 | 168 | 13 | 600 | 207 | 123 | 130 | 16 | 12 | 2,75 |
| 180 | 180 | 28 | 700 | 213 | 123 | 130 | 16 | 12 | 2,75 |
| 194 | 194 | 15 | 850 | 220 | 123 | 130 | 16 | 12 | 2,75 |
| 219 | 219 | 16 | 1000 | 230 | 120 | 180 | 16 | 12 | 3,19 |
| 245 | 245 | 17 | 1300 | 243 | 120 | 180 | 16 | 16 | 3,19 |
| 273 | 273 | 20 | 1500 | 257 | 120 | 250 | 16 | 16 | 3,80 |
| 325 | 325 | 24 | 2100 | 317 | 154 | 350 | 20 | 20 | 7,85 |
Плавники приварные блоков подвесок МН 3947-62
Конструкция и размеры

Таблица №7
| Шифр (L) | Для тяг диаметром | Н | L | h | d | r | s | c | Вес, кг |
|---|---|---|---|---|---|---|---|---|---|
| 80 | 10 | 100 | 80 | 10 | 12 | 17 | 8 | 2 | 0,32 |
| 100 | 10 | 115 | 100 | 10 | 12 | 17 | 8 | 2 | 0,45 |
| 130 | 16 | 145 | 130 | 10 | 18 | 22 | 12 | 3 | 1,04 |
| 180 | 16 | 150 | 180 | 15 | 18 | 30 | 16 | 3 | 2,03 |
| 250 | 16 | 150 | 250 | 15 | 18 | 30 | 16 | 4 | 2,64 |
| 350 | 20 | 190 | 350 | 20 | 23 | 36 | 20 | 4 | 5,70 |
| 350 | 20 | 190 | 350 | 20 | 23 | 36 | 20 | 5 | 5,70 |
Плавники приварные с накладкой МН 3948-62
Конструкция и размеры

Таблица №8
| Шифр изделия (Dн) | Размер трубы | Допустимая нагрузка Р, кгс | Н | Н₁ | L | B | s₁ | d | К | К₁ | Вес, кг | |
|---|---|---|---|---|---|---|---|---|---|---|---|---|
| Dн | s не менее | |||||||||||
| 76 | 76 | 3,5 | 70 | 125 | 83 | 80 | 30 | 4 | 10 | 3 | 4 | 0,82 |
| 89 | 89 | 4,5 | 100 | 133 | 83 | 80 | 50 | 6 | 10 | 4 | 4 | 0,95 |
| 108 | 108 | 4 | 150 | 141 | 83 | 80 | 50 | 6 | 10 | 4 | 4 | 0,95 |
| 133 | 133 | 4 | 200 | 169 | 98 | 100 | 60 | 6 | 10 | 4 | 4 | 1,17 |
| 159 | 159 | 4,5 | 300 | 183 | 98 | 100 | 60 | 6 | 10 | 4 | 6 | 1,17 |
| 219 | 219 | 6 | 500 | 236 | 120 | 180 | 100 | 10 | 16 | 6 | 10 | 4,92 |
| 273 | 273 | 7 | 850 | 264 | 120 | 250 | 100 | 10 | 16 | 7 | 10 | 6,21 |
| 325 | 325 | 8 | 1200 | 305 | 134 | 350 | 130 | 10 | 16 | 8 | 10 | 8,28 |
Накладки блоков приварных подвесок МН 3949-62
Конструкция и размеры

Таблица №9
| Шифр (r-L) | r | L | B | s | Развернутая длина | Вес, кг |
|---|---|---|---|---|---|---|
| 33-80 | 33 | 80 | 30 | 4 | 33 | 0,08 |
| 49-80 | 49 | 80 | 50 | 6 | 56 | 0,21 |
| 73-100 | 73 | 100 | 60 | 6 | 65 | 0,30 |
| 123-180 | 123 | 180 | 100 | 10 | 107 | 1,51 |
| 123-250 | 123 | 250 | 100 | 10 | 107 | 2,10 |
| 162-360 | 162 | 360 | 130 | 10 | 139 | 3,95 |
Хомуты подвесок вертикальных трубопроводов МН 3950-62
Конструкция и размеры

Таблица №10
| Шифр (Dн-Р) | Наружный диаметр трубопровода Dн | Допустимая нагрузка Р, кгс | L | A | B | К | Вес, кг |
|---|---|---|---|---|---|---|---|
| 57-200 | 57,6 | 200 | 570 | 530 | 80 | 4 | 4,85 |
| 68-200 | 68 | 200 | 550 | 510 | 80 | 4 | 4,85 |
| 76-200 | 76 | 200 | 590 | 550 | 80 | 6 | 5,12 |
| 83-400 | 83 | 400 | 580 | 540 | 80 | 4 | 6,55 |
| 89-200 | 89 | 200 | 630 | 590 | 80 | 6 | 5,53 |
| 102-500 | 102 | 500 | 610 | 570 | 90 | 4 | 9,,86 |
| 108-600 | 108 | 600 | 670 | 630 | 100 | 4 | 12,00 |
| 114-400 | 114 | 400 | 720 | 680 | 90 | 8 | 11,65 |
| 127-700 | 127 | 700 | 700 | 660 | 100 | 5 | 12,64 |
| 133-700 | 133 | 700 | 720 | 680 | 100 | 5 | 13,70 |
| 140-700 | 140 | 700 | 720 | 680 | 100 | 6 | 13,56 |
| 159-900 | 159 | 900 | 740 | 700 | 100 | 6 | 16,57 |
| 168-900 | 168 | 900 | 810 | 770 | 100 | 8 | 18,44 |
| 180-900 | 180 | 900 | 800 | 750 | 120 | 8 | 21,39 |
| 194-800 | 194 | 800 | 900 | 850 | 120 | 8 | 24,62 |
| 194-2000 | 194 | 2000 | 910 | 860 | 160 | 8 | 33,13 |
| 219-2000 | 219 | 2000 | 980 | 930 | 160 | 8 | 35,76 |
| 245-1500 | 245 | 1500 | 910 | 860 | 160 | 8 | 33,93 |
| 245-3000 | 245 | 3000 | 940 | 890 | 160 | 8 | 45,30 |
| 273-1800 | 273 | 1800 | 990 | 940 | 160 | 8 | 37,28 |
| 273-3000 | 273 | 3000 | 1000 | 940 | 160 | 8 | 49,06 |
| 299-1800 | 299 | 1800 | 1010 | 960 | 160 | 8 | 39,42 |
| 325-2200 | 325 | 2200 | 1040 | 990 | 160 | 10 | 40,98 |
| 325-4800 | 325 | 4800 | 1050 | 990 | 200 | 10 | 65,88 |
| 377-2400 | 377 | 2400 | 1100 | 1050 | 200 | 10 | 69,72 |
| 377-4800 | 377 | 4800 | 1130 | 1080 | 200 | 10 | 88,08 |
| 426-4000 | 426 | 4000 | 1180 | 1130 | 200 | 10 | 93,80 |
| 426-6000 | 426 | 6000 | 1240 | 1160 | 220 | 10 | 106,81 |
| 465-4000 | 465 | 4000 | 1220 | 1170 | 200 | 10 | 98,01 |
| 480-4800 | 480 | 4800 | 1230 | 1180 | 200 | 10 | 98,20 |
| 530-4800 | 530 | 4800 | 1280 | 1230 | 200 | 10 | 103,34 |
| 530-6800 | 530 | 6800 | 1320 | 1250 | 220 | 12 | 117,55 |
Упоры подвесок стальных трубопроводов МН 3951-62
Конструкция и размеры

Таблица №11
| Шифр (Dн-b) | Наружный диаметр трубопровода Dн | r | b | L | s | Развернутая длина | Вес, кг |
|---|---|---|---|---|---|---|---|
| Доп. Откл. По В₉ | |||||||
| 57-29 | 57 | 30 | 29 | 50 | 6 | 26 | 0,061 |
| 68-32 | 68 | 35 | 32 | 60 | 6 | 30 | 0,085 |
| 76-34 | 76 | 39 | 34 | 60 | 6 | 33 | 0,093 |
| 83-38 | 83 | 42 | 38 | 60 | 8 | 36 | 0,136 |
| 89-40 | 89 | 45 | 40 | 60 | 8 | 38 | 0,146 |
| 102-47 | 102 | 52 | 47 | 60 | 10 | 45 | 0,210 |
| 108-50 | 108 | 55 | 50 | 60 | 10 | 47 | 0,223 |
| 114-52 | 114 | 58 | 52 | 75 | 10 | 49 | 0,288 |
| 127-56 | 127 | 64 | 56 | 75 | 10 | 54 | 0,317 |
| 133-60 | 133 | 67 | 60 | 90 | 12 | 57 | 0,484 |
| 140-64 | 140 | 71 | 64 | 75 | 12 | 61 | 0,430 |
| 152-69 | 152 | 77 | 69 | 60 | 12 | 65 | 0,367 |
| 159-72 | 159 | 82 | 72 | 60 | 12 | 68 | 0,384 |
| 168-74 | 168 | 85 | 74 | 90 | 12 | 71 | 0,605 |
| 180-79 | 180 | 91 | 79 | 75 | 12 | 76 | 0,537 |
| 194-87 | 194 | 98 | 87 | 90 | 12 | 83 | 0,940 |
| 219-97 | 219 | 111 | 97 | 90 | 12 | 93 | 1,050 |
| 245-108 | 245 | 125 | 108 | 90 | 16 | 104 | 1,175 |
| 273-119 | 273 | 139 | 119 | 90 | 16 | 115 | 1,300 |
| 299-128 | 299 | 152 | 128 | 120 | 16 | 126 | 1,900 |
| 325-142 | 325 | 165 | 142 | 90 | 20 | 137 | 1,940 |
| 377-161 | 377 | 191 | 161 | 90 | 16 | 158 | 2,240 |
| 426-182 | 426 | 216 | 182 | 90 | 20 | 177 | 2,500 |
| 465-195 | 465 | 235 | 195 | 90 | 20 | 192 | 2,705 |
| 480-200 | 480 | 242 | 200 | 80 | 20 | 198 | 2,480 |
| 530-220 | 530 | 267 | 220 | 80 | 20 | 217 | 2,700 |
| 630-175 | 630 | 318 | 175 | 80 | 20 | 172 | 2,160 |
| 720-198 | 720 | 363 | 198 | 80 | 20 | 195 | 2,450 |
| 820-225 | 820 | 414 | 225 | 80 | 20 | 222 | 2,790 |
| 920-250 | 920 | 464 | 250 | 80 | 20 | 248 | 3,115 |
| 1020-276 | 1020 | 515 | 276 | 80 | 20 | 275 | 3,454 |
| 1120-302 | 1120 | 565 | 302 | 80 | 20 | 301 | 3,780 |
| 1220-328 | 1220 | 615 | 328 | 80 | 20 | 327 | 4,107 |
| 1420-380 | 1420 | 715 | 380 | 100 | 20 | 379 | 5,950 |
| 1620-432 | 1620 | 815 | 432 | 100 | 20 | 431 | 6,767 |
Хомуты укороченных подвесок трубопроводов МН 3952-62
Конструкция и размеры

Таблица №12
| Шифр (Dн-Р) | Наружный диаметр трубопровода Dн | Допустимая нагрузка Р, кгс | L | A | B | К | Вес, кг |
|---|---|---|---|---|---|---|---|
| 57-300 | 57, 60 | 300 | 440 | 400 | 60 | 3 | 2,58 |
| 68-300 | 68 | 300 | 450 | 410 | 70 | 3 | 3,47 |
| 76-300 | 76 | 300 | 480 | 440 | 70 | 3 | 3,69 |
| 83-450 | 83 | 450 | 520 | 480 | 90 | 3 | 5,19 |
| 89-450 | 89 | 450 | 540 | 500 | 90 | 3 | 5,41 |
| 102-600 | 102 | 500 | 550 | 510 | 90 | 4 | 7,36 |
| 108-600 | 108 | 600 | 600 | 560 | 90 | 4 | 7,92 |
| 114-750 | 114 | 750 | 600 | 560 | 90 | 4 | 8,11 |
| 127-750 | 127 | 750 | 600 | 560 | 90 | 4 | 8,21 |
| 133-900 | 133 | 900 | 640 | 600 | 100 | 4 | 12,30 |
| 140-900 | 140 | 900 | 640 | 600 | 100 | 5 | 12,25 |
| 152-600 | 152 | 600 | 640 | 600 | 90 | 5 | 9,01 |
| 159-900 | 159 | 900 | 670 | 630 | 100 | 5 | 11,88 |
| 168-900 | 168 | 900 | 670 | 630 | 100 | 6 | 15,60 |
| 180-900 | 180 | 900 | 670 | 630 | 120 | 6 | 18,30 |
| 194-1900 | 194 | 1900 | 720 | 680 | 120 | 6 | 20,92 |
| 219-2000 | 219 | 2000 | 800 | 750 | 120 | 8 | 23,24 |
| 245-2000 | 245 | 2000 | 800 | 750 | 120 | 8 | 23,67 |
| 245-3000 | 245 | 3000 | 850 | 810 | 160 | 8 | 41,39 |
| 273-2300 | 273 | 2300 | 850 | 810 | 120 | 8 | 29,66 |
| 273-3000 | 273 | 3000 | 900 | 860 | 160 | 8 | 44,06 |
| 299-1800 | 299 | 1800 | 900 | 860 | 120 | 8 | 28,10 |
| 325-3000 | 325 | 3000 | 930 | 880 | 160 | 10 | 47,75 |
| 325-4800 | 325 | 4800 | 950 | 900 | 180 | 10 | 54,99 |
| 377-3000 | 377 | 3000 | 960 | 920 | 160 | 10 | 39,87 |
| 377-4800 | 377 | 4800 | 970 | 920 | 180 | 10 | 57,55 |
| 426-4800 | 426 | 4800 | 1090 | 1030 | 180 | 10 | 65,03 |
| 426-6000 | 426 | 6000 | 1100 | 1030 | 200 | 10 | 73,04 |
| 480-4800 | 478, 480 | 4800 | 1110 | 1060 | 180 | 6 | 67,41 |
| 530-4800 | 529, 530 | 4800 | 1150 | 1100 | 180 | 6 | 68,99 |
| 530-6800 | 529, 530 | 6800 | 1200 | 1150 | 200 | 6 | 99,03 |
| 630-4800 | 630 | 4800 | 1290 | 1230 | 180 | 8 | 78,75 |
| 630-9000 | 630 | 9000 | 1310 | 1250 | 220 | 8 | 120,13 |
| 720-4800 | 720 | 4800 | 1370 | 1320 | 180 | 8 | 84,59 |
| 720-9000 | 720 | 9000 | 1420 | 1350 | 220 | 8 | 132,85 |
| 820-4800 | 820 | 4800 | 1470 | 1420 | 180 | 8 | 92,17 |
| 820-9000 | 820 | 9000 | 1520 | 1450 | 220 | 8 | 143,89 |
| 920-6000 | 920 | 6000 | 1560 | 1490 | 200 | 8 | 111,66 |
| 920-11000 | 920 | 11000 | 1570 | 1490 | 250 | 10 | 172,20 |
| 1020-7400 | 1020 | 7400 | 1630 | 1560 | 200 | 10 | 146,31 |
| 1020-11000 | 1020 | 11000 | 1650 | 1560 | 250 | 10 | 185,99 |
| 1120-7400 | 1120 | 7400 | 1720 | 1650 | 200 | 10 | 155,77 |
| 1120-11000 | 1120 | 11000 | 1740 | 1650 | 250 | 10 | 200,04 |
| 1220-7400 | 1220 | 7400 | 1830 | 1760 | 220 | 10 | 182,02 |
| 1220-11000 | 1220 | 11000 | 1850 | 1760 | 250 | 10 | 215,01 |
| 1420-7400 | 1420 | 7400 | 2030 | 1960 | 220 | 10 | 207,75 |
| 1420-11000 | 1420 | 11000 | 2050 | 1960 | 250 | 10 | 263,40 |
| 1620-7400 | 1620 | 7400 | 2230 | 2160 | 220 | 10 | 232,34 |
| 1620-10000 | 1620 | 10000 | 2250 | 2160 | 250 | 10 | 293,55 |
Блоки приварных подвесок МН 3953-62
Конструкция и размеры

Таблица №13
| Шифр изделия (Dн-Р) | Размер трубы | Допустимая нагрузка Р, кгс | A | Н | h | d | К | Вес, кг | |
|---|---|---|---|---|---|---|---|---|---|
| Dн | s не менее | ||||||||
| 57 | 57 | 7 | 40 | 125 | 80 | 17 | 10 | 6 | 1,74 |
| 68 | 68 | 12 | 160 | 125 | 80 | 17 | 10 | 8 | 1,74 |
| 76 | 76 | 9 | 160 | 140 | 80 | 17 | 10 | 8 | 1,86 |
| 83 | 83 | 14 | 200 | 140 | 80 | 17 | 10 | 10 | 1,86 |
| 102 | 102 | 16 | 200 | 140 | 80 | 17 | 10 | 10 | 1,86 |
| 108 | 108 | 9 | 200 | 140 | 80 | 17 | 10 | 8 | 1,86 |
| 127 | 127 | 18 | 300 | 140 | 100 | 17 | 10 | 10 | 2,07 |
| 133 | 133 | 10 | 300 | 140 | 100 | 17 | 10 | 10 | 2,07 |
| 140 | 140 | 20 | 300 | 140 | 100 | 17 | 10 | 10 | 2,07 |
| 159 | 159 | 18 | 300 | 140 | 100 | 17 | 10 | 10 | 2,07 |
| 168 | 168 | 13 | 700 | 170 | 100 | 17 | 12 | 12 | 2,77 |
| 180 | 180 | 28 | 700 | 170 | 100 | 17 | 12 | 12 | 2,77 |
| 194 | 194 | 15 | 850 | 170 | 100 | 17 | 12 | 12 | 2,77 |
| 219 | 219 | 16 | 1000 | 160 | 160 | 25 | 16 | 12 | 5,62 |
| 245 | 245 | 17 | 1300 | 190 | 180 | 25 | 16 | 12 | 6,65 |
| 273 | 273 | 20 | 1600 | 190 | 180 | 25 | 16 | 12 | 6,65 |
| 325 | 325 | 24 | 2100 | 200 | 200 | 25 | 16 | 12 | 7,29 |
Плавники приварных блоков подвесок МН 3954-62
Конструкция и размеры

Таблица №14
| Шифр (HxL) | Для тяг диаметром | L | L₁ | H | s | r-h | d | a | l | c | Вес, кг |
|---|---|---|---|---|---|---|---|---|---|---|---|
| 80х142 | 10,12 | 142 | 125 | 80 | 8 | 17 | 12 | 10 | 25 | 2 | 0,49 |
| 80х157 | 10,12 | 157 | 140 | 80 | 8 | 17 | 12 | 10 | 25 | 2 | 0,55 |
| 100х157 | 10,12 | 157 | 140 | 100 | 8 | 17 | 12 | 10 | 25 | 2 | 0,65 |
| 100х187 | 10,12 | 187 | 170 | 100 | 8 | 17 | 14 | 10 | 25 | 2 | 0,80 |
| 160х185 | 16 | 185 | 160 | 160 | 12 | 25 | 18 | 20 | 35 | 3 | 1,73 |
| 180х195 | 16 | 195 | 170 | 180 | 12 | 25 | 18 | 20 | 35 | 3 | 2,09 |
| 180х215 | 16 | 215 | 190 | 180 | 12 | 25 | 18 | 20 | 35 | 3 | 2,24 |
| 200х225 | 16 | 215 | 200 | 200 | 12 | 25 | 18 | 20 | 35 | 3 | 2,56 |
Блоки приварные с накладкой МН 3955-62
Конструкция и размеры

Таблица №15
| Шифр изделия (Dн) | Размер трубы | Допустимая нагрузка Р, кгс | A | B | Н | h | d | K | K₁ | Вес, кг | |
|---|---|---|---|---|---|---|---|---|---|---|---|
| Dн | s не менее | ||||||||||
| 76 | 76 | 3,5 | 70 | 129 | 30 | 80 | 17 | 10 | 3 | 4 | 1,98 |
| 89 | 89 | 4,5 | 100 | 146 | 50 | 80 | 17 | 10 | 4 | 6 | 2,24 |
| 108 | 108 | 4 | 140 | 146 | 50 | 80 | 17 | 10 | 4 | 6 | 2,24 |
| 133 | 133 | 4 | 210 | 176 | 60 | 100 | 17 | 10 | 4 | 6 | 3,03 |
| 159 | 159 | 4,5 | 280 | 176 | 60 | 100 | 17 | 10 | 4 | 6 | 3,03 |
| 219 | 219 | 6 | 560 | 180 | 100 | 100 | 17 | 10 | 6 | 10 | 5,88 |
| 273 | 273 | 7 | 840 | 180 | 100 | 100 | 17 | 12 | 8 | 10 | 7,56 |
| 325 | 325 | 8 | 1400 | 180 | 130 | 180 | 25 | 16 | 8 | 10 | 15,1 |
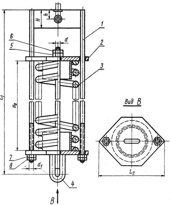
Блоки пружин подвесок МН 3956-62
Конструкция и размеры

Таблица №16
| Шифр изделия (Р₂-Н₀) | Допустимая рабочая нагрузка Р₂, кгс | Высота пружины в свободном состоянии, Н₀ | L | L₁ | Н | d | d₁ | h | Вес, кг | |
|---|---|---|---|---|---|---|---|---|---|---|
| С прогибом пружины ≈140мм (при Р₂ - по таблице) | ||||||||||
| 97-242 | 97 | 242 | 460 | 135 | 40 | М10 | М10 | 17 | 2,68 | |
| 197-303 | 197 | 303 | 560 | 135 | 40 | М10 | М10 | 17 | 3,66 | |
| 292-322 | 292 | 322 | 560 | 135 | 40 | М10 | М10 | 17 | 4,16 | |
| 514-394 | 514 | 394 | 610 | 135 | 40 | М12 | М10 | 17 | 6,18 | |
| 815-345 | 815 | 345 | 615 | 185 | 50 | М16 | М12 | 25 | 10,79 | |
| 1155-405 | 1155 | 405 | 670 | 200 | 50 | М16 | М16 | 25 | 14,91 | |
| 1500-373 | 1500 | 373 | 670 | 240 | 60 | М16 | М16 | 25 | 20,80 | |
| 2050-413 | 2050 | 413 | 720 | 240 | 60 | М20 | М16 | 30 | 26,20 | |
| 2420-497 | 2420 | 497 | 820 | 240 | 60 | М20 | М16 | 30 | 32,73 | |
| 3360-507 | 3360 | 507 | 873 | 280 | 85 | М24 | М20 | 36 | 47,75 | |
| 4528-543 | 4528 | 543 | 935 | 280 | 90 | М27 | М20 | 36 | 52,93 | |
| 5392-473 | 5392 | 473 | 890 | 330 | 90 | М30 | М24 | 42 | 64,83 | |
| С прогибом пружины ≈77мм (при Р₂ - по таблице) | ||||||||||
| 97-126 | 97 | 126 | 340 | 135 | 40 | М10 | М10 | 17 | 2,07 | |
| 197-158 | 197 | 158 | 410 | 135 | 40 | М10 | М10 | 17 | 2,64 | |
| 292-168 | 292 | 168 | 410 | 135 | 40 | М10 | М10 | 17 | 2,91 | |
| 514-206 | 514 | 206 | 410 | 135 | 40 | М12 | М10 | 17 | 4,02 | |
| 815-184 | 815 | 184 | 445 | 185 | 50 | М16 | М12 | 25 | 7,69 | |
| 1155-216 | 1155 | 216 | 470 | 200 | 50 | М16 | М16 | 25 | 10,03 | |
| 1500-203 | 1500 | 203 | 470 | 240 | 60 | М16 | М16 | 25 | 14,92 | |
| 2050-225 | 2050 | 225 | 530 | 240 | 60 | М20 | М16 | 30 | 18,17 | |
| 2420-268 | 2420 | 268 | 570 | 240 | 60 | М20 | М16 | 30 | 21,65 | |
| 3360-276 | 3360 | 276 | 610 | 280 | 85 | М24 | М20 | 36 | 32,77 | |
| 4528-296 | 4528 | 296 | 695 | 280 | 90 | М27 | М20 | 36 | 36,22 | |
| 5392-264 | 5392 | 264 | 690 | 330 | 90 | М30 | М24 | 42 | 45,88 | |
Тяги резьбовые МН 3957-62
Конструкция и размеры

Таблица №17
| Шифр детали (dxL) | Допустимая нагрузка Р, кгс | d | L | t₀ (доп. Откл. + 4 | с | Вес, кг |
|---|---|---|---|---|---|---|
| М10х200 | 300 | М10 | 200 | 90 | 1,5 | 0,12 |
| М10х250 | 300 | М10 | 250 | 90 | 1,5 | 0,15 |
| М10х300 | 300 | М10 | 300 | 90 | 1,5 | 0,18 |
| М10х360 | 300 | М10 | 360 | 90 | 1,5 | 0,22 |
| М10х400 | 300 | М10 | 400 | 90 | 1,5 | 0,25 |
| М10450 | 300 | М10 | 450 | 90 | 1,5 | 0,28 |
| М10х500 | 300 | М10 | 500 | 90 | 1,5 | 0,31 |
| М10х600 | 300 | М10 | 600 | 90 | 1,5 | 0,37 |
| М10х800 | 300 | М10 | 800 | 90 | 1,5 | 0,49 |
| М10х1000 | 300 | М10 | 1000 | 90 | 1,5 | 0,62 |
| М12х300 | 450 | М12 | 300 | 100 | 1,8 | 0,26 |
| М12х400 | 450 | М12 | 400 | 100 | 1,8 | 0,35 |
| М12х500 | 450 | М12 | 500 | 100 | 1,8 | 0,44 |
| М12х560 | 450 | М12 | 560 | 100 | 1,8 | 0,50 |
| М12х600 | 450 | М12 | 600 | 100 | 1,8 | 0,53 |
| М12х800 | 450 | М12 | 800 | 100 | 1,8 | 0,71 |
| М12х1000 | 450 | М12 | 1000 | 100 | 1,8 | 0,89 |
| М16х300 | 1500 | М16 | 300 | 110 | 2 | 0,47 |
| М16х320 | 1500 | М16 | 320 | 110 | 2 | 0,50 |
| М16х450 | 1500 | М16 | 450 | 110 | 2 | 0,71 |
| М16х500 | 1500 | М16 | 500 | 110 | 2 | 0,79 |
| М16х560 | 1500 | М16 | 560 | 110 | 2 | 0,88 |
| М16х600 | 1500 | М16 | 600 | 110 | 2 | 0,94 |
| М16х670 | 1500 | М16 | 670 | 110 | 2 | 1,06 |
| М16х750 | 1500 | М16 | 750 | 110 | 2 | 1,18 |
| М16х800 | 1500 | М16 | 800 | 110 | 2 | 1,26 |
| М16х1000 | 1500 | М16 | 1000 | 110 | 2 | 1,58 |
| М20х360 | 2400 | М20 | 360 | 120 | 2,5 | 0,88 |
| М20х400 | 2400 | М20 | 400 | 120 | 2,5 | 0,99 |
| М20х600 | 2400 | М20 | 600 | 120 | 2,5 | 1,48 |
| М20х670 | 2400 | М20 | 670 | 120 | 2,5 | 1,65 |
| М20х800 | 2400 | М20 | 800 | 120 | 2,5 | 1,97 |
| М20х850 | 2400 | М20 | 850 | 120 | 2,5 | 2,10 |
| М20х1000 | 2400 | М20 | 1000 | 120 | 2,5 | 2,47 |
| М24х420 | 3400 | М24 | 420 | 130 | 3 | 1,50 |
| М24х600 | 3400 | М24 | 600 | 130 | 3 | 2,13 |
| М24х670 | 3400 | М24 | 670 | 130 | 3 | 2,38 |
| М24х800 | 3400 | М24 | 800 | 130 | 3 | 2,84 |
| М24х1000 | 3400 | М24 | 1000 | 130 | 3 | 3,55 |
| М27х450 | 4500 | М27 | 450 | 140 | 3,5 | 2,02 |
| М27х710 | 4500 | М27 | 710 | 140 | 3,5 | 3,19 |
| М27х850 | 4500 | М27 | 850 | 140 | 3,5 | 3,82 |
| М27х1000 | 4500 | М27 | 1000 | 140 | 3,5 | 4,50 |
| М30х450 | 5500 | М30 | 450 | 150 | 4 | 2,49 |
| М30х670 | 5500 | М30 | 670 | 150 | 4 | 3,72 |
| М30х800 | 5500 | М30 | 800 | 150 | 4 | 4,44 |
| М30х1000 | 5500 | М30 | 1000 | 150 | 4 | 5,55 |
| М36х600 | 8000 | М36 | 600 | 160 | 4,5 | 4,79 |
| М36х800 | 8000 | М36 | 800 | 160 | 4,5 | 6,39 |
| М36х1000 | 8000 | М36 | 1000 | 160 | 4,5 | 7,99 |
Пружины цилиндрические винтовые МН 3958-62
Конструкция и размеры

Таблица №18
| Шифр (Р₂-Н₀) | Допустимая рабочая нагрузка Р₂, кгс | Прогиб при допукаемой рабочей нагрузке, Н₂ | d | D | Шаг t | Высота пружины в свободном состоянии, Н₀ | Развернутая длина | Число витков | Вес, кг | |||
|---|---|---|---|---|---|---|---|---|---|---|---|---|
| Номин. | Доп. Откл. | Номин. | Доп. Откл. | рабочих, п | полное, п₁ | |||||||
| 97-242 | 97 | 140 | 7 | 80 | ±1,2 | 25,7 | 242 | +7;-2,5 | 2540 | 9 | 11 | 0,77 |
| 197-303 | 197 | 140 | 9 | 80 | ±1,2 | 22,2 | 303 | +9;-3 | 3360 | 13 | 15 | 1,68 |
| 292-322 | 292 | 140 | 10 | 80 | ±1,2 | 21,9 | 322 | +9,5;-3 | 3540 | 14 | 16 | 2,18 |
| 514-394 | 514 | 140 | 12 | 80 | ±1,2 | 20,9 | 394 | +12;-4 | 4290 | 18 | 20 | 3,82 |
| 815-345 | 815 | 140 | 16 | 120 | ±1,8 | 32,1 | 345 | +10;-3,5 | 3950 | 10 | 12 | 6,23 |
| 1155-405 | 1155 | 140 | 18 | 120 | ±1,8 | 31,5 | 405 | +12;-4 | 4500 | 12 | 14 | 8,99 |
| 1562-373 | 1562 | 140 | 22 | 160 | ±2,4 | 42,5 | 373 | +11;-4 | 4360 | 8 | 10 | 13,00 |
| 2050-413 | 2050 | 140 | 24 | 160 | ±2,4 | 41,9 | 413 | +12;-4 | 4730 | 9 | 11 | 16,80 |
| 2420-497 | 2420 | 140 | 26 | 160 | ±2,4 | 41,6 | 497 | +15;-5 | 5510 | 11 | 13 | 23,00 |
| 3360-507 | 3360 | 140 | 30 | 180 | ±2,7 | 46,2 | 507 | +15;-5 | 5690 | 10 | 12 | 31,60 |
| 4528-543 | 4528 | 140 | 32 | 180 | ±2,7 | 49,5 | 543 | +15;-5 | 5600 | 10 | 12 | 35,40 |
| 5392-473 | 5392 | 140 | 36 | 220 | ±2,7 | 59,9 | 473 | +15;-5 | 5240 | 7 | 9 | 41,90 |
| 97-126 | 97 | 70 | 7 | 80 | ±1,2 | 25,7 | 126 | +3,5;-1 | 1500 | 4,5 | 6,5 | 0,45 |
| 197-158 | 197 | 70 | 9 | 80 | ±1,2 | 22,2 | 158 | +4,5;-1,5 | 1910 | 6,5 | 8,5 | 0,95 |
| 292-168 | 292 | 70 | 10 | 80 | ±1,2 | 21,9 | 168 | +5;-1,5 | 1990 | 7 | 9 | 1,22 |
| 514-206 | 514 | 70 | 12 | 80 | ±1,2 | 20,9 | 206 | +6;-2 | 2360 | 9 | 11 | 2,09 |
| 815-184 | 815 | 70 | 16 | 120 | ±1,8 | 32,1 | 184 | +5,5;-2 | 2320 | 5 | 7 | 3,66 |
| 1155-216 | 1155 | 70 | 18 | 120 | ±1,8 | 31,5 | 216 | +6;-2 | 2570 | 6 | 8 | 5,13 |
| 1562-203 | 1562 | 70 | 22 | 160 | ±2,4 | 42,5 | 203 | +6;-2 | 2620 | 4 | 6 | 7,82 |
| 2050-225 | 2050 | 70 | 24 | 160 | ±2,4 | 41,9 | 225 | +6,5;-2 | 2800 | 4,5 | 6,5 | 9,95 |
| 2420-268 | 2420 | 70 | 26 | 160 | ±2,4 | 41,6 | 268 | +8;-2,5 | 3180 | 5,5 | 7,5 | 13,20 |
| 3360-276 | 3360 | 70 | 30 | 180 | ±2,7 | 46,2 | 276 | +8;-3 | 3320 | 5 | 7 | 18,50 |
| 4528-296 | 4528 | 70 | 32 | 180 | ±2,7 | 49,5 | 296 | +8;-3 | 3270 | 5 | 7 | 20,60 |
| 5392-264 | 5392 | 70 | 36 | 220 | ±2,7 | 59,9 | 264 | +8;-2,5 | 3200 | 3,5 | 5,5 | 25,60 |
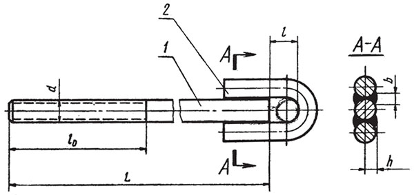
Тяги с ушком МН 3959-62
Конструкция и размеры

Таблица №19
| Шифр изделия (dxL) | Допустимая нагрузка Р, кгс | d | L | t (доп. Откл. + 1) | t₀ (доп. Откл. + 4) | h (доп. Откл. + 1) | b | Вес, кг |
|---|---|---|---|---|---|---|---|---|
| М10х200 | 300 | М10 | 200 | 15 | 90 | 6 | 10 | 0,21 |
| М10х250 | 300 | М10 | 250 | 15 | 90 | 6 | 10 | 0,23 |
| М10х300 | 300 | М10 | 300 | 15 | 90 | 6 | 10 | 0,27 |
| М10х360 | 300 | М10 | 360 | 15 | 90 | 6 | 10 | 0,30 |
| М10х400 | 300 | М10 | 400 | 15 | 90 | 6 | 10 | 0,33 |
| М10450 | 300 | М10 | 450 | 15 | 90 | 6 | 10 | 0,36 |
| М10х500 | 300 | М10 | 500 | 15 | 90 | 6 | 10 | 0,39 |
| М10х600 | 300 | М10 | 600 | 15 | 90 | 6 | 10 | 0,45 |
| М10х800 | 300 | М10 | 800 | 15 | 90 | 6 | 10 | 0,58 |
| М10х1000 | 300 | М10 | 1000 | 15 | 90 | 6 | 10 | 0,70 |
| М12х300 | 450 | М12 | 300 | 18 | 100 | 7 | 10 | 0,40 |
| М12х400 | 450 | М12 | 400 | 18 | 100 | 7 | 10 | 0,49 |
| М12х500 | 450 | М12 | 500 | 18 | 100 | 7 | 10 | 0,59 |
| М12х560 | 450 | М12 | 560 | 18 | 100 | 7 | 10 | 0,64 |
| М12х600 | 450 | М12 | 600 | 18 | 100 | 7 | 10 | 0,68 |
| М12х800 | 450 | М12 | 800 | 18 | 100 | 7 | 10 | 0,85 |
| М12х1000 | 450 | М12 | 1000 | 18 | 100 | 7 | 10 | 1,03 |
| М16х300 | 1500 | М16 | 300 | 22 | 110 | 9 | 12 | 0,79 |
| М16х320 | 1500 | М16 | 320 | 22 | 110 | 9 | 12 | 0,82 |
| М16х450 | 1500 | М16 | 450 | 22 | 110 | 9 | 12 | 1,04 |
| М16х500 | 1500 | М16 | 500 | 22 | 110 | 9 | 12 | 1,11 |
| М16х560 | 1500 | М16 | 560 | 22 | 110 | 9 | 12 | 1,20 |
| М16х600 | 1500 | М16 | 600 | 22 | 110 | 9 | 12 | 1,26 |
| М16х670 | 1500 | М16 | 670 | 22 | 110 | 9 | 12 | 1,38 |
| М16х750 | 1500 | М16 | 750 | 22 | 110 | 9 | 12 | 1,50 |
| М16х800 | 1500 | М16 | 800 | 22 | 110 | 9 | 12 | 1,59 |
| М16х1000 | 1500 | М16 | 1000 | 22 | 110 | 9 | 12 | 1,91 |
| М20х360 | 2400 | М20 | 360 | 26 | 120 | 11 | 14 | 1,49 |
| М20х400 | 2400 | М20 | 400 | 26 | 120 | 11 | 14 | 1,59 |
| М20х600 | 2400 | М20 | 600 | 26 | 120 | 11 | 14 | 2,08 |
| М20х670 | 2400 | М20 | 670 | 26 | 120 | 11 | 14 | 2,25 |
| М20х800 | 2400 | М20 | 800 | 26 | 120 | 11 | 14 | 2,57 |
| М20х850 | 2400 | М20 | 850 | 26 | 120 | 11 | 14 | 2,71 |
| М20х1000 | 2400 | М20 | 1000 | 26 | 120 | 11 | 14 | 3,08 |
| М24х420 | 3400 | М24 | 420 | 32 | 130 | 13 | 17 | 2,54 |
| М24х600 | 3400 | М24 | 600 | 32 | 130 | 13 | 17 | 3,17 |
| М24х670 | 3400 | М24 | 670 | 32 | 130 | 13 | 17 | 3,43 |
| М24х800 | 3400 | М24 | 800 | 32 | 130 | 13 | 17 | 3,88 |
| М24х1000 | 3400 | М24 | 1000 | 32 | 130 | 13 | 17 | 4,59 |
| М27х450 | 4500 | М27 | 450 | 35 | 140 | 15 | 19 | 3,48 |
| М27х710 | 4500 | М27 | 710 | 35 | 140 | 15 | 19 | 4,65 |
| М27х850 | 4500 | М27 | 850 | 35 | 140 | 15 | 19 | 5,28 |
| М27х1000 | 4500 | М27 | 1000 | 35 | 140 | 15 | 19 | 5,96 |
| М30х450 | 5500 | М30 | 450 | 40 | 150 | 17 | 21 | 4,52 |
| М30х670 | 5500 | М30 | 670 | 40 | 150 | 17 | 21 | 5,75 |
| М30х800 | 5500 | М30 | 800 | 40 | 150 | 17 | 21 | 6,47 |
| М30х1000 | 5500 | М30 | 1000 | 40 | 150 | 17 | 21 | 7,58 |
| М36х600 | 8000 | М36 | 600 | 45 | 160 | 20 | 25 | 8,19 |
| М36х800 | 8000 | М36 | 800 | 45 | 160 | 20 | 25 | 9,79 |
| М36х1000 | 8000 | М36 | 1000 | 45 | 160 | 20 | 25 | 11,39 |
Ушки подвесок трубопроводов МН 3960-62
Конструкция и размеры

Таблица №20
| Шифр (d) | Допустимая нагрузка Р, кгс | d | L | b (доп. Откл. По А₈) | r | Развернутая длина ≈ | Вес, кг |
|---|---|---|---|---|---|---|---|
| 10 | 300 | 10 | 35 | 13 | 6,5 | 106 | 0,06 |
| 12 | 450 | 12 | 45 | 15 | 7,5 | 133 | 0,12 |
| 16 | 1500 | 16 | 55 | 20 | 10 | 167 | 0,26 |
| 20 | 2400 | 20 | 65 | 24 | 12 | 200 | 0,49 |
| 24 | 3400 | 24 | 80 | 28 | 14 | 242 | 0,86 |
| 27 | 4500 | 27 | 90 | 32 | 16 | 273 | 1,22 |
| 30 | 5500 | 30 | 100 | 35 | 17,5 | 302 | 1,68 |
| 36 | 8000 | 36 | 115 | 40 | 20 | 350 | 2,80 |
Коромысла с тягами МН 3961-62
Конструкция и размеры

Таблица №21
| Шифр изделия (dxL) | Допустимая нагрузка Р, кгс | d | L | L₁ | L₂ | l | H | h | h₁ (доп. Откл. + 1) | b | Вес, кг |
|---|---|---|---|---|---|---|---|---|---|---|---|
| М10х400 | 450 | М10 | 400 | 154 | 120 | 26 | 40 | 17 | 6 | 10 | 0,98 |
| М10х500 | 450 | М10 | 500 | 154 | 120 | 26 | 40 | 17 | 6 | 10 | 1,10 |
| М10х600 | 450 | М10 | 600 | 154 | 120 | 26 | 40 | 17 | 6 | 10 | 1,23 |
| М10х800 | 450 | М10 | 800 | 154 | 120 | 26 | 40 | 17 | 6 | 10 | 1,47 |
| М10х1000 | 450 | М10 | 1000 | 154 | 120 | 26 | 40 | 17 | 6 | 10 | 1,72 |
| М12х500 | 850 | М12 | 500 | 210 | 160 | 43 | 50 | 25 | 9 | 12 | 2,08 |
| М12х560 | 850 | М12 | 560 | 210 | 160 | 43 | 50 | 25 | 9 | 12 | 2,18 |
| М12х600 | 850 | М12 | 600 | 210 | 160 | 43 | 50 | 25 | 9 | 12 | 2,26 |
| М12х800 | 850 | М12 | 800 | 210 | 160 | 43 | 50 | 25 | 9 | 12 | 2,62 |
| М12х1000 | 850 | М12 | 1000 | 210 | 160 | 43 | 50 | 25 | 9 | 12 | 2,97 |
| М16х450 | 2400 | М16 | 450 | 260 | 160 | 43 | 60 | 30 | 9 | 12 | 3,75 |
| М16х560 | 2400 | М16 | 560 | 260 | 160 | 43 | 60 | 30 | 9 | 12 | 4,08 |
| М16х670 | 2400 | М16 | 670 | 260 | 160 | 43 | 60 | 30 | 9 | 12 | 4,41 |
| М16х750 | 2400 | М16 | 750 | 260 | 160 | 43 | 60 | 30 | 9 | 12 | 4,69 |
| М16х800 | 2400 | М16 | 800 | 260 | 160 | 43 | 60 | 30 | 9 | 12 | 4,86 |
| М16х1000 | 2400 | М16 | 1000 | 260 | 160 | 43 | 60 | 30 | 9 | 12 | 5,49 |
| М20х400 | 3400 | М20 | 400 | 322 | 250 | 51 | 85 | 36 | 11 | 14 | 6,11 |
| М20х600 | 3400 | М20 | 600 | 322 | 250 | 51 | 85 | 36 | 11 | 14 | 7,10 |
| М20х850 | 3400 | М20 | 850 | 322 | 250 | 51 | 85 | 36 | 11 | 14 | 8,34 |
| М20х1000 | 3400 | М20 | 1000 | 322 | 250 | 51 | 85 | 36 | 11 | 14 | 9,07 |
| М24х600 | 5500 | М24 | 600 | 334 | 250 | 62 | 90 | 42 | 13 | 17 | 10,30 |
| М24х800 | 5500 | М24 | 800 | 334 | 250 | 62 | 90 | 42 | 13 | 17 | 11,67 |
| М24х1000 | 5500 | М24 | 1000 | 334 | 250 | 62 | 90 | 42 | 13 | 17 | 13,13 |
| М27х450 | 8000 | М27 | 450 | 400 | 310 | 40 | 100 | 52 | 17 | 21 | 12,54 |
| М27х710 | 8000 | М27 | 710 | 400 | 310 | 40 | 100 | 52 | 17 | 21 | 14,88 |
| М27х850 | 8000 | М27 | 850 | 400 | 310 | 40 | 100 | 52 | 17 | 21 | 16,14 |
| М27х1000 | 8000 | М27 | 1000 | 400 | 310 | 40 | 100 | 52 | 17 | 21 | 17,50 |
Проушина с тягой МН 3962-62
Конструкция и размеры

Таблица №22
| Шифр изделия (dxL) | Допустимая нагрузка Р, кгс | d | L | l | h | h₁ (доп. Откл. + 1) | b | Вес, кг |
|---|---|---|---|---|---|---|---|---|
| М10х400 | 300 | М10 | 400 | 21 | 26 | 6 | 10 | 0,43 |
| М10х500 | 300 | М10 | 500 | 21 | 26 | 6 | 10 | 0,49 |
| М10х600 | 300 | М10 | 600 | 21 | 26 | 6 | 10 | 0,55 |
| М10х800 | 300 | М10 | 800 | 21 | 26 | 6 | 10 | 0,67 |
| М10х1000 | 300 | М10 | 1000 | 21 | 26 | 6 | 10 | 0,80 |
| М12х400 | 450 | М12 | 400 | 25 | 34 | 7 | 10 | 0,60 |
| М12х500 | 450 | М12 | 500 | 25 | 34 | 7 | 10 | 0,69 |
| М12х600 | 450 | М12 | 600 | 25 | 34 | 7 | 10 | 0,78 |
| М12х800 | 450 | М12 | 800 | 25 | 34 | 7 | 10 | 0,96 |
| М12х1000 | 450 | М12 | 1000 | 25 | 34 | 7 | 10 | 1,14 |
| М16х450 | 1500 | М16 | 450 | 31 | 43 | 9 | 12 | 1,38 |
| М16х560 | 1500 | М16 | 560 | 31 | 43 | 9 | 12 | 1,55 |
| М16х670 | 1500 | М16 | 670 | 31 | 43 | 9 | 12 | 1,73 |
| М16х750 | 1500 | М16 | 750 | 31 | 43 | 9 | 12 | 1,85 |
| М16х800 | 1500 | М16 | 800 | 31 | 43 | 9 | 12 | 1,93 |
| М16х1000 | 1500 | М16 | 1000 | 31 | 43 | 9 | 12 | 2,25 |
| М20х400 | 2400 | М20 | 400 | 37 | 51 | 11 | 14 | 2,76 |
| М20х670 | 2400 | М20 | 670 | 37 | 51 | 11 | 14 | 3,40 |
| М20х800 | 2400 | М20 | 800 | 37 | 51 | 11 | 14 | 3,74 |
| М20х1000 | 2400 | М20 | 1000 | 37 | 51 | 11 | 14 | 4,24 |
| М24х600 | 3400 | М24 | 600 | 45 | 62 | 13 | 17 | 4,34 |
| М24х800 | 3400 | М24 | 800 | 45 | 62 | 13 | 17 | 5,05 |
| М24х1000 | 3400 | М24 | 1000 | 45 | 62 | 13 | 17 | 5,76 |
| М27х450 | 4500 | М27 | 450 | 49 | 71 | 15 | 19 | 4,76 |
| М27х710 | 4500 | М27 | 710 | 49 | 71 | 15 | 19 | 5,93 |
| М27х850 | 4500 | М27 | 850 | 49 | 71 | 15 | 19 | 6,56 |
| М27х1000 | 4500 | М27 | 1000 | 49 | 71 | 15 | 19 | 7,24 |
| М30х450 | 5500 | М30 | 450 | 56 | 77 | 17 | 21 | 5,70 |
| М30х670 | 5500 | М30 | 670 | 56 | 77 | 17 | 21 | 6,93 |
| М30х800 | 5500 | М30 | 800 | 56 | 77 | 17 | 21 | 7,65 |
| М30х1000 | 5500 | М30 | 1000 | 56 | 77 | 17 | 21 | 8,76 |
| М36х600 | 8000 | М36 | 600 | 64 | 90 | 20 | 25 | 10,01 |
| М36х800 | 8000 | М36 | 800 | 64 | 90 | 20 | 25 | 11,61 |
| М36х1000 | 8000 | М36 | 1000 | 64 | 90 | 20 | 25 | 13,21 |
Проушина подвесок стальных трубопроводов МН 3963-62
Конструкция и размеры

Таблица №23
| Шифр | Для тяг диаметром | В | Н | h | d | r | s | c | Вес, кг |
|---|---|---|---|---|---|---|---|---|---|
| 14 | 10,12 | 50 | 45 | 20 | 14 | 18 | 8 | 2 | 0,10 |
| 18 | 16 | 70 | 65 | 30 | 18 | 25 | 12 | 3 | 0,35 |
| 30 | 20,24 | 90 | 90 | 35 | 30 | 36 | 20 | 5 | 1,17 |
| 34 | 27,3 | 105 | 105 | 40 | 34 | 45 | 20 | 5 | 1,28 |
| 41 | 36 | 125 | 125 | 50 | 41 | 55 | 20 | 5 | 1,82 |
Стаканы для установки пружин подвесок МН 3964-62
Конструкция и размеры

Таблица №24
| Шифр изделия (D₁-d) | D | D₁ | d | h | s | Вес, кг |
|---|---|---|---|---|---|---|
| 51-14 | 90 | 51 | 14 | 30 | 10 | 0,55 |
| 57-12 | 90 | 57 | 12 | 30 | 10 | 0,57 |
| 60-12 | 90 | 60 | 12 | 30 | 10 | 0,59 |
| 80-18 | 130 | 80 | 18 | 62 | 12 | 1,71 |
| 83-18 | 130 | 83 | 18 | 62 | 12 | 1,62 |
| 102-23 | 165 | 102 | 23 | 66 | 16 | 3,12 |
| 108-23 | 165 | 108 | 23 | 66 | 16 | 3,15 |
| 112-18 | 165 | 112 | 18 | 66 | 16 | 3,33 |
| 114-30 | 185 | 114 | 30 | 90 | 20 | 5,06 |
| 112-30 | 185 | 112 | 30 | 90 | 20 | 5,04 |
| 142-34 | 225 | 142 | 34 | 90 | 20 | 7,32 |
Серьги подвесок стальных трубопроводов МН 3965-62
Конструкция и размеры

Таблица №25
| Шифр L | Для тяг диаметром | L | A | В | r | s | d | c | Вес, кг |
|---|---|---|---|---|---|---|---|---|---|
| 120 | 10, 12 | 120 | 80 | 40 | 20 | 8 | 14 | 2 | 0,26 |
| 140 | 12, 16 | 140 | 100 | 40 | 20 | 12 | 18 | 3 | 0,42 |
| 170 | 16, 20 | 170 | 120 | 50 | 50 | 16 | 23 | 4 | 0,9 |
| 200 | 20, 24 | 200 | 130 | 70 | 70 | 20 | 27 | 4 | 1,85 |
| 210 | 20, 24, 27 | 210 | 140 | 70 | 70 | 20 | 30 | 4 | 1,92 |
| 230 | 24, 27 | 230 | 160 | 70 | 70 | 20 | 34 | 4 | 2,08 |
| 240 | 30 | 240 | 160 | 80 | 80 | 20 | 34 | 4 | 2,52 |
| 250 | 27, 30, 36 | 250 | 160 | 90 | 90 | 25 | 41 | 4 | 3,58 |
Муфты подвесок стальных трубопроводов МН 3966-62
Конструкция и размеры

Таблица №26
| Шифр изделия | Допускаемая нагрузка Р, кгс | d | L | В | H | m | К | Вес, кг |
|---|---|---|---|---|---|---|---|---|
| I-M10 | 300 | М10 | 150 | 20 | 30 | 5 | 4 | 0,23 |
| I-M12 | 450 | М12 | 180 | 25 | 35 | 5 | 4 | 0,40 |
| I-M16 | 1500 | М16 | 200 | 30 | 40 | 5 | 4 | 0,61 |
| I-M20 | 2400 | М20 | 212 | 35 | 47 | 6 | 5 | 1,00 |
| I-M24 | 3400 | М24 | 232 | 40 | 52 | 6 | 5 | 1,34 |
| I-M27 | 4500 | М27 | 260 | 45 | 65 | 8 | 6 | 2,18 |
| I-M30 | 5500 | М30 | 300 | 50 | 74 | 10 | 8 | 3,50 |
| I-M36 | 8000 | М36 | 350 | 65 | 97 | 12,5 | 10 | 6,35 |
Завод «Северозапад» осуществляет доставку продукции по всей России. Мы предоставляем:
- Широкий ассортимент продукции;
- Производство только из сырья высокого качества;
- Доставка в заранее установленные сроки;
- Сохранность целостности изделий при перевозке;
- Профессионально налаженная логистика;
- Доставка как на склад, так и на объект покупателя;
- Доставляем изделия любых габаритов и формы.
Для постоянных клиентов у нас разработана система скидок, которая позволяет вам еще более выгодно сотрудничать с нами. Воспользуйтесь онлайн калькулятором в разделе меню “Доставка”, чтобы узнать стоимость доставки до места назначения.
Вам также может понравиться