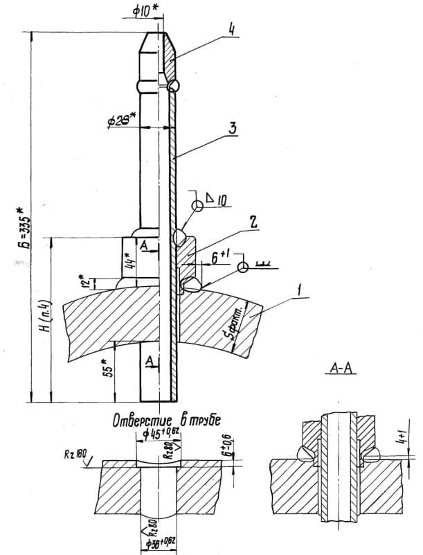
Настоящий стандарт распространяется на штуцер с паровой рубашкой, устанавливаемый на паропроводах свежего пара и промежуточного перегрева с внутренним диаметром 100 мм и более для отбора пара давлением от 2,16 МПа (22 кгс/см2) до 25,01 МПа (255 кгс/см2), температурой не более 545°С и давлением 13,73 МПа (140 кгс/см2), температурой не более 560°С в импульсные линии, подведенные к контрольно-измерительным приборам и приборам регулирования.
Чертеж штуцера ОСТ 108.104.43-79

Завод «Северозапад» осуществляет доставку продукции по всей России. Мы предоставляем:
- Широкий ассортимент продукции;
- Производство только из сырья высокого качества;
- Доставка в заранее установленные сроки;
- Сохранность целостности изделий при перевозке;
- Профессионально налаженная логистика;
- Доставка как на склад, так и на объект покупателя;
- Доставляем изделия любых габаритов и формы.
Для постоянных клиентов у нас разработана система скидок, которая позволяет вам еще более выгодно сотрудничать с нами. Воспользуйтесь онлайн калькулятором в разделе меню “Доставка”, чтобы узнать стоимость доставки до места назначения.