Настоящий стандарт распространяется на штуцеры для трубопроводов АЭС на рабочее давление и температуру среды (водяной пар и горячая вода):
р = 11.7 МПа (120кгс/см2),t =250°С.
р = 8.44 МПа (86кгс/см2),t =300°С.
р = 5.89 МПа (60кгс/см2),t =275°С.
р = 3.92 МПа (40кгс/см2),t =200°С.
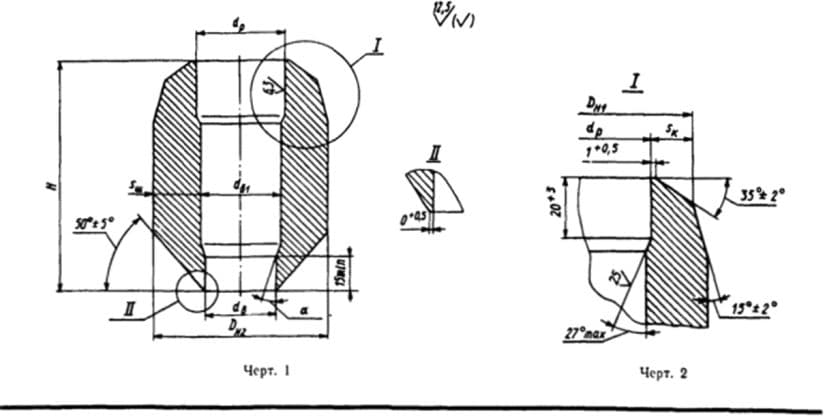
Чертеж штуцера ОСТ ОСТ 24.125.42-89

Таблица 1 — Штуцеры ОСТ 24.125.42-89, исполнение 1, р = 11.7 МПа (120 кгс/см2), t =250 °С; р = 8.44 МПа (86 кгс/см2), t =300 °С; р = 5.89 МПа (60 кгс/см2), t =275 °С; р = 3.92 МПа (40 кгс/см2), t =200 °С (Размеры в мм)
| Исп. | Усл. проход Dy | Вариант исп. по черт. | Подг. кромок по черт. | Раз. присоед. труб Dн' x s' | Dн ± 1 | Dн2 ± 2 | dн | dн1 | dp | R* | H | sш | sк | Материал (марка, тех. условя) | Масса, кг | |||
| номин. | пред. откл. | номин. | пред. откл. | номин. | пред. откл. | не менее | ||||||||||||
| 01 | 50 | 1 | 2 | 57х4 | 57 | 62 | 38 | +0,62 | 43 | +0,62 | 49 | +0,62 | — | 100 | 8,5 | 3,0 | Сталь 20 ГОСТ 1050 | 1,3 |
Таблица 2 — Штуцеры ОСТ 24.125.42-89, исполнение 2-3, р = 11.7 МПа (120 кгс/см2), t =250 °С (Размеры в мм)
| Исп. | Усл. проход Dy | Вариант исп. по черт. | Подг. кромок по черт. | Раз. присоед. труб Dн' x s' | Dн ± 1 | Dн2 ± 2 | dн | dн1 | dp | R* | H | sш | sк | Материал (марка, тех. условя) | Масса, кг | |||
| номин. | пред. откл. | номин. | пред. откл. | номин. | пред. откл. | не менее | ||||||||||||
| 02 | 100 | 1 | 4 | 108х8 | 108 | 120 | 84 | +0,87 | 88 | +0,87 | 95 | +0,54 | — | 110 | 14,0 | 5,0 | Сталь 20 ТУ 14-1-3987 Гр. IIА ОСТ 108.030.113 | 3,95 |
| 03 | 100 | 5 | 4 | 108х8 | 108 | 120 | 84 | +0,87 | 88 | +0,87 | 95 | +0,54 | 100 | 120 | 14,0 | 5,0 | Сталь 20 ТУ 14-1-3987 Гр. IIА ОСТ 108.030.113 | 3,05 |
Таблица 3 — Штуцеры ОСТ 24.125.42-89, исполнение 4-5, р = 8.44 МПа (86 кгс/см2), t =300 °С (Размеры в мм)
| Исп. | Усл. проход Dy | Вариант исп. по черт. | Подг. кромок по черт. | Раз. присоед. труб Dн' x s' | Dн ± 1 | Dн2 ± 2 | dн | dн1 | dp | R* | H | sш | sк | Материал (марка, тех. условя) | Масса, кг | |||
| номин. | пред. откл. | номин. | пред. откл. | номин. | пред. откл. | не менее | ||||||||||||
| 04 | 100 | 1 | 2 | 108х6 | 108 | 120 | 84 | +0,87 | 88 | +0,87 | 97 | +0,54 | — | 110 | 14 | 4,0 | Сталь 20 ТУ 14-1-3987 Гр. IIА ОСТ 108.030.113 | 3,95 |
| 05 | 100 | 5 | 2 | 108х6 | 108 | 120 | 84 | +0,87 | 88 | +0,87 | 97 | +0,54 | 100 | 120 | 14 | 4,0 | Сталь 20 ТУ 14-1-3987 Гр. IIА ОСТ 108.030.113 | 3,05 |
Таблица 4 — Штуцеры ОСТ 24.125.42-89, исполнение 6, р = 11.7 МПа (120 кгс/см2), t =250 °С; р = 8.44 МПа (86 кгс/см2), t =300 °С; р = 5.89 МПа (60 кгс/см2), t =275 °С (Размеры в мм)
| Исп. | Усл. проход Dy | Вариант исп. по черт. | Подг. кромок по черт. | Раз. присоед. труб Dн' x s' | Dн ± 1 | Dн2 ± 2 | dн | dн1 | dp | R* | H | sш | sк | Материал (марка, тех. условя) | Масса, кг | |||
| номин. | пред. откл. | номин. | пред. откл. | номин. | пред. откл. | не менее | ||||||||||||
| 06 | 80 | 1 | 2 | 89х6 | 89 | 104 | 71 | +0,74 | 75 | +0,74 | 77 | +0,46 | — | 100 | 12,0 | 4,5 | Сталь 20 ТУ 14-1-3987 Гр. IIА ОСТ 108.030.113 | 2,0 |
Таблица 5 — Штуцеры ОСТ 24.125.42-89, исполнение 7, р = 11.7 МПа (120 кгс/см2), t =250 °С; р = 8.44 МПа (86 кгс/см2), t =300 °С (Размеры в мм)
| Исп. | Усл. проход Dy | Вариант исп. по черт. | Подг. кромок по черт. | Раз. присоед. труб Dн' x s' | Dн ± 1 | Dн2 ± 2 | dн | dн1 | dp | R* | H | sш | sк | Материал (марка, тех. условя) | Масса, кг | |||
| номин. | пред. откл. | номин. | пред. откл. | номин. | пред. откл. | не менее | ||||||||||||
| 07 | 150 | 5 | 4 | 159х9 | 159 | 182 | 124 | +1,0 | 130 | +1,0 | 142 | +0,63 | 210 | 130 | 24 | 7,2 | Сталь 20 ТУ 14-1-3987 Гр. IIА ОСТ 108.030.113 | 9,40 |
Таблица 6 — Штуцеры ОСТ 24.125.42-89, исполнение 8-11, р = 5.89 МПа (60 кгс/см2), t =275 °С; р = 3.92 МПа (40 кгс/см2), t =200 °С (Размеры в мм)
| Исп. | Усл. проход Dy | Вариант исп. по черт. | Подг. кромок по черт. | Раз. присоед. труб Dн' x s' | Dн ± 1 | Dн2 ± 2 | dн | dн1 | dp | R* | H | sш | sк | Материал (марка, тех. условя) | Масса, кг | |||
| номин. | пред. откл. | номин. | пред. откл. | номин. | пред. откл. | не менее | ||||||||||||
| 08 | 65 | 1 | 2 | 76х4,0 | 76 | 82 | 62 | +0,74 | 65 | +0,74 | 68 | +0,46 | — | 100 | 7,0 | 3,0 | Сталь 20 ТУ 14-1-3987 Гр. IIА ОСТ 108.030.113 | 1,00 |
| 09 | 100 | 1 | 2 | 108х6,0 | 108 | 112 | 84 | +0,87 | 88 | +0,87 | 97 | +0,54 | — | 110 | 10,0 | 4,0 | Сталь 20 ТУ 14-1-3987 Гр. IIА ОСТ 108.030.113 | 2,95 |
| 10 | 125 | 5 | 3 | 133х6,5 | — | 133 | 104 | +0,87 | 106 | +0,87 | 122 | +0,63 | 170 | 120 | 12,0 | 4,5 | Сталь 15ГС ТУ 14-3-460 | 4,08 |
| 11 | 150 | 5 | 4 | 159х7,0 | 159 | 168 | 130 | +1,0 | 135 | +1,0 | 148 | +0,63 | 190 | 120 | 14,0 | 4,0 | Сталь 15ГС ТУ 14-3-460 | 7,20 |
Таблица 7 — Штуцеры ОСТ 24.125.42-89, исполнение 12, р = 3.92 МПа (40 кгс/см2), t =200 °С (Размеры в мм)
| Исп. | Усл. проход Dy | Вариант исп. по черт. | Подг. кромок по черт. | Раз. присоед. труб Dн' x s' | Dн ± 1 | Dн2 ± 2 | dн | dн1 | dp | R* | H | sш | sк | Материал (марка, тех. условя) | Масса, кг | |||
| номин. | пред. откл. | номин. | пред. откл. | номин. | пред. откл. | не менее | ||||||||||||
| 12 | 80 | 1 | 2 | 89х4 | 89 | 97 | 75 | +0,74 | 79 | +0,74 | 81 | +0,54 | — | 100 | 7,0 | 3,0 | Сталь 20 ТУ 14-1-3987 Гр. IIА | 2,00 |
Завод «Северозапад» осуществляет доставку продукции по всей России. Мы предоставляем:
- Широкий ассортимент продукции;
- Производство только из сырья высокого качества;
- Доставка в заранее установленные сроки;
- Сохранность целостности изделий при перевозке;
- Профессионально налаженная логистика;
- Доставка как на склад, так и на объект покупателя;
- Доставляем изделия любых габаритов и формы.
Для постоянных клиентов у нас разработана система скидок, которая позволяет вам еще более выгодно сотрудничать с нами. Воспользуйтесь онлайн калькулятором в разделе меню “Доставка”, чтобы узнать стоимость доставки до места назначения.