Характеристики
Габариты, мм
—
232 × 200 × 1200
Масса, кг
—
19,3
Номер чертежа типового проект
—
Л57-97.09.01
Заказать
Наши менеджеры обязательно свяжутся с вами и уточнят условия заказа
Чертеж
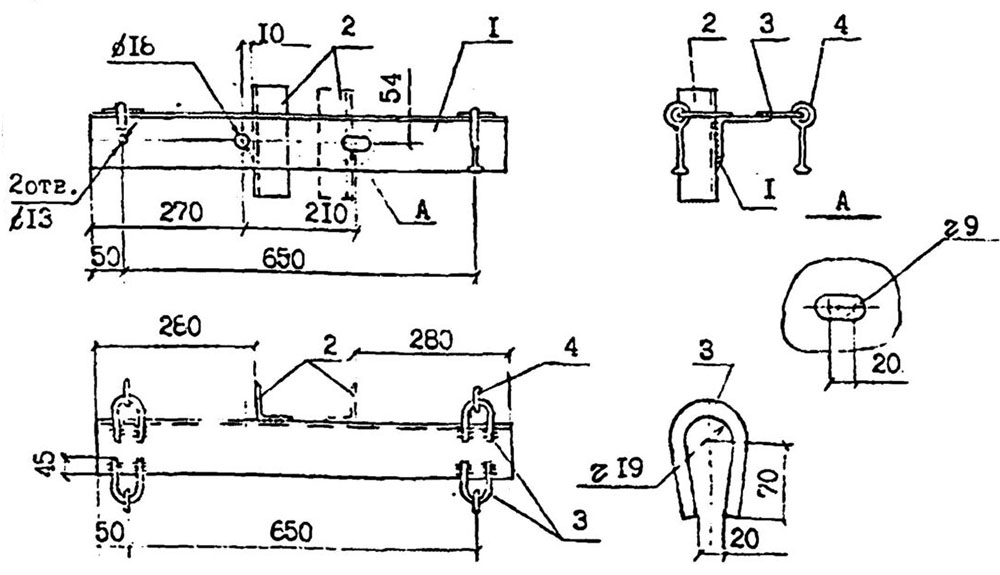
| ПОЗИЦИЯ | НАИМЕНОВАНИЕ ДЕТАЛИ | КОЛИЧЕСТВО | Номер чертежа типового проекта | Габаритные размеры готовой конструкции, мм | МАССА, КГ | Цена, руб |
| 1 | Уголок 63х63х5 L=650 | 1 |
Л57-97.09.01
|
232 × 200 × 1200
|
19,3
|
918
|
| 2 | Уголок 63х63х5 L=200 | 1 |
Завод «Северозапад» осуществляет доставку продукции по всей России. Мы предоставляем:
- Широкий ассортимент продукции;
- Производство только из сырья высокого качества;
- Доставка в заранее установленные сроки;
- Сохранность целостности изделий при перевозке;
- Профессионально налаженная логистика;
- Доставка как на склад, так и на объект покупателя;
- Доставляем изделия любых габаритов и формы.
Для постоянных клиентов у нас разработана система скидок, которая позволяет вам еще более выгодно сотрудничать с нами. Воспользуйтесь онлайн калькулятором в разделе меню “Доставка”, чтобы узнать стоимость доставки до места назначения.
Вам также может понравиться
